4-Digit Multi Panel Meters
MT4W Series
INSTRUCTION MANUAL
TCD220015AA
Thank you for choosing our Autonics product.
Read and understand the instruction manual and manual thoroughly before using the product.
For your safety, read and follow the below safety considerations before using.
For your safety, read and follow the considerations written in the instruction manual, other manuals and Autonics website.
Keep this instruction manual in a place where you can find easily.
The specifications, dimensions, etc. are subject to change without notice for product improvement. Some models may be discontinued without notice.
Follow Autonics website for the latest information.
Safety Considerations
- Observe all ‘Safety Considerations’ for safe and proper operation to avoid hazards.
symbol indicates caution due to special circumstances in which hazards may occur.
Warning Failure to follow instructions may result in serious injury or death.
- Fail-safe device must be installed when using the unit with machinery that may cause serious injury or substantial economic loss. (e.g. nuclear power control, medical equipment, ships, vehicles, railways, aircraft, combustion apparatus, safety equipment, crime / disaster prevention devices, etc.) Failure to follow this instruction may result in personal injury, economic loss or fire.
- Do not use the unit in the place where flammable / explosive / corrosive gas, high humidity, direct sunlight, radiant heat, vibration, impact or salinity may be present.
Failure to follow this instruction may result in explosion or fire. - Install on a device panel to use.
Failure to follow this instruction may result in fire or electric shock. - Do not connect, repair, or inspect the unit while connected to a power source.
Failure to follow this instruction may result in fire or electric shock. - Check ‘Connections’ before wiring.
Failure to follow this instruction may result in fire. - Do not disassemble or modify the unit.
Failure to follow this instruction may result in fire or electric shock.
Caution Failure to follow instructions may result in injury or product damage.
- When connecting the power / measurement input and relay output, use AWG 24 (0.20 mm2) to AWG 15 (1.65 mm2)cable or over and tighten the terminal screw with a tightening torque of 0.98 to 1.18 N m.
Use the wiring suitable for the load current capacity.
Failure to follow this instruction may result in fire or malfunction due to contact failure. - Use the unit within the rated specifications.
Failure to follow this instruction may result in fire or product damage. - Use a dry cloth to clean the unit, and do not use water or organic solvent.
Failure to follow this instruction may result in fire or electric shock. - Keep the product away from metal chip, dust, and wire residue which flow into the unit.
Failure to follow this instruction may result in fire or product damage.
Cautions during Use
- Follow instructions in ‘Cautions during Use’.
Otherwise, It may cause unexpected accidents. - Power supply should be insulated and limited voltage / current or Class 2, SELV power supply device.
- Install a power switch or circuit breaker in the easily accessible place for supplying or disconnecting the power.
- Use twisted pair wire for communication line.
- Keep away from high voltage lines or power lines to prevent inductive noise.
In case installing power line and input signal line closely, use line filter or varistor at power line and shielded wire at input signal line.
Do not use near the equipment which generates strong magnetic force or high frequency noise.
Connection with the line filter

Connection with the varistor

- This unit may be used in the following environments.
– Indoors (in the environment condition rated in ‘Specifications’)
– Altitude max. 2,000 m
– Pollution degree 2
– Installation category II
Ordering Information
This is only for reference, the actual product does not support all combinations.
For selecting the specified model, follow the Autonics website.

- Input type
DV: DC voltage 01)
DA: DC current
AV: AC voltage 02)
AA: AC current 02) - Power supply
1: 12 – 24 VDC
± 10 %
4: 100 – 240 VAC∼ ± 10 % 50 / 60 Hz - Preset output + Sub output
| Preset output | Sub output | |
| N | None (indicator) | |
| 0 | Relay | Transmission (DC 4 – 20 mA) |
| 1 | Relay | – |
| 2 | NPN open collector | BCD Dynamic |
| 3 | PNP open collector | BCD Dynamic |
| 4 | NPN open collector | Transmission (DC 4 – 20 mA) |
| 5 | PNP open collector | Transmission (DC 4 – 20 mA) |
| 6 | NPN open collector | Low speed serial |
| 7 | PNP open collector | Low speed serial |
| 8 | NPN open collector | RS485 Communication |
| 9 | PNP open collector | RS485 Communication |
- To measure the current over DC 5 A, please select DV type because the shunt should be used.
- In case of selecting frequency display, no output will be provided even if it is output support model.
Product Components
- Product
- Bracket × 2
- Instruction manual
- Unit sticker × 1
Manual
For proper use of the product, refer to the manuals and be sure to follow the safety considerations in the manuals.
Download the manuals from the Autonics website.
Software
Download the installation file and the manuals from the Autonics website.
• DAQMaster
It is the comprehensive device management program for Autonics’ products, providing parameter setting, monitoring and data management.
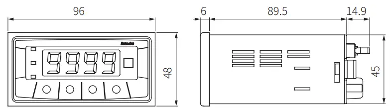
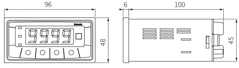
Dimensions
- Unit: mm, For the detailed drawings, follow the Autonics website.
- Indicator / Relay preset output model

• NPN / PNP open collector preset output model


Cautions during Wiring
Use the Copper-conductor wire with the temperature class 60 ℃.
- Unit: mm, Use terminals of size specified below.
- Contact the manufacture for the socket and cable.

| Hirose connector | HIF3BA-20PA-2.54DS |
| Hirose connector socket | HIF3BA-20D-2.54R |

Connections

Specifications
| Model | MT4W-DV-□□ | MT4W-DA-□□ | MT4W-AV-□□ | MT4W-AA-□□ |
| Input type | DC voltage | DC current | AC voltage 01) | AC current 01) |
| Max. allowable input | 110 % F.S. for each measured input range | |||
| Display method | 7-segment (red) LED (character height: 14.2 mm) | |||
| Display accuracy | Dependent on the ambient temperature | |||
| 23 ± 5 ℃ | ± 0.1 % F.S. rdg ± 2 digit | ± 0.1 % F.S. rdg ± 2 digit 02) | ± 0.3 % F.S. rdg ± 3 digit | ± 0.3 % F.S. rdg ± 3 digit |
| -10 to 50 ℃ | ± 0.5 % F.S. rdg ± 3 digit | |||
| Max. display range | -1999 to 9999 (4 digit) | |||
| A / D conversion method | ΣΔ (Sigma Delta) ADC | |||
| Sampling cycle | 50 ms | 16.6 ms | ||
| Unit weight (packaged) | ≈ 211 g (≈ 326 g) | |||
| Approval | ||||
- Available frequency display, Display accuracy (23 ± 5 ℃): ± 0.1 % F.S. rdg ± 2 digit
- 5 A terminal: ± 0.3 % F.S. rdg ± 3 digit
- Except power supply 12 – 24 VDC
model
| Preset output | None (indicator) / Relay / NPN open collector / PNP open collector output model |
| Relay | Contact capacity: 250 VAC∼ 3 A, 30 VDC |
| NPN / PNP open collector | Output capacity: ≤ 12 – 24 VDCᜡ ± 2 VDC |
| Sub output | None (indicator) / BCD Dynamic / Transmission (DC 4 – 20 mA) / Low speed serial / RS485 Communication output model |
| BCD Dynamic / Low speed serial | NPN open collector output Output capacity: ≤ 12 – 24 VDC |
| Transmission (DC 4 – 20 mA) | Resolution: 1/12,000 (load resistance: ≤ 600 Ω) Response time: ≤ 450 ms |
| RS485 communication | Protocol: Modbus RTU |
| Model | MT4W-□□-1□ | MT4W-□□-4□ |
| Power supply | 12 – 24 VDCᜡ ± 10 % | 100 – 240 VAC∼ ± 10 % 50 / 60 Hz |
| Power consumption | 5 W | 5 VA |
| Insulation resistance | Between external terminal and case: ≥ 100 MΩ (500 VDC | |
| Dielectric strength | Between external terminal and case: 2,000 VAC∼50 / 60 Hz for 1 min | |
| Noise immunity | ± 2 kV square wave noise (pulse width: 1 ㎲) by the noise simulator | |
| Vibration | 0.75 mm double amplitude at frequency of 10 to 55 Hz (for 1 min) in each X, Y, Z direction for 2 hours | |
| Vibration (malfunction) | 0.5 mm double amplitude at frequency of 10 to 55 Hz (for 1 min) in each X, Y, Z direction for 10 min | |
| Shock | 300 m/s2 (≈ 30 G) in each X, Y, Z direction for 3 times | |
| Shock (malfunction) | 100 m/s2 (≈ 10 G) in each X, Y, Z direction for 3 times | |
| Relay life cycle | Mechanical: ≥ 20,000,000 operations Electrical: ≥ 100,000 operations (250 VAC∼ 3A resistive load) | |
| Ambient temp. | -10 to 50 ℃, storage: -20 to 60 ℃ (freezing or condensation) | |
| Ambient humi. | 35 to 85 %RH, storage: 35 to 85 %RH (freezing or condensation) | |
| Insulation type | Symbol: | |
Communication Interface
■ RS485
| Comm. protocol | Modbus RTU |
| Application standard | Compliance with EIA RS485 |
| Max. connection | 31 units (address: 01 to 99) |
| Comm. synchronous method | Asynchronous |
| Comm. method | 2-wire half duplex |
| Comm. distance | ≤ 800 m |
| Comm. speed | 1,200 / 1,400 / 4,800 / 9,600 / 19,200 / 38,400 bps |
| Start bit | 1-bit (fixed) |
| Data bit | 8-bit (fixed) |
| Parity bit | None, Even, Odd |
| Stop bit | 1-bit, 2-bit |
| EEPROM life cycle | ≈ 1,000,000 operations (Erase / Write) |
Mode Setting

Parameter Setting
- Some parameters are activated / deactivated depending on the model or setting of other parameters. Refer to the description of each parameter.
- If any key is not entered for 60 sec in each parameter, it returns to RUN mode.
- After returning to RUN mode, press the [MODE] key within 2 sec, it returns to previous parameter.
- [MODE] key: Saves current setting value and moves to the next parameter.
[◀] key: Checks fixed value / Changes setting digits.
[▲], [▼] key: Changes setting values.
■ Parameter 1 group
| Parameter | Mark | Defaults | Setting range | Display condition |
| 1-1 Input range | [DC voltage model], [AC voltage model] • Refer to Input Range and Display Range | – | ||
| [DC current model], [AC current model] • Refer to Input Range and Display Range | – | |||
| 1-2 Display method | STND: standard, SCAL: scale, FREQ: frequency 01) | – | ||
| 1-3 Measurement method |
|
| [AC voltage model], [AC current model] T.RMS: True RMS, A.RMS: Average RMS, AVG |
1-2 Display method: STND, SCAL |
| Max. display 1-4 value (fixed) |
| [DC voltage model], [AC voltage model] Max. value of display range |
1-2 Display method: STND | |
| [DC current model], [AC current model] Max. value of display range | ||||
| High-limit 1-5 display value gradient correction | 0.100 to 5.000 % | |||
| Low-limit 1-6 display value deviation correction |
|
| -99 to 99 | |
| Decimal 1-7 point position | [DC voltage model], [AC voltage model] 0, 0.0, 0.00, 0.000 |
1-2 Display method: SCAL & * 1-7 Decimal point position: 0.0, 0.00, 0.000 | ||
| [DC current model], [AC current model] 0, 0.0, 0.00, 0.000 | ||||
| 1-8 High-limit scale | – | Display value against max. measurement input* | ||
| 1-9 Low-limit scale | – | Display value against min. measurement input* | ||
| High-limit 1-10 display value gradient correction |
|
| 0.100 to 5.000 % | |
| Low-limit 1-11 display value deviation correction 02) | -99 to 99 | |||
| Decimal 1-12 point position 03) | [AC voltage model] 0, 0.0, 0.00, 0.000 |
1-2 Display method: FREQ | ||
| [AC current model] 0, 0.0, 0.00, 0.000 | ||||
| High-limit 1-13 display value gradient correction | 0.100 to 9.999 | |||
| 1-14 Exponent of INB | 10-0: 100, 10-1: 10-1, 10-2: 10-2, 10 1: 101 |
- Displays at AC voltage or AC current model only.
- Low-limit display value deviation correction range is within -99 to 99 for D0, D-1
- Display range is variable according to decimal point position.
| Dot | Display range | Frequency measurement range |
| -1999 to 9999 | 1 to 9999 Hz | |
| -199.9 to 999.9 | 0.1 to 999.9 Hz | |
| -19.99 to 99.99 | 0.10 to 99.99 Hz | |
| -1.999 to 9.999 | 0.100 to 9.999 Hz |
■ Parameter 2 group
| Parameter | Mark | Defaults | Setting range | Display condition | |
| 2-1 | Output operation mode | [Except indicator model] OFF, L.ST, H.ST, LH.ST, HH.ST, LL.ST, LD.ST • Refer to Output Operation Mode | – | ||
| 2-2 | Hysteresis | | [Except indicator model] Within 10 % of max. display range, digit | 2-1 Output operation mode: except OFF | |
| 2-3 | Startup compensation time | [Except indicator model] 0.0 to 99.9 sec | – | ||
| 2-4 | Peak monitoring delay time | 00 to 30 sec | – | ||
| 2-5 | Display cycle | 0.1 to 5.0 sec | – | ||
| 2-6 | Keys for zero adjustment | NO, YES • YES: Press the [◀] + [▲] keys for 3 sec to adjust zero. | – | ||
| 2-7 | External input terminal | [Except indicator model] HOLD, ZERO • If the external input terminal is short-circuited for 50 ms or more, it operates with the set function. | – | ||
| 2-8 | High-limit value of transmission output |
| [DC voltage & Transmission (DC 4 – 20 mA) output model], [AC voltage & Transmission (DC 4 – 20 mA) output model] Max. value of display range | – | |
| [DC current & Transmission (DC 4 – 20 mA) output model], [AC current & Transmission (DC 4 – 20 mA) output model] Max. value of display range | |||||
| 2-9 | Low-limit value of transmission output | [DC voltage & Transmission (DC 4 – 20 mA) output model], [AC voltage & Transmission (DC 4 – 20 mA) output model] Min. value of display range |
– | ||
| [DC current & Transmission (DC 4 – 20 mA) output model], [AC current & Transmission (DC 4 – 20 mA) output model] Min. value of display range | |||||
| 2-10 | Comm.Address | [RS485 Comm. output model] 01 to 99 | – | ||
| 2-11 | Comm. speed | [RS485 Comm. output model] 38.4k, 19.2k, 9600, 4800, 2400, 1200 bps | – | ||
| 2-12 | Parity bit | [RS485 Comm. output model] NONE, EVEN, ODD | – | ||
| 2-13 | Stop bit | [RS485 Comm. output model] 2, 1 bit | – | ||
| 2-14 | Response waiting time | [RS485 Comm. output model] 5 to 99 sec | – | ||
| 2-15 | Lock | OFF: unlock, LOC1: lock parameter 1, LOC2: lock parameter 1, 2, LOC3: lock parameter 0, 1 and 2 | – | ||
■ Parameter 0 group
| Parameter | Mark | Defaults | Setting range | Displaycondition |
| Output high- 0-1 limit output setting value | [DC voltage & Preset setting model] -5 to 110 % of display range [AC voltage & Preset setting model] 0 to 110 % of display range | 2-1 Output operation mode: except OFF | ||
| [DC current & Preset setting model] -5 to 110 % of display range [AC current & Preset setting model] 0 to 110 % of display range | ||||
| Output low- 0-2 limit output setting value | [DC voltage & Preset setting model] -5 to no % of display range [AC voltage & Preset setting model] 0 to 110 % of display range | 2-1 Output operation mode: except OFF | ||
| [DC current & Preset setting model] -5 to 110 % of display range [AC current & Preset setting model] 0 to 110 % of display range | ||||
| Display max. 0-3 peak value | [DC voltage], [AC voltage] Max. peak value in run mode | 2-1 Output operation mode: except OFF & 2-4 Peak monitoring delay time: except 00 | ||
| [DC current], [AC current] Max. peak value in run mode | ||||
| Display min. 0-4 ca. peak value | [DC voltage], [AC voltage] Min. peak value in run mode | |||
| [DC current], [AC current] Min. peak value in run mode |
01) Reset: Press any one of [◀], [▼], [▲] keys.
Input Range and Display Range
When the max. input value is over the 100 %, it may result in input terminal damage.
■ DC voltage model
| Input range | Display range | Input impedance | ||
| Diaplay method: STND (fixed) | Diaplay method: SCAL 01) | |||
| 0 – 500 VDC | 0.0 to 500.0 | 4.33348 MΩ | ||
| 0 – 100 VDC | 0.0 to 100.0 | 4.33348 MΩ | ||
| 0 – 50 VDC | 0.00 to 50.00 | 433.48 kΩ | ||
| 0 – 10 VDC | 0.00 to 10.00 | 433.48 kΩ | ||
| 0 – 5 VDC | 0.000 to 5.000 | 43.48 kΩ | ||
| 0 – 1 VDC | 0.000 to 1.000 | 43.48 kΩ | ||
| 0 – 250 mVDC | 0.0 to 250.0 | 2.28 kΩ | ||
| 0 – 50 mVDC | 0.00 to 50.00 | 2.28 kΩ | ||
01) Connect to the input terminals whose 30 % to 100 % of the input range includes the max. value of the input range to measure.
When the max. input value is under the 30 % of the input terminal range, display accuracy is degraded.
■ DC current model
| Input range | Display range | Input impedance | ||
| Diaplay method: STND (fixed) | Diaplay method: SCAL 01) | |||
| 0 – 5 A | 0.000 to 5.000 | 0.022 Ω | ||
| 0 – 2 A | 0.000 to 2.000 | 0.022 Ω | ||
| 0 – 500 mA | 0.0 to 500.0 | 0.222 Ω | ||
| 0 – 200 mA | 0.0 to 200.0 | 0.222 Ω | ||
| 0 – 50 mA | 0.00 to 50.00 | 2.222 Ω | ||
| 4 – 20 mA | 4.00 to 20.00 | 2.222 Ω | ||
| 0 – 5 mA | 0.000 to 5.000 | 22.222 Ω | ||
| 0 – 2 mA | 0.000 to 2.000 | 22.222 Ω | ||
01) Connect to the input terminals whose 30 % to 100 % of the input range includes the max. value of the input range to measure.
When the max. input value is under the 30 % of the input terminal range, display accuracy is degraded.
■ AC voltage model
| Input range | Display range | Input impedance | ||
| Diaplay method: STND (fixed) | Diaplay method: SCAL 01) | |||
| 0 – 500 VAC∼ | 0.0 to 500.0 | 5.01092 MΩ | ||
| 0 – 250 VAC∼ | 0.0 to 250.0 | 5.01092 MΩ | ||
| 0 – 110 VAC∼ 02) | 0.0 to 440.0 | 1.11092 MΩ | ||
| 0 – 50 VAC∼ | 0.00 to 50.00 | 1.11092 MΩ | ||
| 0 – 20 VAC∼ | 0.00 to 20.00 | 200.92 kΩ | ||
| 0 – 10 VAC∼ | 0.00 to 10.00 | 200.92 kΩ | ||
| 0 – 2 VAC∼ | 0.000 to 2.000 | 20.92 kΩ | ||
| 0 – 1 VAC∼ | 0.000 to 1.000 | 20.92 kΩ | ||
01) Connect to the input terminals whose 30 % to 100 % of the input range includes the max. value of the input range to measure.
When the max. input value is under the 30 % of the input terminal range, display accuracy is degraded.
02) In case of 0 to 110 VAC∼ of AC voltage range and using P.T (potential transformer) for 440 VAC∼ / 110 VAC∼, if 110 VAC∼ is input, and the unit displays 440 VAC∼ automatically by preset scale value for P.T user’s convenient.
| Input range | Display range | Input impedance | ||
| Diaplay method: STND (fixed) | Diaplay method: SCAL 01) | |||
| 0 – 5 A | 0.000 to 5.000 | 0.02 Ω | ||
| 0 – 2.5 A | 0.000 to 2.500 | 0.02 Ω | ||
| 0 – 1 A | 0.000 to 1.000 | 0.102 Ω | ||
| 0 – 500 mA | 0.0 to 500.0 | 0.202 Ω | ||
| 0 – 250 mA | 0.0 to 250.0 | 0.202 Ω | ||
| 0 – 100 mA | 0.0 to 100.0 | 1.022 Ω | ||
| 0 – 50 mA | 0.00 to 50.00 | 1.022 Ω | ||
01) Connect to the input terminals whose 30 % to 100 % of the input range includes the max. value of the input range to measure.
When the max. input value is under the 30 % of the input terminal range, display accuracy is degraded.
Output Operation Mode
- H.SET or L.SET is displayed according to the output operation mode setting. In case of output operation mode as OFF, H.SET and L.SET are not displayed.
- When changing output operation mode, high-limit / low-limit output setting value, hysteresis are reset.

Reset
- Press the [◀] + [▲] + [▼] keys for over 5 sec. in run mode, INIT flashes for 0.5 sec.
- Press the direction keys to flash NO for 0.5 sec in turn.
- Change the setting value as YES by pressing the direction keys.
- Press the [MODE] key to reset all parameter values as default and to return to run mode.
Error
Error display is released automatically when it is in the measured and display range.
| Display | Description | Troubleshooting |
| Flashes when measurement input is exceeded the max. allowable input (110 %) | Disconnect power supply and check the cables. | |
| Flashes when measurement input is exceeded the min. allowable input (-10 %) | ||
| Turns ON when display input is exceeded high-limit scale setting value or max. display range (9999) | Reset within the display range. | |
| Turns ON when display input is exceeded low-limit scale setting value or min. display range (-1999) | ||
| Turns ON when input frequency is exceeded the max. display value of measured range | – | |
| Flashes twice when it exceeds zero range (±99) and returns to run mode | Reset within the zero range. | |
| 01) Displays at DC input model only. | ||
18, Bansong-ro 513Beon-gil, Haeundae-gu, Busan, Republic of Korea, 48002
www.autonics.com | +82-2-2048-1577 | [email protected]




















