of Goods 20686 Verity Single Light Gold Tone Metal Wall Sconce
Instructions
your global source for unique lighting + home decor
ASSEMBLY INSTRUCTION
CAUTION – Refer to the wattage caution label located near the lamp holder for maximum wattage – do not exceed the maximum wattage.
WARNING – Do not attempt to replace the bulb(s) while the lamp is plugged into a wall receptacle
CARE INSTRUCTIONS – Use only a soft cloth; do not use any chemicals or abrasive cleaners.
IMPORTANT SAFETY INSTRUCTIONS

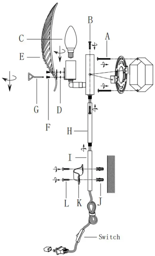
- Attach the wall box to the wall by using two mounting screws(A).
- Secure the hidden line tube to wall box with two mounting screws(B).
- Install bulb (C) not include.
- Install the metal leaf(E) with provided mats(D) and screws (F), then secure tightly with provided allen key(G).
- Attach metal tube(I) to tube(H) to the lamp.
- Nailed (J) to the wall, secure tube (I)on the wall with(K) and two mounting screws (L).
E12 Type B.40W X 1 (Not included)
E12 CFL 7W X 1 (Not included)
riverofgoods.com









