ULINE H-5659 4 Gallon Bench Top Poly Corrosive Cabinet

Parts

REF | QTY | DESCRIPTION |
1 | 1 | Base Panel with Hinge Pins |
2 | 1 | Back Panel with Vents |
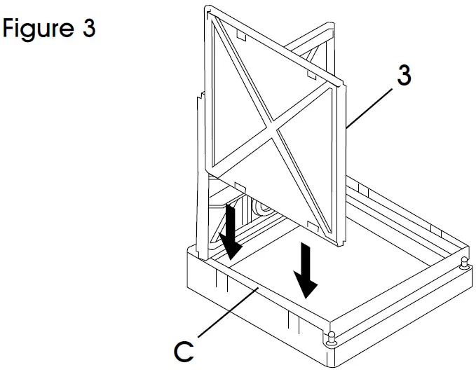
3 | 1 | Side Panel |
4 | 1 | Side Panel with Hasp |
5 | 1 | Front Door Panel |
6 | 2 | Shelf Panel |
7 | 1 | Top Panel with Hinge Pins |
4 | Peel and Stick Non-Skid Pads | |
1 | Door Label (Not Shown) |
ASSEMBLY
NOTE: You will have the choice of assembling a left hinge or right hinge door cabinet.
NOTE: Images show building of a left hinge door cabinet.
- Place base panel (1) on level surface facing side D.

- Slide back panel (2) into slot A and snap into place.

- Left hinge door – Slide side panel (3) into slot C and snap into place.
Right hinge door – Slide side panel with hasp (4) into slot C and snap into place.
- Left hinge door – Slide side panel with hasp (4) into slot B and snap into place.
Right hinge door – Slide side panel (3) into slot B and snap into place.
- Left hinge door – Place front door panel (5) bottom hole onto left base hinge pin with handle on the right side when facing side D.
Right hinge door – Place front door panel (5) bottom hole onto right base hinge pin with handle on the left side when facing D.
- Line up top panel (7) hinge pin with top hole in front door panel (5). Snap top down onto panels (2, 3 and 4).

- Place two shelf panels (6) flat side up onto shelf supports on the back and side panels within the cabinet. One shelf can be placed over sump area.

- Peel backing from non-skid pads and place under each corner of base (1). Cabinet is completed.

- (Optional) Peel and stick door label.
1-800-295-5510
uline.com




























