IMMERGAS Hydraulic Separating Device Kit for 400KW Power Boiler Sets

General warnings
All products are protected with suitable transport packaging. The material must be stored in dry environments and protected against weathering.
This instruction manual provides technical information for installing the kit. As for the other issues related to kit installation (e.g. safety in the work site, environment protection, injury prevention), it is necessary to comply with the provisions specified in the regulations in force and principles of good practice.
Improper installation or assembly of the appliance and/or components, accessories, kit and devices can cause unexpected problems to people, animals and objects. Read the instructions provided with the product carefully to ensure a proper installation. Installation and maintenance must be performed in compliance with the regulations in force, according to the manufacturer’s instructions and by authorized professionally qualified staff, intending staff with specific technical skills in the plant sector, as envisioned by the Law.
GENERAL INFORMATION.
This kit can be installed with right or left outlet. It is also possible to decide whether to install the separating device on the wall or floor. The hydraulic separating device makes the primary circuit and the secondary circuit independent.
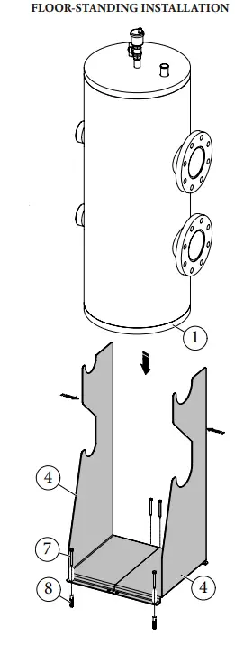
FLOOR-STANDING INSTALLATION

WALL INSTALLATION


Kit composition:
| Ref. | Qty | Description |
| 1 | 1 | Hydraulic separator device (content 69 litres) |
| 2A | 1 | G 2″ 1/2 support for wall installation |
| 2B | 1 | DN 100 support for wall installation |
| 3 | 1 | Spacer for separating device |
| 4 | 2 | Support for floor installation |
| 5 | 2 | 72 x 55 x 2 flat gaskets |
| 6 | 12 | M6 X 15 Self-threading screws |
| 7 | 6 | 8 X 80 hex head screws |
| 8 | 6 | 12 x 60 nylon masonry plug |
| 9 | 16 | M12 x 50 bolt |
| 10 | 2 | DN100 flat gasket |
| 11 | 16 | Washer for M12 screw |
| 12 | 16 | M12 nut |
KIT ASSEMBLY
Proceed as follows to assemble the kit:
Important: the fixing measurements indicated in figure are indicative and include the optional “ISPESL safety kits”. For correct mounting, refer to its hydraulic configuration.
- Victrix 90 – 115 models wall installation.
- Make n° 6 holes with Ø 12 using the measurements indicated in figure 1 referring to the fixing plate (ref. 3 fig. 2).
- Insert 6 plugs (8) into the holes.
- Fix the spacer (3) to the wall using the 6 screws with plug (7).
- Flank the two vertical supports (2) and fix them to the bracket (3) using the 6 self-threading screws (6).
- Place the hydraulic separating device (1) on the supports (2).
- Make the hydraulic connections, positioning the relative gaskets (5).
Once the kit has been mounted completely, check the tightness of the hydraulic circuit according to that prescribed by the Standard in force.
- Victrix 50 – 75 models wall installation. N. B.: the spacer (3) and the fastening screws (6) are not neces-sary for this installation.
- Make n° 6 holes with Ø 12 using the measurements indicated in figure 1 referring to the support (2).
- Insert 6 plugs (8) into the holes.
- Flank the two vertical supports (2) and fix them to the wall using the 6 self-threading screws (7).
- Place the hydraulic separating device (1) on the supports (2).
- Make the hydraulic connections, positioning the relative gaskets (5).
Once the kit has been mounted completely, check the tightness of the hydraulic circuit according to that prescribed by the Standard in force.
- Floor-standing installation.
- Make n° 4 holes with Ø 12 using the measurements indicated in figure 1 referring to the support (4).
- The “XX” measurement represents the distance from the wall with respect to the axis of the separating device. For Victrix 50 – 75 models it is 436 mm, for Victrix 90 – 5 models it is 470 mm
- Insert 4 plugs (8) into the holes.
- Flank the two supports (4) and fix them to the floor using the 4 self-threading screws (7).
- Place the hydraulic separating device (1) on the supports (7).
- Make the hydraulic connections, positioning the relative gaskets (5).
Once the kit has been mounted completely, check the tightness of the hydraulic circuit according to that prescribed by the Standard in force.
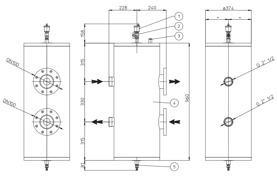
MAIN DIMENSIONS

Key:
- Vent valve
- Interception cock
- Attachment for probe (not supplied)
- Hydraulic separator device (content 69 litres) 5 – Draining valve



















