HUSKY HWB3016 6.0 Cubic Foot Wheelbarrow

THANK YOU
We appreciate the trust and confidence you have placed in Husky through the purchase of this wheelbarrow. We strive to continually create quality products designed to enhance your home. Visit us online to see our full line of products available for your home improvement needs. Thank you for choosing Husky!
Safety Information
DANGER: Changing tires can be dangerous and should be done by trained personnel only.
WARNING: Do not over-inflate tire (max = 30 PSI).
IMPORTANT: Please read and understand this entire manual before beginning assembly or use of this product.
Warranty
1-YEAR WARRANTY
WHAT IS COVERED
1-year warranty against manufacturing defects.
Contact the Customer Service Team at 1-888-HD-HUSKY or visit www.HUSKYTOOLS.com.
Pre-Installation
PLANNING INSTALLATION
Make sure all parts are present and correct.
TOOLS REQUIRED

HARDWARE INCLUDED
NOTE: Hardware not shown to actual size.
| Part | Description | Quantity |
| AA | 130 mm long M8 Bolts | 2 |
| BB | 80 mm long M8 Bolts | 2 |
| CC | 60 mm long M8 Bolts | 4 |
| DD | 50 mm long M8 Bolts | 2 |
| EE | 20 mm long M8 Bolts | 6 |
| FF | Flat Washers | 16 |
| GG | Locking Washers | 16 |
| HH | M8 Nuts | 16 |

PACKAGE CONTENTS

| Part | Description | Quantity |
| A | Tray | 1 |
| B | Handles | 2 |
| C | Wheel | 1 |
| D | Risers / Wedges | 2 |
| E | Tray Braces | 2 |
| F | Leg Brace | 1 |
| G | Legs | 2 |
| H | Axle | 1 |
| I | Right Axle Bracket | 1 |
| J | Left Axle Bracket | 1 |
| K | Front Wheel Guard | 1 |
| Hardware Bag | 1 |
Assembly
Building Handles
NOTE: The open side of the “C” cutout in the top and bottom surfaces of the wedges should face each other when assembled.
- Orient the handles (B) level as shown.
- The holes in the handle (B) nearest the rounded gripping end should align with the narrow end of the riser/wedge (D).
- The next/second set of holes in the handle (B) should align with the taller end of the riser/wedge (D)

Attaching Tray to Handles
NOTE: The dome heads on the bolts should be flush with the inside of the tray. Do not install nuts or washers yet.
- Place the tray (A) on top of the risers (D) and handles (B), ensuring the holes through all 3 components align.
- Drop two 130 mm bolts (AA) down through the deeper portion of the tray (A), the thicker portion of the wedge/ riser (D), and the corresponding holes in the handles (B).
- Drop two 80 mm bolts (BB) down through the shallower portion of the tray (A), the thinner portion of the wedge/ riser (D) and the holes nearest the rounded gripping end of the handles (B)

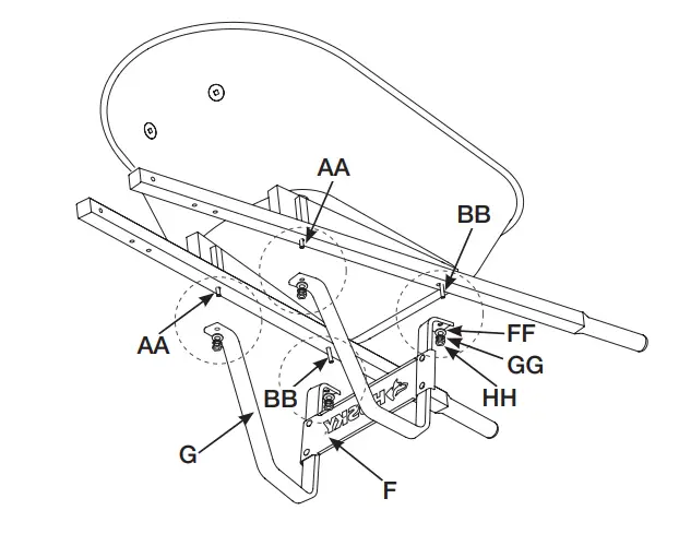
Assembling the Leg Brace
NOTE: Bolt heads go on one side. Flat washers, lock washers, and nuts go on the other – in that order.
MPORTANT: All hardware should be installed only finger tight until wheelbarrow is completely assembled.
- Loosely assemble the legs (G) and leg brace (F) together as shown using four 20 mm bolts (EE) and the matching flat washers (FF), lock washers (GG) and nuts (HH).

Attaching the Leg Brace
- Orient the leg (G) and leg brace (F) assembly as shown, with the leg brace facing the rounded gripping end of the handles.
- Use the 130 mm bolts (AA) and 80 mm bolts (BB) inserted in Step 2 to pass through the holes on the legs. Secure the bolts (AA, BB) with flat washers (FF), lock washers (GG) and nuts (HH) on the bottom side of the legs.

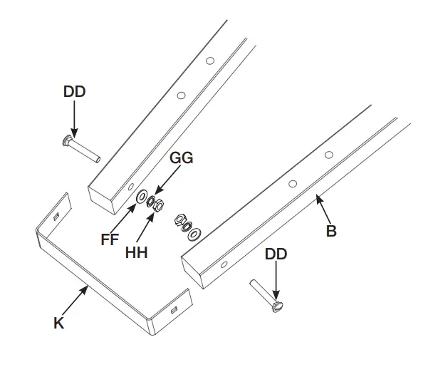
Attaching the Front Wheel Guard
- Attach front wheel guard (K) to the wheel end of the handles (B) using the two 50 mm bolts (DD) as shown. Secure with the matching flat washers (FF), lock washers (GG) and nuts (HH).

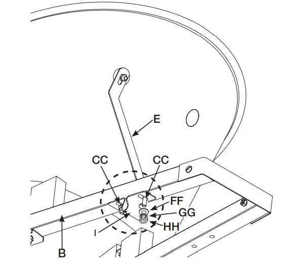
Securing Tray Braces
NOTE: These brackets are directional. Orient them so that the longer ends face the tray and the shorter ends face the wooden handles.
- Attach and secure the tray braces (E) to the tray (A) using two 20 mm bolts (EE) and the matching flat washers (FF), lock washers (GG) and nuts (HH).

Attaching the Right Axle Bracket
NOTE: Do not tighten yet.
- Loosely attach and secure the right axle bracket (I) to the handle (B) and tray brace (E) using two 60 mm bolts (CC). The tray brace attaches to the front bolt hole on top of the handle. Bolts go in from the top and are secured below the bracket with flat washers (FF), lock washers (GG) and nuts (HH).

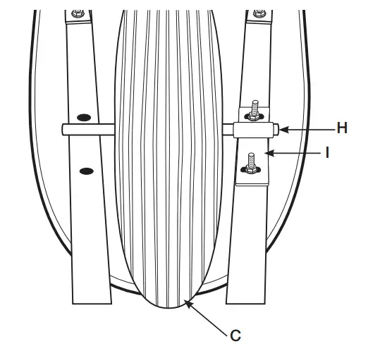
Attaching the Wheel Assembly
- With the wheelbarrow upside down (resting on its tray), hold the wheel (C) in place and slide the axle (H) through the wheel and into the right axle bracket (I).

Attaching the Left Axle Bracket
- Loosely attach and secure the left axle bracket (J) to the handle (B) and tray brace (E) using two 60 mm bolts (CC). The tray brace attaches to the front bolt hole on top of the handle. Bolts go in from the top and are secured below the bracket with flat washers (FF), lock washers (GG) and nuts (HH).

Tightening the Hardware
- Fully tighten all hardware prior to use.

Questions, problems, missing parts?
Before returning to the store, call
Husky Customer Service
8 a.m. – 7 p.m., EST, Monday – Friday
9 a.m. – 6 p.m., EST, Saturday
1-888-HD-HUSKY
CUSTOMERS SUPPORT
Questions, problems, missing parts? Before returning to the store,
call Husky Customer Service
8 a.m. – 7 p.m., EST, Monday-Friday, 9 a.m. – 6 p.m., EST, Saturday
1-888-HD-HUSKY
Questions, problems, missing parts? Before returning to the store,
call Husky Customer Service
8 a.m. – 7 p.m., EST, Monday-Friday, 9 a.m. – 6 p.m., EST, Saturday
1-888-HD-HUSKY
HUSKYTOOLS.COM
Retain this manual for future use.
HUSKYTOOLS.COM
Please contact 1-888-HD-HUSKY for further assistance


























