4CU 4 Cu Ft Poly Tray Wheelbarrow
User Guide

THANK YOU
We appreciate the trust and confidence you have placed in Anvil through the purchase of this wheelbarrow.
We strive to continually create quality products designed to enhance your home. Visit us online to see our full line of products available for your home improvement needs. Thank you for choosing Anvil!
Safety Information
- Before using this product, please read, understand and follow all instructions.
- Do not exceed the total maximum load capacity of 250 lb (120 kg). The rated weight is based on a uniformly distributed load.
- Do not allow children to use the wheelbarrow without supervision.
- Do not use this wheelbarrow to transport passengers.
- This wheelbarrow is not suitable for use on highways or high-speed use.
- Distribute the load evenly on the surface of the tray.
- Do not place items on the top edge of the tray.
- If any parts are damaged, cracked, or misplaced, please do not use the cart before replacing the parts.
- Do not use the wheelbarrow on a surface that will damage the tires.
- It is recommended to check each usage of the wheelbarrow.
- Keep this manual for future reference.
DANGER: Do not allow children to use the wheelbarrow without supervision.
WARNING: Do not use this wheelbarrow to transport passengers.
WARNING: Tire is not for highway service.
WARNING: Tire changing and/or inflation can be dangerous and should be done by trained personnel using proper tools.
Pre-Installation
PLANNING INSTALLATION
Read and follow all safety rules and operating Instructions before using this product.
TOOLS REQUIRED (Not included)

HARDWARE INCLUDED
NOTE: Hardware not shown to actual size.

| Part | Description | Quantity |
| AA | M8x130 mm bolt, washer, and nut | 2 |
| BB | M8x70 mm bolt, washer, and nut | 2 |
| CC | M8x58 mm bolt, washer, and nut | 4 |
| DD | M8x48 mm bolt, washer, and nut | 2 |
| EE | M8x23 mm bolt, washer, and nut | 2 |
PACKAGE CONTENTS

| Part | Description | Quantity |
| A | Tray | 1 |
| B | Handle | 2 |
| C | Leg | 2 |
| D | Leg brace | 1 |
| E | Wedge | 2 |
| F | Nose guard | 1 |
| G | Wheel | 1 |
| H | Axle bracket | 2 |
| I | Axle | 1 |
Assembly
1. Attaching Wedges to Tray
- Push bolts (AA & BB) through the bottom of the tray (A) and through the wedge (E).
- Repeat for second wedge.

2 Placing Handles on Wedges
- Turn tray (A) over, so the tray is at an angle of 45 degrees to the ground.
- Place handles (B) over bolts and lowers on wedges (E).

3 Attaching the Legs
- Make sure the holes in the leg (C) are facing the back of the tray.
- Place leg over bolts (AA & BB) and loosely attach to handle with washers and nuts.
- Repeat for another leg.

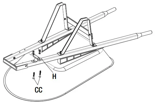
4 Attaching the Leg Brace
- Place leg brace (D) across the back of the leg (C) and loosely attach using bolts, washers, and nuts (EE).
- Repeat to attach the other end of the leg brace to the other leg.

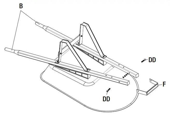
5 Installing the Nose Guard
- Use bolts, washers and nuts (DD) to attach the nose guard (F) to the front of handles(B).

6 Attaching the Axle Bracket
- Loosely attach the axle bracket (H) to the bottom of the handle using two bolts, washers, and nuts (CC).

7 Attaching the Axle and Wheel
- Slide axle (I) through wheel (G) and then into attached axle bracket (H).
- Slide the second axle bracket (H) over another end of the axle.
- Loosely attach second axle bracket to handle using bolts, washers and nuts (CC).
- Fully tighten all nuts.


Questions, problems, missing parts? Before returning to the store,
call Anvil Customer Service
8 a.m. – 7 p.m., EST, Monday-Friday, 9 a.m. – 6 p.m., EST, Saturday
1-877-527-0313
HOMEDEPOT.COM
Retain this manual for future use.















