
INSTRUCTIONS FOR
85L Plastic Wheelbarrow
Stock No.17993
Part No.PWB
IMPORTANT: PLEASE READ THESE INSTRUCTIONS CAREFULLY TO ENSURE THE SAFE AND EFFECTIVE USE OF THIS PRODUCT.

GENERAL INFORMATION
This manual has been compiled by Draper Tools and is an integrated part of the product with which it is enclosed and should be kept with it for future references.
This manual describes the purpose for which the product has been designed and contains all the necessary information to ensure its correct and safe use. We recommend that this manual is read before any operation or, before performing any kind of adjustment to the product and prior to any maintenance tasks. Following all the general safety instructions contained in this manual, it will ensure both product and operator safety, together with the longer life of the product itself. All photographs and drawings in this manual are supplied by Draper Tools to help illustrate the operation of the product.
Whilst every effort has been made to ensure the accuracy of the information contained in this manual, the Draper Tools policy of continuous improvement determines the right to make modifications without prior warning.
TECHNICAL DESCRIPTION
IDENTIFICATION

Scope- This wheelbarrow is intended for domestic and commercial duties and must not be used to transport or store hot ashes or chemicals that may cause damage to the pan.

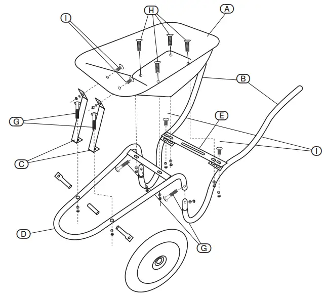
ASSEMBLY
![]() | ![]() |
CONTACTS
– DRAPER TOOLS LIMITED, Hursley Road, Chandler’s Ford, Eastleigh, Hampshire. SO53 1YF. The U.K.
– Helpline: (023) 8049 4344
– Sales Desk: (023) 8049 4333
– General Enquiries: (023) 8026 6355
– Service/Warranty Repair Agent
For aftersales servicing or warranty repairs, please contact the Draper Tools Helpline for details of an agent in your local area.
YOUR DRAPER STOCKIST
SRMC0716



















