TORQUE USA XCREATE-SM-101 Smith Module Installation Guide
WARNING!
Important safety instructions for using Equipment
There is a risk assumed by the individuals who use this type of equipment. To minimize risk, you must follow these precautions:
- READ ALL INSTRUCTIONS AND WARNING LABELS COMPLETELY PRIOR TO ANY USE OR ASSEMBLY. Failure to read and follow the safety instructions and warnings within the Assembly and Maintenance Guide may result in possible serious injury or death. Use this product only for the intended uses described in the Assembly and Maintenance Guide and exercise booklet. DO NOT modify equipment in anyway. Any use other than as intended or modification of product will void any and all product warranties.
- Consult your physician before starting any exercise program. Warm up properly before engaging in resistance training. Stop exercising and consult a physician immediately if you experience dizziness, nausea, faintness, chest pain, shortness of breath or any other abnormal symptoms during use of this equipment.
- Certain exercise equipment and/or equipment may not be suitable or appropriate for pregnant women, people with heart conditions, balance impairment or other preexisting health problems. Persons with disabilities should consult a physician and obtain medical approval prior to using this product and should only use this product under close supervision. Failure to comply with these instructions will void any and all product warranties.
- Carefully inspect equipment before each use. Replace all parts at the first sign of wear or damage. Tighten all loose connections. Do not disassemble, remove any parts or components or otherwise attempt to repair this product. DO NOT use product if product appears damaged. DO NOT attempt to fix a broken or jammed machine, obtain assistance by contacting [email protected]. Failure to comply with these instructions will void any and all product warranties.
- Keep body and clothing clear of all moving parts. Do not put any foreign on or near this product when in use. Wear comfortable clothing which does not impair freedom of movement. Do not wear clothing which is too loose and could get caught in moving parts.
- Make sure BAR STOPS are fully engaged on SMITH GUN RACK before using the product.
- Children and pets must not be allowed near this machine. Supervise teenagers. This product is not a toy.
- If unsure of proper use of this product, contact Torque Fitness Customer service at: 763-754-7533 (8:30 am – 5:00 pm CST) or [email protected]
Important Safety Instructions for Assembling Equipment
- Assistance is required. Torque Fitness recommends using more than one person to assemble this equipment.
- This product must be assembled on a flat, level surface to assure its proper function. Locate the unit a few inches from walls or furniture to allow easy access during assembly and use.
- Read each numbered step in Assembly and Maintenance Guide and follow the steps in sequence. Skipping ahead may result in damage to the equipment and may require components to be disassembled.
- Wear proper attire during the assembly process. Do not wear clothing which is too loose or open toed shoes.
Obtaining Service
Do not attempt to service the product yourself except for maintenance tasks described in this manual. Refer to the Adjustments and Maintenance section at the back of this manual for information on product operation and service.
For further information, visit our website at www.torquefitness.com or contact us at [email protected]
If you call or email customer service, have the model number and serial number(s) available. The location of the model and serial numbers are indicated in the back of this manual. For future reference, write the model and serial number(s) in the space below.
GENERAL NOTES
CAUTION: More than one person is required to assemble this unit. Do not attempt to assemble by yourself.
Unpacking the Equipment
This product may be packaged and shipped in multiple boxes. Parts from all of the boxes are required for various steps during the assembly process.
Carefully open each box and arrange all the parts near the area where assembly is to take place.
CAUTION: Use extreme care when cutting plastic tie wraps and package banding. A wire cutter works best for protecting yourself and the parts.
CAUTION: Some of the internal boxes may contain upholstery. Do not use a utility knife to open any boxes or the pads may be damaged.
The hardware is packed in bags. Carefully open each bag and sort them per parts list on the next page.
Before starting assembly, identify each part and hardware item as listed in the parts list on the next page. If any items are missing, contact Torque Fitness Customer service at: 763-754-7533 (8:30 am – 5:00 pm CST). or [email protected]
Note: Some items listed in the parts list may already be pre-installed on the product.
Tools Required
- Rubber mallet or hammer
- 3/4″ Box wrench or adjustable wrench
- Or 3/4″ Socket and 3/8″ ratchet
- 3/8″ Allen wrench
- 3/16″ Allen wrench
- Wire snips (to cut plastic tie wraps)
- Scissors or utility knife (to cut hardware bags)
- Step stool or ladder
- Tape measure
Optional Equipment
Optional equipment may be available for this product.
Follow the instructions included with the optional equipment to assemble it to the base product.
Assembly Tips
- In a continual effort to improve our products, specifications are subject to change.
- A 6″ scale is provided at the bottom of every page. To correctly measure the bolts, measure from underneath the bolt head to the end of the bolt as illustrated below.
- Read all notes on each page before beginning that step.
- Some of the items shown in the assembly steps may already be pre-assembled.
Assembly Tips Continued
- Note: Some items have been hidden for assembly clarity.
- Note: Some pre-assembled parts may need to be temporarily removed in order to complete the step. Follow the instructions or damage to the product could occur.
- Some parts may have extra holes that will not be used. Use only the holes depicted in the instructions.
- Certain parts make reference to the right and left side of the machine. In order to determine the left and right side, stand in front of the machine.
- Provide ample space around the product for ease of assembly.
- DO NOT fully tighten any connections until instructed to do so. This will help insure that the alignment of all of the parts will be correct.
- Insert all bolts in the direction indicated in the instructions. Failure to do so may result in clearance issues and will degrade the aesthetics of the product.
- Carefully follow instructions for all pivot points. In general, primary rotating parts have connections that should be securely tightened, while secondary connections need to be loosen 1/4 turn.

| ITEM | PART NUMBER | DESCRIPTION | QTY |
| 1 | 2001301 | WASHER, FLAT 1/2 SAE ST ZN | 28 |
| 2 | 2001401 | NUT, 1/2-13 LK ST ZN | 12 |
| 3 | 57681PA | PTD ASSY, SMITH UPRIGHT LEFT | 1 |
| 4 | 57689PA | PTD ASSY, SMITH UPRIGHT RIGHT | 1 |
| 5 | 2005819 | BOLT, 1/2-13 X 5″ (127mm) SOCKET HEAD | 2 |
| 6 | 5767801 | WLDMT, UPRIGHT CONNECTOR | 1 |
| 7 | 2006815 | BOLT, 1/2-13 X 4″ (102mm) SOCKET HEAD W/NP | 4 |
| 8 | 5769201 | PLATE, SMITH GUN RACK | 2 |
| 9 | 2005811 | BOLT, 1/2-13 X 3″ (76mm) SOCKET HEAD | 4 |
| 10 | 5770501 | GUIDE ROD, TGH&P SMITH ATTACHMENT | 2 |
| 11 | 57911PA | PTD ASSY, LOWER GUIDE ROD SUPPORT LEFT | 1 |
| 12 | 57915PA | PTD ASSY, LOWER GUIDE ROD SUPPORT RIGHT | 1 |
| 13 | 58077PA | PTD ASSY, LEFT BAR STOP | 1 |
| 14 | 57707PA | PTD ASSY, RIGHT BAR STOP | 1 |
| 15 | 5770601 | BUMPER, SMITH BAR | 2 |
| 16 | 57693PA | PTD ASSY, SMITH BAR SLIDE | 2 |
| 17 | 2035201 | COLLAR, 30 ID CLAMPING SHAFT | 2 |
| 18 | 57917PA | PTD ASSY, UPPER GUIDE ROD SUPPORT LEFT | 1 |
| 19 | 57920PA | PTD ASSY, UPPER GUIDE ROD SUPPORT RIGHT | 1 |
| 20 | 57699PA | PTD ASSY, SMITH BAR | 1 |
| 21 | 2005812 | BOLT, 1/2-13 X 3-1/4″ (83mm) SOCKET HEAD | 8 |
![]()
STEP 1
NOTE:
This step is for assembling the SMITH MODULE on an existing XCREATE that is already assembled.
STEP 2
STEP 3a (LEFT SMITH UPRIGHT)
STEP 3b (RIGHT SMITH UPRIGHT)
NOTE:
LOOSELY assemble bolt connections in this step.
STEP 4
NOTE:
LOOSELY assemble bolt connections in this step.
STEP 5
STEP 6
NOTE:
Complete this step on the floor
STEP 7a
STEP 7b
STEP 8
STEP 9
NOTE:
This step requires two people to assemble. Please get help.
If previous step was assembled on the floor, then CAREFULLY stand assembly up and assemble to Smith Module as shown.
STEP 10
NOTE:
LOOSELY assemble bolt connections in this step
STEP 11 (BOLT TIGHTENING SEQUENCE)
NOTE:
SECURELY tighten all bolt connections in order shown above.
STEP 12
NOTE:
SECURELY tighten bolt connections in this step.
ANCHOR
NOTES:
Make sure all bolts are SECURELY tighten. Position system to desired location in the room.
Anchor system to the floor referencing X-CREATE ANCHORING INSTRUCTIONS which can be downloaded at
www.torquefitness.com/assembly-manuals
WARNING!
ALL X-CREATE ARE REQUIRED TO BE ANCHORED TO THE FLOOR TO PREVENT ROCKING OR TIPPING DURING USE.
STEP 13
NOTE:
SECURELY tighten all bolt connections in this step.
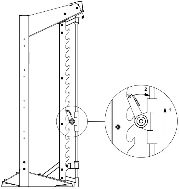
STEP 14 (SMITH BAR OPERATION)
STEP 14 (BAR STOP OPERATION)
STEP 14 (PRODUCT WARNINGS)
STEP 39
MAINTENANCE:
GUIDE RODS: Clean and lubricate with a silicone or teflon base lubricant.
NUTS/BOLTS: Tighten and/or adjust as needed.
FRAME: Wipe down and damp cloth.
For customer service contact Torque Fitness Customer service at: 763-754-7533 (8:30 am – 5:00 pm CST). or
[email protected]















