TANK MX ASSEMBLY GUIDE
VERSION: XTTMX-RPH-101
PART #: 5672701-D

XTTMX-RPH-101 Fitness Tank MX Performance Handle Package
| ITEM | PART NUMBER | DESCRIPTION | QTY |
| 1 | 5637101 | ASSY, FRAME-MX | 1 |
| 2 | 5632401 | WHEEL, 13″ DIA X 5.0″ WIDE | 4 |
| 3 | 2011201 | WASHER, STEEL 12.7 ID-40 OD-4 THK CLEAR ZINC | 4 |
| 4 | 2010901 | WASHER, LOCK M12 SAE ST ZN | 12 |
| 5 | 2011301 | SCREW, M12-1.75 X 30L SOC HD GR 12.9 CLEAR ZINC | 4 |
| 6 | 5641201 | ASSY, HANDLES AND HOOP MODULE | 2 |
| 7 | 2010801 | WASHER, STEEL 12.7 ID-25 OD-2 THK CLEAR ZINC | 8 |
| 8 | 2010701 | SCREW, M12-1.75 X 85L SOC HD GR 12.9 CLEAR ZINC | 8 |
| 9 | 56314PA | PTD ASSY, PUSH HANDLE-RIGHT | 4 |
| 10 | 56315PA | PTD ASSY, PUSH HANDLE-LEFT | 4 |
| 11 | 56024PA | PTD ASSY, TANK WEIGHT HORN (OPTIONAL) | 2 |
| 12 | 56363PA | PTD ASSY, ALIGNMENT DEVICE (OPTIONAL) | 2 |
| 13 | 2024001 | SCREW, M10-1.5 70L SOC HD GR 12.9 CLEAR ZINC | 8 |
| 14 | 57665PA | PTD ASSY, WHEELBARROW HANDLE, RIGHT (OPTIONAL) | 2 |
| 15 | 57664PA | PTD ASSY, WHEELBARROW HANDLE, LEFT (OPTIONAL) | 2 |
| 16 | 58063PA | PTD ASSY, LOWER MOUNT (OPTIONAL) | 1 |
| 17 | 2001101 | WASHER, FLAT 3/8 SAE ST ZN | 4 |
| 18 | 2031101 | SCREW, 3/8″ LAG X 2.5″L CLEAR ZINC | 4 |
| 19 | XTSA-101 | TANK SWIVEL ATTACHMENT (OPTIONAL) | 1 |
TOOLS NEEDED FOR ASSEMBLY:
- 10MM ALLEN WRENCH (INCLUDED)
- 6MM ALLEN WRENCH (INCLUDED)
- AIR PUMP WITH GAUGE
- PHILLIPS SCREW DRIVER
- TABLE OF CONTENTS:
TANK MX ASSEMBLY: PAGES 3 – 6
- TANK MX RESISTANCE ADJUSTMENTS: PAGE 7
- WEIGHT HORN KIT (OPTIONAL): PAGES 8 – 9
- WEIGHT HORN STACKING KIT (OPTIONAL): PAGES 10 – 11
- WHEELBARROW ATTACHMENT (OPTIONAL): PAGE 12
- TANK SWIVEL ATTACHMENT (OPTIONAL): PAGES 13-15
- WALL-MOUNTED HANDLE STORAGE (OPTIONAL): PAGES 16-18
- TANK MX HANDLE ADJUSTMENTS: PAGE 19
- TANK MX HANDLE STORAGE AND STACKING: PAGES 20- 21
- INSPECTION & LUBRICATION: PAGE 22
- SAFETY AND WARNING NOTICES: PAGE 23
![]()
![]() | ![]() |
![]() | ![]() |
NOTE:
SECURELY tighten all bolt connections in this step.
XTTMX RESISTANCE ADJUSTMENT & MX MODE

XTWHK
WEIGHT HORN KIT (OPTIONAL)
STEP 1

NOTE:
Handles have been hidden for assembly clarity.

NOTE:
SECURELY tighten all bolt connections in this step.
Handles have been hidden for assembly clarity.

NOTE:
Handles have been hidden for assembly clarity.
XTWHSK
WEIGHT HORN STACKING KIT (OPTIONAL)
STEP 2

NOTE:
SECURELY tighten all bolt connections in this step.
Handles have been hidden for assembly clarity.
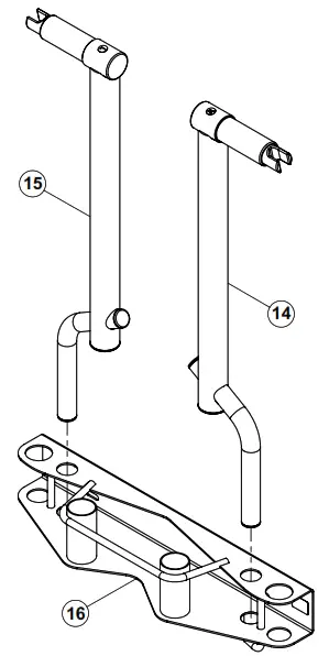
WHEELBARROW HANDLE ATTACHMENT (OPTIONAL)

XTSA
TANK SWIVEL ATTACHMENT (OPTIONAL)

NOTE:
Handles have been hidden for assembly clarity.
XTSA
TANK SWIVEL ATTACHMENT (OPTIONAL)

NOTE:
SECURELY tighten all bolt connections in this step.
Handles have been hidden for assembly clarity.
XTSA
TANK SWIVEL ATTACHMENT (OPTIONAL)

NOTE:
Handles have been hidden for assembly clarity.
XTMX-WMHS
WALL-MOUNTED HANDLE STORAGE (OPTIONAL)

NOTES:
The images above show the anchoring hardware used for attaching to typical walls with wood studs spaced 16″ on center. The anchors used will depend on the wall construction. NOTE: All four anchoring locations must be used. The pull-out strength of the anchoring bolts used must be greater than or equal to 200 lbs. (91 kg)
SECURELY tighten bolt connections in this step.
XTMX-WMHS
WALL-MOUNTED HANDLE STORAGE (OPTIONAL)

XTMX-WMHS
WALL-MOUNTED HANDLE STORAGE (OPTIONAL)

XTTMX HANDLE POSITIONS

XTTMX STORAGE/STACKING
STEP 1

XTTMX STORAGE/STACKING
STEP 2

NOTES:
Use two people to lift TANKS.
Use COMBO HANDLES to stack tanks on top of each other.
Make sure both RECEIVERS on the bottom of the TANK are seated securely over the WEIGHT HORNS on top of the TANK (see inset).
DO NOT stack the TANKS more than three high.
INSPECTION & LUBRICATION
INSPECTION:
ATTENTION:
PLEASE ENSURE THAT ALL TIRES ARE INFLATED TO 30 PSI. FAILURE TO DO SO MAY RESULT IN TANK VEERING DURING USE.
Once a month, check for loose bolts on handles, wheels and weight horns (optional) as indicated. Tighten if necessary.
Once a month, check that the chain and sprockets are clean, free of rust, dust and grime. Make sure that the chain is properly lubricated.
Once a month, inspect belt. Make sure the belt is not worn, frayed or loose. Replace belt if worn or frayed.
LUBRICATION:
Once a month, the sprockets should be cleaned and the chain should be lubricated.
RECOMMENDED LUBRICATION: Use a Dry lubrication for indoor use, and wet lubrication for outdoor use. Most bicycle shops carry a variety of different lubricants and can recommend a lubricant based on the conditions where the TANK will be used.
#TorqueFitness #TorqueTANK
https://www.instagram.com/torquefitnessusa/
https://www.youtube.com/c/TorqueFitness
https://www.facebook.com/groups/thetankcommunity
IMPORTANT SAFETY INSTRUCTIONS
WARNING: The safety of this product can be maintained only if it is examined regularly for damage and wear. See inspection and lubrication section for more details.
- DO NOT overinflate tires! All tires should be inflated to 30 PSI. Check air pressure periodically.
- Keep all loose clothing, hair and shoelaces away from moving parts.
- Keep children away from the TANK MX during use.
- DO NOT attempt to use the TANK MX for any purposes other than that for which it was intended.
- Wear shoes with rubber or high-traction soles. High heels, dress shoes, sandals or bare feet are not suitable for use with the TANK MX.
- DO NOT use the TANK MX in wet or slippery conditions.
- DO NOT drop the weight plates onto the TANK MX. Doing so, may result in damage to the TANK MX.
- DO NOT push the TANK MX while any accessories are attached to the push/pull bar.
- DO NOT stand or ride on the TANK MX.
- DO NOT use the TANK MX without the shrouds.
Torque Fitness
11201 Xeon Street NW Ste 101
Coon Rapids, MN USA 55448
www.torquefitness.com
or 763-754-7533 (8:30 am – 5:00 CST).
For sales: [email protected]
For service: [email protected]





















