SENCO-JN91H1-Metal-Connector-Nailer

Warnings for the safe use of this tool are included in this manual.
KYOCERA-SENCO Industrial Tools, Inc. 8450 Broadwell Road
Cincinnati, OH 45244
1-800-543-4596 www.senco.com
Employer’s Responsibilities
Keep this manual available for use by all people assigned to the use of this tool.
Employer must enforce compliance with the safety warnings and all other instructions which accompany this tool as shipped from the manufacturer.
Tool actuation system must be appropriate taking into consideration the work application.
The operator must be trained in the safe use of the tool described in the operating safety manual.
Only persons who have read and understand the tool operating safety instructions shall operate the tool.
SAFETY WARNINGS
WARNING
Read and understand tool labels and manual. Failure to follow warnings will result in DEATH or SERIOUS INJURY.
Save These Instructions.
Personal Protective Equipment
Use safety equipment. Always wear ANSI Z87+ safety glasses with permanently attached side shields. Dust mask, non-skid safety shoes, hard hat, or hearing protection must be used for appropriate conditions. Failure to do so could result in personal injury. Eye protection equipment must be worn by the operator and other people in the work area.
Employer is responsible to enforce the use of personal protective equipment by the tool operator and all other personnel in the work area.
Eye protection shall conform to the requirements of ANSI Z87+ and shall provide protec-tion against flying particles both from front and side.
Hearing protection shall have Noise Reduction Rating determined in accordance with US Environmental Protection Agency Rules that is appropriate for the noise exposure.
Head protection shall conform to ANSI Z89.1.
Explosion Hazard
Never use tool in an explosive atmosphere or in the presence of combustible materials such as flammable liquids, gases or dust.
Hazardous
Never use oxygen, carbon dioxide or any other bottled gas as a power source for this tool.; the tool will explode and cause serious injury.
Hazardous power sources shall not be used. Explosion may occur.
Hazardous power sources include, but are not limited to:
- Reactive gases including, but not limited to oxygen and combustible gases.
- Pressure sources that can deliver in excess of 1.5 times the maximum air pressure of a tool or 200 psig (13.8 bar), whichever is greater, if a regulator fails.
Triggering Systems
Always select an actuation system that is appropriate for the fastener application and training of tool operator. Contact Senco at www.senco.com for information on actuation system options.
Tools are manufactured with a variety of triggering systems based on tool application, fastener size and operator preference. Please read the operating instructions so that you are familiar with the operation of each type of triggering system.
- A sequential actuation mechanism is preferred when exact fastener placement is desired or the employer /operator prefer that the tool be reset for each fastener drive. The operating controls must be activated in a specific sequence to activate the tool. If the tool has a trigger and workpiece contact, the workpiece contact must be activated before the trigger for the tool to operate. This type trigger is easily identified in your Senco tool by a GREY trigger.
- A contact actuation mechanism is an option when rapid fastener placement is desired. This actuation system can be activated in any sequence. Additional activations can occur when any operating control is released and re-activated. This type trigger is easily identified in your Senco tool by a BLACK trigger.
- Some tools have a selectable trigger option built into the triggering mechanism. These tools can be switched between sequential operation and contact actuation by moving a button, lever or switch. See operator manual to determine if this selectable trigger is provided in your fastener driving tool. This type trigger is easily identified in your Senco tool by a RED trigger or BLACK trigger with RED switch.
- Light duty tools may have only a finger trigger and do not require a work contact element. These tools are used in specialty applications and are typically used in industrial applications.
- Light duty tools may have a dual action trigger. The two – stage trigger must be actuated in a sequence in order to drive a fastener. This type tool does not require a work contact element and is used for specialty applications.
- Some special application tools utilize a retracted workpiece contact mechanism. These tools are used for attaching straps to plates through pre-punched holes.
*Trigger color designation does not apply to metal connector.
It is recommended that operators that are less experienced using pneumatic fastener driving tools choose a sequential mechanism until they become familiar with the tool and its operation.
Please call Senco Customer Service to obtain an alternate trigger type in those tools that can be user modified to fit the application and/or level of operator experience.
Personal Safety
Always remove finger from trigger when not driving fasteners. Never carry the tool with finger on or under trigger. Tool will eject a fastener if the safety element is bumped.
Do not actuate tool unless tool is placed firmly against the work surface. Before operating, inspect tool to confirm:
- Use of proper power source.
- That tool is in proper working condition.
- Actuation system is on tool and how it operates.
- No misalignment or binding of moving parts.
- All conditions necessary for proper and safe tool operation.
Always assume the tool contains fasteners.
- No horseplay.
- Respect the tool as a working implement.
- Keep tool pointed away from yourself and others when connecting air to tool.
Do not use tool while tired or under the influence of drugs, alcohol or medication. A moment of inattention while oper-ating power tools may result in serious personal injury.
Do not overreach. Keep proper footing and balance at all times.
- Always place yourself in a firmly balanced position.
- Stay alert, focus on your work and use common sense when using tool.
- Keep bystanders and children away while operating tool.
- Store idle tools out of the reach of minors or other untrained persons.
- Drive fasteners into work surface only; never into materials too hard to penetrate.
- Do not force tool. Let the tool do the work.
- Use the correct tool for the application. The correct tool will do the job better and safer.
- Tools shall be operated at the lowest pressure needed for the application. This will reduce noise levels, part wear, and energy use.
- Do not drive fasteners on top of other fasteners or with the tool at too steep of an angle; the fasteners can ricochet and may cause injury.
- When using tool, care should be taken due to possibility of tool recoil after a fastener is driven.
- If safety element is unintentionally allowed to re-contact work surface following a recoil, an unwanted fastener will be driven. Therefore, allow tool to recoil completely off work surface after a fastener is driven to avoid this condition.
- Do not push safety element on work surface until a second fastener is desired.
- Do not drive fasteners close to the edge of the work surface. Keep face and body parts away from tool and work sur-face. The workpiece is likely to split and the fastener could fly free or ricochet and may cause injury.

Tool may eject a fastener when connected to air supply; therefore,
- remove all fasteners from tool
- before connecting air.
Do not load fasteners with trigger or workpiece contact element depressed. Keep hands and body away from the fastener discharge area of tool near workpiece contact.
Operating Controls
Do not use tool without danger label on tool. If label is missing, damaged or unreadable, contact your SENCO representative to obtain a new label.
Never use tool if safety element, trigger or springs have become inoperable, missing or damaged. Do not tamper with or remove safety element, trigger or springs.
Disconnect tool from air before doing tool maintenance, clearing a jammed fastener, leaving work area, moving tool to another location or handing the tool to another person, when not in use or outside of the operator’s supervision.
Tools shall not be modified unless authorized in tool manual or approved in writing by the manufacturer.
Use only parts, fasteners, and accessories recommended or sold by SENCO. Do not modify tool without authorization from SENCO.
Proper Power Source
Use only clean, dry, regulated compressed air at the recommended pressure. Do not operate the tool with any alternate power source.

WARNING:

- Do not connect tools to air pressure that potentially exceeds 200 psig or 13.7 bar.
- Regulators shall be used to limit compressed air pressure supplied to tool. Regulators shall be set at an operational pressure that is lower than or equal to manufacturers’ specified maximum.
- Air hose must have a minimum working pressure rating of 150 PSIG (10.3 bar) or 150% of the maximum pressure produced in the system, whichever is higher.
- The tool and air supply hose must have a hose coupling such that all pressure is removed from the tool when the coupling joint is disconnected.
- Use extra caution when driving fasteners into existing walls or other blind areas to prevent contact with hidden objects or persons on other side (e.g. wires, pipes, etc.).
- Never use a tool that leaks air or needs repair.
- Never lift, pull or lower the tool by the hose.
- Keep tool pointed away from yourself and others while connecting air to the tool.
- Never use any part of the tool (cap or main body) as a hammer. The tool could activate or become unsafe.
Product Safety Messages
- Read and Understand tool labels and manual. Failure to follow warnings will result in DEATH or SERIOUS INJURY.
- Operators and others in work area MUST wear safety glasses with side shields.
- Keep fingers AWAY from trigger when not driving fasteners to avoid accidental discharge.
- Know and understand what trigger system you are using. Check manual for triggering options.
- NEVER point tool at yourself or others in work area.
- NEVER use oxygen or other bottled gases. Explosion may occur.
Maintenance
Always refer to both tool maintenance instructions below and the troubleshooting guide in this manual to assure years of reliable service.
Make sure all screws and caps are securely tightened at all times. Make daily inspec-tions for free movement of trigger and safety element. Never use the tool if parts are missing or damaged.
When tool is disconnected from air, make daily inspection to assure free movement of safety element and trigger. Do not use tool if safety element or trigger sticks or binds.
Squirt Senco pneumatic oil (5 to 10 drops) into the air inlet twice daily (depending on frequency of tool use). Other oils may damage O-rings and other tool parts.
Wipe tool clean daily and inspect for wear. Use non-flammable cleaning solutions only if necessary. DO NOT SOAK.
WARNING
Repairs other than those described here should be performed only by trained, qualified personnel. Contact SENCO for information at 1-800-543-4596.
The employer, tool owner and tool operator:
- are responsible for ensuring that the tools are kept in safe working order.
- are responsible for ensuring that only qualified personnel shall repair the tool.
- are responsible for ensuring that manufacturers tool maintenance instructions are available to personnel performing maintenance.
- shall ensure that tools that require repair are removed from service and that tags and physical segregation are used as a means of control.
Tool conditions that require the tool to be taken out of service:
- Excessive leaks from pressure vessel.
- Inoperable workpiece contact (safety element).
- Workpiece contact (safety element) that appears to bind during use.
- Missing guards.
- Missing safety labels.
- Delayed firing due to worn or damaged parts.
Functional Operation (JN91H1 / JN91H2)
Functional Operation (JN91P1 / JN91P2) 
Tool Use
Read section titled “Safety Warnings” before using tool.
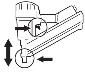
TO LOAD:
- Insert strip(s) of nails into rear of maga-zine. For optimum performance use SENCO fasteners. Do not load with workpiece contact (safety element) or trigger depressed.
- Pull feeder shoe back.
UNLOADING THE TOOL:
Push Tab on feeder shoe to release feeder from strip. Pull fastener strip out past sheet metal nail detainer.
Do not load with workpiece contact (safety element) or trigger depressed. Use only genuine SENCO fasteners (see Fastener Specifications).

ACTUATION SYSTEM:
With a Sequential Actuation (Restrictive) trigger, fasteners can only be driven one way:
- Press the workpiece contact (safety element) against the work surface.
- Pull the trigger.
- A single fastener will be driven.
- Additional fastener drive requires both the workpiece contact and trigger be released.
TO AVOID SERIOUS INJURY FROM FASTE NERS AND FLY ING DEBRIS WHEN INSTALL ING METAL CONNECTORS USING THE JN Series NAILER:
Use only genuine Senco metal connector nails.
Metal connector nails are not designed to penetrate metal. When installing metal connectors, always place the exposed point of the metal connector nail into the metal connector’s pre-formed hole, and orient so the nail is perpendicular to the hole before attempting to drive a fastener.
Senco strongly recommends the use of hardened nails in the JN Series tools.
WORK CONTACT ELEMENT (JN91H1 / JN91H2): The moveable nose, which acts as the contact trip, is in the “depressed” position at rest to allow visibility of the nail points. When the tip of the nail is placed in the pre-punched metal connector hole and the trigger is pulled, the moveable nose moves out from the tool to detect the work surface. If the moveable nose does not detect the work surface close to the nose of the tool, the tool will not actuate.
WORK CONTACT ELEMENT (JN91P1 / JN91P2): First depress the workpiece contact element against work surface, insert-ing the probe tip into the pre-punched metal plate hole. Then pull trigger.
TO ADJUST THE DEPTH THE FASTENER IS DRIVEN: (JN91P1 AND JN91P2 ONLY) First disconnect the air supply.
Using your thumb or index finger, rotate wheel to adjust the Depth Control safety element to achieve desired depth.
Clearing Jams:
Should a fastener jam occur, disconnect air supply.
- Release the feeder shoe and slide it forward.
- Remove fasteners from tool.
- Remove the bracket screw at the back of the tool and remove the magazine.
Clear jammed fastener from guide body.
Reattach the magazine and fasten magazine mounting bracket screw.
Connect air supply and replace fasteners. Pull feeder shoe back.
The deflector can be rotated to 3 positions to change the direction of the exhaust air.
Disconnect air supply, loosen cap screw with a hex wrench, and then rotate deflector to desired direction.
Prior to tool use, ensure deflector cap screw is tightened.
This tool is equipped with a lockout feature:
When approximately five nails remain in the magazine, the workpiece contact (safety element) will be locked in the undepressed position until more nails are loaded into the magazine.
Repairs other than those described here should be performed only by trained, qualified personnel. Contact SENCO for information at 1-800-543-4596.
Troubleshooting

| Problem/symptom Potential Cause | Corrective action | ||
| ① | Air leak near top of tool / Sluggish operation | Firing valve seal | Verify air supply / Tighten screws or install Parts Kit JN91H – YK0895 JN91P – YK0898 |
| ② | Air leak near bottom of tool / Poor return | Piston stop/Piston seal | Check for piston seal or sleeve wear If parts are worn or damaged, parts are detailed in the parts chart Clean tool / Tighten screws or install Parts Kit JN91H – YK0896 JN91P – YK0899 |
| Other problems | Contact SENCO | ||
Accessories
SENCO offers a full line of accessories for your SENCO tools, including:
- Air Compressors
- Hose
- Couplers
- Fittings
- Safety Glasses
- Pressure Gauges
- Lubricants
- Regulators
- Filters
Options
SEQUENTIAL TRIGGER—This feature is helpful when precise fastener placement is required.
Identified by spring at hinge pin and internal lever.
Trigger will be grey.
Technical Specifications
| Minimum to maximum operating pressure | 70–120 psi | 70–120 psi | 70–120 psi | 70–120 psi |
| Air Consumption (scf/cycle) | 0.0734 | 0.0734 | 0.1066 | 0.1066 |
| Air Inlet | 1/4 in. NPT | 1/4 in. NPT | 1/4 in. NPT | 1/4 in. NPT |
| Weight | 5.41 lbs. 2.71 kg | 5.81 lbs. 2.64 kg | 7.44 lbs. 3.38 kg | 7.88 lbs. 3.58 kg |
| Fastener Capacity | 30 | 54 | Plastic 30 Paper 32 | Plastic 43 Paper 46 |
| Tool size: Height | 10.7 in. 271mm | 10.7 in. 271mm | 14.5 in. 368 mm | 14.5 in. 368 mm |
| Tool size: Length | 12.6 in. 318.8 mm | 18.2 in. 463 mm | 14.1 in. 358 mm | 19.2 in. 488 mm |
| Tool size: Width | 4.44 in. 112.7 mm | 4.86 in. 123.5 mm | 4.49 in. 114 mm | 5 in. 127 mm |
| Operating Temperature Range | 0 to 120F -18C to 49 C | 0 to 120F -18C to 49 C | 0 to 120F -18C to 49 C | 0 to 120F -18C to 49 C |
| Fastener Size | 1 1/2 in. (.131 in. – .148 in. dia.) 38 mm (3.3 mm – 3.8 mm dia.) | 1 1/2 in. – 2 1/2 in. (.131 in. – .162 in. dia.) 38 mm – 65 mm (3.3 mm – 4.1 mm dia.) | ||
Fastener Specifications
Limited Warranty
SENCO® Pneumatic, DuraSpin®, Cordless Tools & Compressors
KYOCERA-SENCO Industrial Tools, Inc. (“SENCO”) designs and constructs its products using the highest standards of material and workmanship. SENCO warrants to the original retail purchaser that the following products will be free from defects in material or workmanship for the warranty period
| Products | New | Reconditioned | Products | New | Reconditioned |
| Pneumatic Tools Ü | Five Years | One Year | Air Compressors | One Year | 90 Days |
| Fusion Tools | Two Years | Six Months | Combo Kit Tools | One Year | 90 Days |
| Gas Tools | Two Years | Six Months | Multi-Blow Hand Nailers | One Year | 90 Days |
| Duraspin Tools | Five Years | 90 Days | Stapling Hammers | One Year | 90 Days |
Ü = Both XP and Pro Series
During the warranty period (which begins on the purchase date), SENCO will repair or replace, at SENCO’s option and expense, any product or part that is defective in materials or workmanship after examination by a SENCO Authorized Warranty Service Centre, subject to the exceptions, exclusions and limitations described below. Any replacement product or part will carry a warranty for the balance of the warranty period applicable to the replaced product or part. A DATED SALES RECEIPT OR PROOF OF PURCHASE FROM THE ORIGINAL RETAIL PURCHASER IS REQUIRED TO MAKE A WARRANTY CLAIM. Warranty registration is also required and can be accomplished through on-line Product Registration at www.senco.com or by completing and returning the postage paid warranty registration form included with your Operator’s manual/parts chart information, found inside the product carton. To make a warranty claim, you must return the product, with proper receipt/proof of purchase and return transportation charges prepaid, to a SENCO Authorized Warranty Service Centre. A list of SENCO Authorized Warranty Service Centres can be found at www.senco.com or by calling 1- 800-543-4596 toll free. SENCO will perform its obligations under this warranty within a reasonable time after approval of the warranty claim.
SENCO Cordless:
- Subject to the exceptions, exclusions and limitations described below, SENCO warrants that the SENCO Cordless tool will be free from defects in materials and workmanship for two years after the purchase date.
- SENCO warrants that the batteries and chargers used with SENCO Cordless tools will be free from defects in material and workmanship for one year after the purchase date.
Warranty Exclusions
The following warranty exclusions apply:
- This warranty does not cover parts damaged due to normal wear, misapplication, misuse, accidents, operation beyond the recommended speeds or voltage (electric units only), improper storage, or damage resulting from shipping.
- Prod
- Labour charges or loss or damage resulting from improper operation, maintenance or repairs are not covered by this warranty.
General Warranty Conditions
- Clean, dry, regulated compressed air has been used, at air pressure not exceeding the maximum indicated on the tool casting;
- No e
- No d maintenance instructions).
THIS WARRANTY IS THE ONLY WARRANTY ON THE PRODUCT, AND SENCO DISCLAIMS ALL OTHER WARRANTIES. ANY IMPLIED WAR-RANTIES WILL BE LIMITED IN DURATION TO THE APPLICABLE WARRANTY PERIOD SPECIFIED ABOVE. SOME STATES DO NOT ALLOW LIMITATIONS ON HOW LONG AN IMPLIED WARRANTY LASTS, SO THE ABOVE LIMITATION MAY NOT APPLY TO YOU. YOUR REMEDIES ARE SOLELY AND EXCLUSIVELY AS STATED ABOVE. SENCO SHALL IN NO EVENT BE LIABLE FOR INCIDENTAL, CONSEQUENTIAL, INDIRECT, OR SPECIAL DAMAGES. SOME STATES DO NOT ALLOW THE EXCLUSION OR LIMITATION OF INCIDENTAL OR CONSEQUENTIAL DAMAGES, SO THE ABOVE LIMITATION OR EXCLUSION MAY NOT APPLY TO YOU. IN NO EVENT, WHETHER AS A RESULT OF A BREACH OF CONTRACT, WARRANTY, TORT (INCLUDING NEGLIGENCE) OR OTHERWISE, SHALL SENCO’S LIABILITY EXCEED THE PRICE OF THE PRODUCT WHICH HAS GIVEN RISE TO THE CLAIM OR LIABILITY. ANY LIABILITY CONNECTED WITH THE USE OF THIS PRODUCT SHALL TERMINATE UPON THE EXPIRATION OF THE WARRANTY PERIOD SPECIFIED ABOVE. NO EMPLOYEE OR REPRESENTATIVE OF SENCO OR ANY DISTRIBUTOR OR DEALER IS AUTHORIZED TO MAKE ANY CHANGE OR MODIFICATION TO THIS WARRANTY.
KYOCERA-SENCO Industrial Tools, Inc. 8450 Broadwell Road
Cincinnati, Ohio 45244
www.senco.com
KYOCERA-SENCO Industrial Tools, Inc. 8450 Broadwell Road
Cincinnati, Ohio 45244
1-800-543-4596 www.senco.com

Limited Warranty

















