
OPERATOR’S MANUAL

Cat. No.
M18 FN15GA
M18 FUEL™ 15 GAUGE ANGLED FINISHING NAILER
WARNING
To reduce the risk of injury, user must read and understand operator’s manual.
GENERAL POWER TOOL SAFETY WARNINGS
Read all safety warnings, instructions, illustrations and specifications provided with this power tool. Failure to follow all instructions listed below may result in electric shock, Save all warnings and instructions for future reference. The term “power tool” in the warnings refers to your mains-operated (corded) power tool or battery-operated (cordless) power tool.
WORK AREA SAFETY
- Keep work area clean and well lit. Cluttered or dark areas invite accidents.
- Do not operate power tools in explosive atmo-liquids, gases or dust. Power tools create sparks which may ignite the dust or fumes.
- Keep children and bystanders away while operating a power tool. Distractions can cause you to lose control.
ELECTRICAL SAFETY
- Power tool plugs must match the outlet. Never modify the plug in any way. Do not use any adapter plugs with earthed (grounded) power tools. Unmodified plugs and matching outlets will reduce risk of electric shock.
- Avoid body contact with earthed or grounded surfaces, such as pipes, radiators, ranges and refrigerators. There is an increased risk of electric shock if your body is earthed or grounded.
- Do not expose power tools to rain or wet conditions. Water entering a power tool will increase the risk of electric shock.
- Do not abuse the cord. Never use the cord for carrying, pulling or unplugging the power tool. Keep cord away from heat, oil, sharp edges or moving parts. Damaged or entangled cords increase the risk of electric shock.
- When operating a power tool outdoors, use an extension cord suitable for outdoor use. Use of a cord suitable for outdoor use reduces the risk of electric shock.
- If operating a power tool in a damp location is unavoidable, use a residual current device (RCD) protected supply. Use of a RCD reduces the risk of electric shock.
PERSONAL SAFETY
- Stay alert, watch what you are doing and use common sense when operating a power tool. Do not use a power tool while you are tired or under the influence of drugs, alcohol or medication. A moment of inattention while operating power tools may result in serious personal injury.
- Use personal protective equipment. Always wear eye protection. Protective equipment such as a dust mask, non-skid safety shoes, hard hat or hearing protection used for appropriate conditions will reduce personal injuries.
- Prevent unintentional starting. Ensure the switch is in the off-position before connecting to power source and/or battery pack, picking up or carrying the tool. Carrying power tools with your finger on the switch or energising power tools that have the switch on invites accidents.
- Remove any adjusting key or wrench before turning the power tool on. A wrench or a key left attached to a rotating part of the power tool may result in personal injury.
- Do not overreach. Keep proper footing and balance at all times. This enables better control of the power tool in unexpected situations.
- Dress properly. Do not wear loose clothing or jewellery. Keep your hair and clothing away from moving parts. Loose clothes, jewellery or long hair can be caught in moving parts.
- If devices are provided for the connection of dust extraction and collection facilities, ensure these are connected and properly used. Use of dust collection can reduce dust-related hazards.
- Do not let familiarity gained from frequent use of tools allow you to become complacent and ignore tool safety principles. A careless action can cause severe injury within a fraction of a second.
POWER TOOL USE AND CARE
- Do not force the power tool. Use the correct power tool for your application. The correct power tool will do the job better and safer at the rate for which it was designed.
- Do not use the power tool if the switch does not turn it on or off. Any power tool that cannot be controlled with the switch is dangerous and must be repaired.
- Disconnect the plug from the power source and/ or remove the battery pack, if detachable, from the power tool before making any adjustments, changing accessories, or storing power tools. Such preventive safety measures reduce the risk of starting the power tool accidentally.
- Store idle power tools out of the reach of children and do not allow persons unfamiliar with the power tool or these instructions to operate the power tool. Power tools are dangerous in the hands of untrained users.
- Maintain power tools and accessories. Check for misalignment or binding of moving parts, breakage of parts and any other condition that may affect the power tool’s operation. If damaged, have the power tool repaired before use. Many accidents are caused by poorly maintained power tools.
- Keep cutting tools sharp and clean. Properly maintained cutting tools with sharp cutting edges are less likely to bind and are easier to control.
- Use the power tool, accessories and tool bits etc. in accordance with these instructions, taking into account the working conditions and the work to be performed. Use of the power tool for operations different from those intended could result in a hazardous situation.
- Keep handles and grasping surfaces dry, clean and free from oil and grease. Slippery handles and grasping surfaces do not allow for safe handling and control of the tool in unexpected situations.
BATTERY TOOL USE AND CARE
- Recharge only with the charger specified by the manufacturer. A charger that is suitable for one type of battery pack may create a risk of fire when used with another battery pack.
- Use power tools only with specifically designated battery packs. Use of any other battery packs may create a risk of injury and fire.
- When battery pack is not in use, keep it away from other metal objects, like paper clips, coins, keys, nails, screws or other small metal objects, that can make a connection from one terminal to another. Shorting the battery terminals together may cause burns or a fire.
- Under abusive conditions, liquid may be ejected from the battery; avoid contact. If contact accidentally occurs, flush with water. If liquid contacts eyes, additionally seek medical help. Liquid ejected from the battery may cause irritation or burns.
- Do not use a battery pack or tool that is damaged or modified. Damaged or modified batteries may exhibit unpredictable behaviour resulting in fire, explosion or risk of injury.
- Do not expose a battery pack or tool to fire or excessive temperature. Exposure to fire or temperature above 130°C (265°F) may cause explosion.
- Follow all charging instructions and do not charge the battery pack or tool outside the temperature range specified in the instructions. Charging improperly or at temperatures outside the specified range may damage the battery and increase the risk of fire.
SERVICE
- Have your power tool serviced by a qualified repair person using only identical replacement parts. This will ensure that the safety of the power tool is maintained.
- Never service damaged battery packs. Service of battery packs should only be performed by the manufacturer or authorised service providers.
NAILER SAFETY WARNINGS
- Always assume that the tool contains fasteners. Careless handling of the nailer can result in unexpected firing of fasteners and personal injury.
- Do not point the tool towards yourself or anyone nearby. Unexpected triggering will discharge the fastener causing an injury.
- Do not actuate the tool unless the tool is placed firmly against the workpiece. If the tool is not in contact with the workpiece, the fastener may be deflected away from your target.
- Disconnect the tool from the power source when the fastener jams in the tool. While removing a jammed fastener, the nailer may be accidentally activated if it is plugged in.
- Use caution while removing a jammed fastener. The mechanism may be under compression and the fastener may be forcefully discharged while attempting to free a jammed condition.
- Do not use this nailer for fastening electrical cables. It is not designed for electric cable installation and may damage the insulation of electric cables thereby causing electric shock or fire hazards.
- Prior to each use, check workpiece contact and trigger for correct operation. Do not disassemble or clamp parts of the workpiece contact, trigger, or driving mechanism. This will cause unexpected actuation, resulting in serious injury.
- Do not engage in horseplay. The discharged fasteners are projectiles capable of causing serious injury.
- Do not remove, tamper with, or otherwise cause the tool operating controls to become inoperable. This will cause unexpected actuation, resulting in serious injury.
- Do not operate a tool if any portion of the tool operating controls is inoperable, disconnected, altered, or not working properly. This will cause unexpected actuation, resulting in serious injury.
- Always keep hands and body away from discharge area of the tool. Never attempt to clear a jammed workpiece contact by grasping the discharge area of the tool. Fasteners discharged from tool can cause serious injury if they contact hands or body.
- Do not drive fasteners close to the edge of the workpiece. Fasteners can slip off corners and edges or penetrate through thin material, making them projectiles capable of causing serious injury.
- Use the tool only for the intended purpose. Do not abuse the tool. Do not use as a hammer, stamp or engrave information onto parts, drop or impact the tool or otherwise apply excess force to the tool in use. Do not mount the tool to stands or modify it for stationary use.
- Always use common sense and be cautious when using tools. It is not possible to anticipate every situation that could result in a dangerous outcome. Do not use this tool if you do not understand these operating instructions or you feel the work is beyond your capability; contact MILWAUKEE® Tool or a trained professional for additional information or training.
- Maintain labels and nameplates. These carry important information. If unreadable or missing, contact a MILWAUKEE® service facility for a replacement.
Some dust created by power sanding, sawing, grinding, drilling, and other construction activities contains chemicals known to cause cancer, birth defects or other reproductive harm. Some examples of these chemicals are:
- lead from lead-based paint
- crystalline silica from bricks and cement and other masonry products, and
- arsenic and chromium from chemically-treated lumber.
Your risk from these exposures varies, depending on how often you do this type of work. To reduce your exposure to these chemicals: work in a well ventilated area, and work with approved safety equipment, such as those dust masks that are specially designed to filter out microscopic particles.
ADDITIONAL BATTERY SAFETY RULES
To reduce the risk of fire, personal injury, and product damage due to a short circuit, never immerse your tool, battery pack or charger in fluid or allow a fluid to flow inside them. Corrosive or conductive fluids, such as seawater, certain industrial chemicals, and bleach or bleach-containing products, etc., can cause a short circuit.
Do not charge non-rechargeable batteries.
SPECIFICATIONS
Cat. No. …………………………………….. M18 FN15GA
Volts…………………………………………………….18V DC
Battery Type ………………………………………….M18™
Charger Type…………………………………………M18™
Recommended Ambient
Operating Temperature ………………. -17°C to 51°C
Fastener Length ………………………. 32 mm – 63 mm
Collation Angle…………………………………………… 34°
Fastener Size (Diameter) ……………….15 Ga / 1.8 mm
Magazine Capacity ………………………………….110 nails
SYMBOLOGY
V Volts
⎓ Direct Current
Single Sequential Actuation
Contact (Bump) Actuation
Read Operator’s Manual
Wear Eye Protection
Regulatory Compliance Mark (RCM). This product meets applicable regulatory requirements.
Do not dispose of electric tools together with household waste material. Electric tools and electronic equipment that have reached the end of their life must be collected separately and returned to an environmentally compatible recycling facility.
FUNCTIONAL DESCRIPTION


1. Workpiece contact 7. Magazine
2. Jam latch 8. Pusher
3. Trigger 9. Pusher release lever
4. Handle 10. LED
5. Power/Actuation selection 11. Depth adjustment
6. Hook
ASSEMBLY
Recharge only with the charger specified for the battery. For specific charging instructions, read the operator’s manual supplied with your charger and battery.
Removing/Inserting the Battery
To remove the battery, push in the release buttons and pull the battery pack away from the tool.
Always lock the trigger or remove the battery pack Always lock the trigger or remove any time the tool is not in use.
To insert the battery, slide the pack into the body of the tool. Make sure it latches securely into place.
Only use accessories specifically recommended for this tool. Others may be hazardous.
Installing/Removing Fastener Strips
Always remove battery pack before changing or removing fasteners. Always wear safety goggles or glasses with side shields.
Keep fingers clear of fastener track of magazine.
Pusher could pinch fingers, causing injury.
To install fastener strips:
- Remove battery pack.
Always point the tool away from yourself and others when installing fasteners. Failure to do so could result in injury.- Slide the fastener strip into the nail slot and down toward the front of the tool. Be sure the point of the fasteners is pointed downward.
Use only recommended fasteners of the correct size, length, collation angle and head type as indicated on the tool’s nameplate. Other fasteners could result in tool malfunction, leading to injury. - Press and hold the pusher release lever and slide the pusher back past the end of the fastener strips.
- Continue to hold the pusher, but release the lever. Slowly slide the pusher forward until it rests against the fastener strip.
To remove fastener strips:
- Remove battery pack.
Always point the tool away from yourself and others when installing fasteners. Failure to do so could result in injury.- Press and hold the pusher release lever and slide the pusher towards the front of the tool. Release the pusher.
- Slide the nails back and out of the nail slot.
OPERATION
To reduce the risk of injury, always wear safety goggles or glasses with side shields. The operator and other people in the work area must wear eye protection in accordance with AS/NZS 1337.1.
Eye protection does not fit all operators in the same way. Make sure the eye protection chosen has side shields or provides protection from flying debris both from the front and sides.
To reduce the risk of injury to yourself and others, test the tool before beginning work each day according to the “Required Daily Testing” section.
Do not use the tool unless you thoroughly understand the actuation mode selected.
Remove battery pack and fasteners before leaving the work area, moving the tool to another location, or handing the tool to another person. Failure to do so could result in serious injury.
Do not use this tool for fastening electrical cables. It is not designed for electric cable installation and may damage the insulation of electric cables thereby causing electric shock or fire hazards.
NEVER wedge or hold back the workpiece contact mechanism during operation of the tool. Never attempt to clear a jammed workpiece contact by grasping the discharge area of the tool. Doing so could result in serious injury.
To avoid serious injury, do not attempt to prevent the recoil by holding the tool too firmly against the work. Keep face and body away from the tool. During normal use, the tool will recoil immediately after driving a fastener. This is a normal function of the tool. Restriction to the recoil can result in a second fastener being driven when the tool is in Contact Actuation mode. Grip the handle firmly, let the tool do the work, and do not place a second hand on top of the tool.
Power/Actuation Selection
1. Install battery pack.
2. Press and hold the Power button
to turn on the tool (the Power button’s green LED ring will light).
3. The Low Battery LED indicates when the battery level does not have sufficient charge to operate the tool.

- Actuation Indicator LED
- Power button
- Low Battery LED
- Actuation Indicator LED
4. Press and hold the MODE button to toggle between single sequential actuation mode and contact (bump) actuation mode.
Understand actuation process before use.
Single Sequential Actuation –
The workpiece contact and then the trigger must be activated in a specific sequence to drive a fastener.
Contact (Bump) Actuation –
The workpiece contact and the trigger can be activated in any sequence to drive a fastener.
5. Press and hold the Power button
to turn off the tool.
Temperature Protection Mode
When the tool is turned on at extreme Cold/Hot temperature ranges (nearing -20°C (-4°F) and/or 70°C (158°F) the tool will enter temperature protection mode to avoid damage to the tool. The tool will not function in this mode and the Power button and both Actuation Indicator LEDs will alternate flashing. Once the temperature is suitable, the tool and LEDs will return to normal operation.
Single Sequential Actuation Operation
- Grip the handle firmly.
- Push the tool against the work surface, compressing the workpiece contact.
- Pull the trigger to drive the fastener.
To avoid serious injury, do not attempt to prevent the recoil by holding the tool too firmly against the work. - Remove your finger from the trigger and remove the tool from the workpiece.
Contact (Bump) Actuation Operation
Contact Actuation can follow two different sequences, depending on your use.
Multiple actuations:
- Grip the handle firmly.
- Pull and hold the trigger.
- Push the tool against the work surface, compressing the workpiece contact to drive the fastener.
To avoid serious injury, do not attempt to prevent the recoil by holding the tool too firmly against the work. - Continue to hold the trigger and repeat workpiece contact.
Single actuation:
- Grip the handle firmly.
- Push the tool against the work surface, compressing the workpiece contact.
- Pull the trigger to drive the fastener.
To avoid serious injury, do not attempt to prevent the recoil by holding the tool too firmly against the work. - Remove your finger from the trigger and remove the tool from the workpiece.
Reload Indicator
To indicate that the magazine is almost empty of fasteners (about 4-5 left), the workpiece contact will not compress, preventing operation under usual pressure. Install more fasteners to continue working.
NEVER wedge or hold back the workpiece contact mechanism during operation of the tool. Never attempt to clear a jammed workpiece contact by grasping the discharge area of the tool. Doing so could result in serious injury.
To avoid serious injury, do not attempt to prevent the recoil by holding the tool too firmly against the work. Keep face and body away from the tool. During normal use, the tool will recoil immediately after driving a fastener. This is a normal function of the tool. Restriction to the recoil can result in a second fastener being driven when the tool is in Contact Actuation mode. Grip the handle firmly, let the tool do the work, and do not place a second hand on top of the tool.
Setting the Depth of Drive
The depth of drive can be adjusted to account for the size of the fastener and the workpiece material.
Know what is behind your workpiece. A fastener could travel through the workpiece and out the other side, striking a bystander and causing serious injury. Lower the depth of drive to prevent the fastener from being pushed all the way through the workpiece.

- Drive a test fastener.
- Remove battery pack.
Always point the tool away from yourself and others when making adjustments. Failure to do so could result in injury.- Turn the depth selector left or right to increase or decrease the driving depth.
- Repeat until desired depth is reached.
Clearing a Jammed Fastener
Most jams are caused by a fastener or part of a fastener wedging between the driver blade and the nail guide. Fastener strips with an incorrect collation angle or the wrong fastener gauge may cause continuous jamming. To clear the jam:
- Remove battery pack.
Always point the tool away from yourself and others when installing or removing fasteners. Failure to do so could result in injury. Failure to do so could result in injury.- Remove fastener strip from magazine.
- Pull down on the jam latch and pull away from the tool.
- Remove the fastener and other debris (use needle-nose pliers if necessary).
- Close jam latch.
- Follow the steps under “Required Daily Testing” before restarting the work.


JAM LATCH CLOSED JAM LATCH OPEN
- Striker
- Jam Latch
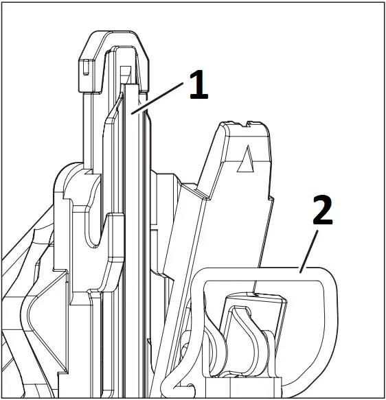
Retracting a Dropped Striker
If the striker becomes “dropped” and does not retract after an operation:
1. Remove battery pack.
2. Remove all fasteners.
3. Reinsert battery pack.
4. Turn tool ON.
5. Pull back the pusher and hold (1).
6. Press the workpiece contact bracket against a workpiece (2).
7. Pull the trigger (3).

8. The striker will retract.
9. Reload fasteners according to “Installing/Removing Fastener Strips.”
REQUIRED DAILY TESTING
To reduce the risk of injury to yourself and others, test the tool before beginning work each day or if the tool is dropped, received a sharp blow, been run over, etc. Complete the following checklist IN ORDER. If the tool does not work as it should, contact a MILWAUKEE® service facility immediately.
Always point tool away from yourself and others.
- Remove battery pack.
Always point the tool away from yourself and others when installing or removing fasteners. Failure to do so could result in injury. Failure to do so could result in injury.- Check all screws, bolts, nuts, and pins on the tool. Any loose fasteners must be tightened.
- Pull back the fastener pusher on the magazine (to override the Reload Indicator) and press the workpiece contact against a workpiece. It must move smoothly.
- With the workpiece contact pressed against the workpiece, pull the trigger. It must move smoothly.
- Insert battery pack.
- Select the Single Sequential Actuation Operation. Without pulling the trigger, pull back the fastener pusher on the magazine (to override the Reload Indicator) and press the workpiece contact against a workpiece. The tool must not operate.
Holding the workpiece contact away from the work- piece, pull back the fastener pusher on the magazine (to override the Reload Indicator). Pull and hold the trigger for 5 seconds. The tool must not operate.
Continue to pull and hold the trigger and push the workpiece contact against a workpiece. The tool must not operate.
Without pulling the trigger, pull back the fastener pusher on the magazine (to override the Reload Indicator) and press the workpiece contact against a workpiece. Pull the trigger. The tool must operate.
Release the trigger. The driver must move up. - Select the Contact Actuation Operation.
Holding the workpiece contact away from the workpiece, pull back the fastener pusher on the magazine (to override the Reload Indicator) and pull the trigger. The tool must not operate.
Continue to pull and hold the trigger and push the workpiece contact against a workpiece. The tool must operate. - If all previous tests work properly, set the tool for your work. Select the operation and load fastener strips.
- Set the depth of drive according to the “Setting the Depth of Drive” section.
- If all tests operate properly, the tool is ready for use. Repeat these tests before use each day or if the tool is dropped, received a sharp blow, been run over, jammed, etc.
MAINTENANCE
To reduce the risk of injury, always unplug the charger and remove the battery pack from the charger or tool before performing any maintenance. Never disassemble the tool, battery pack or charger. Contact a MILWAUKEE® service facility for ALL repairs.
Maintaining Tool
Keep your tool, battery pack and charger in good repair by adopting a regular maintenance program. Inspect your tool for issues such as undue noise, misalignment or binding of moving parts, breakage of parts, or any other condition that may affect the tool operation. Return the tool, battery pack, and charger to a MILWAUKEE® service facility for repair. After six months to one year, depending on use, return the tool, battery pack and charger to a MILWAUKEE® service facility for inspection.
If the tool does not start or operate at full power with a fully charged battery pack, clean the contacts on the battery pack. If the tool still does not work properly, return the tool, charger and battery pack, to a MILWAUKEE® service facility for repairs.
To reduce the risk of personal injury and damage, never immerse your tool, battery pack or charger in liquid or allow a liquid to flow inside them.
Cleaning
Clean dust and debris from any vents. Keep tool clean, dry and free of oil or grease. Use only mild soap and a damp cloth to clean, since certain cleaning agents and solvents are harmful to plastics and other insulated parts. Some of these include gasoline, turpentine, lacquer thinner, paint thinner, chlorinated cleaning solvents, ammonia and household deter gents containing ammonia. Never use flammable or combustible solvents around tools.
Repairs
For repairs, return the tool, battery pack and charger to the nearest authorised service centre.
ACCESSORIES
Use only recommended accessories. Others may be hazardous.
For a complete listing of accessories, go online to milwaukeetool.com.au/milwaukeetool.co.nz or contact a distributor.
WARRANTY – AUSTRALIA and NEW ZEALAND
Please refer to Australian and New Zealand warranty supplied with tool. This warranty applies only to product sold by authorised dealers in Australia and New Zealand.
SERVICE – AUSTRALIA and NEW ZEALAND
MILWAUKEE® prides itself in producing a premium quality product that is Nothing But Heavy Duty™. Your satisfaction with our products is very important to us! If you encounter any problems with the operation of this tool, please contact your authorised MILWAUKEE® dealer.
For a list of MILWAUKEE® dealers, guarantee or service agents please contact MILWAUKEE® Customer Service or visit our website.
(Australia Toll Free Telephone Number 1300 645 928)
(New Zealand Toll Free Telephone Number 0800 645 928)
or visit milwaukeetool.com.au/milwaukeetool.co.nz.
Milwaukee Electric Tool Corporation
13135 West Lisbon Road, Brookfield, Wisconsin U.S.A. 53005
Milwaukee Tool (Australia)
21 Kelletts Road, Rowville, VIC 3178
Melbourne, Australia
Milwaukee Tool (New Zealand)
274 Church Street, Penrose,
Auckland, 1061, New Zealand
DESIGNED BY MILWAUKEE ELECTRIC TOOL CORP.
PROFESSIONALLY MADE IN CHINA
PRINTED IN CHINA
961014124-01A



















