SENCO SLP20XP 18 Gauge Brad Nailer

EMPLOYER’S RESPONSIBILITIES
It is the employer’s responsibility to assure this manual is read and understood by all personnel assigned to use the tool. Keep this manual available for future reference. Risk assessment and implementation of appropriate controls for all hazards are essential.
WORKPLACE HAZARDS
The following apply:
- Slips, trips and falls are major causes of workplace injury. Be aware of slippery surfaces caused by use of the tool and also of trip hazards caused by the airline hose.
- Proceed with additional care in unfamiliar surroundings. Hidden hazards may exist, such as electricity or other utility lines.
- This tool is not intended for use in potentially explosive atmospheres and is not insulated from coming into contact with electric power.
- Make sure there are no electrical cables, gas pipes etc. that could cause a hazard if damaged by use of the tool.
DUST AND EXHAUST HAZARDS
If the tool is used in an area where there is static dust, it may disturb the dust and cause a hazard.
The following apply:
- Risk assessment should include dust created by the use of the tool and the potential for disturbing existing dust.
- Direct the exhaust so as to minimize disturbance of dust in a dust filled environment.
- Where dust or exhaust hazards are created, the priority shall be to control them at the point of emission.
GENERAL DESCRIPTION
- Hand-held power fastener driving tool consisting of a pneumatic power unit, guide body and magazine in which energy is applied in a linear movement to a loaded fastener for the purpose of driving the fastener into defined materials unless using a specialized fastener intended for use in concrete or steel.
- Any other use is forbidden.
WARNINGS
Tools with symbol shall only be used for production applications. Any other use is forbidden.
- Do not rest your finger on the trigger when picking up the tool, moving between operating areas and positions or walking, as resting finger on trigger can lead to inadvertent opera- tion. For tools with selective actuation, always check the tool before use to ascertain the correct mode is selected.
- This tool has either selective actuation for contact actuation or continuous contact actuation by actuation mode selectors or is a contact actuation or continuous actuation contact tool and has been marked with the symbol above. Its intended uses are for production applications such as pallets, furniture, manufactured housing, upholstery and sheathing.
- If using this tool in selective actuation mode, always ensure it is in the correct actuation setting.
- Do not use this tool in contact actuation for applications such as closing boxes or crates and fitting transportation safety systems on trailers and lorries.
- Be careful when changing from one driving location to another.

- Read and understand these warnings to prevent injuries to yourself and bystanders. Refer to tool use, maintenance and troubleshooting sections for additional information.
- Failure to follow warnings could result in serious injury.
- Do not discard.
- Operators and others in work area shall wear impact-resistant eye protection with side shields. Failure to do so can cause serious injury. CE equivalent to EN166

- Always wear other personal protective equipment such as hearing, gloves and hard hat.
- Only wear gloves that provide adequate feel and safe control of triggers and adjusting devises.

- Operators and others in work area shall wear hearing protection.
- Unprotected exposure to high noise levels can cause per-manent, disabling, hearing loss and other problems such as tinnitus (ringing, buzzing, whistling or humming in the ears).
- Appropriate controls to reduce the risk may include actions such as damping materials to prevent workpieces from
“ringing”. - Use appropriate hearing protection.
- Operate and maintain the tool as recommended in these instructions, to prevent an unnecessary increase in noise levels.
- If the tool has a silencer, always ensure it is in place.
- Exposure to vibration can cause disabling damage to the nerves and blood supply of the hands and arms.

- Wear warm clothing when working in cold conditions, keep your hands warm and dry.
- If you experience numbness, tingling, pain or whitening of the skin in your fingers or hands, seek medical advice from a qualified occupational health professional regarding overall activities.
- Operate and maintain the tool as recommended in these instructions, to prevent an unnecessary increase in vibration levels.
- Hold the tool with a light, but safe, grip because the risk from vibration is generally greater when the grip force is higher.
- Stay alert, watch what you are doing, and use common sense when operating a power tool. Do not use tool while tired or under the influence of drugs, alcohol, or medication. A moment of inattention while operating power tools may result in serious personal injury.
- Only use correct energy supply as directed

- Never use oxygen, carbon dioxide or any other bottled gas as a power source for this tool; the tool will explode and cause serious injury.
- Using oxygen or combustible gases for pneumatic tools creates a fire or explosion hazard.
- Always remove finger from trigger when not driving fasteners. Never carry the tool with finger on or under trigger. Tool will eject a fastener if the workpiece contact is bumped.
- Tool’s resting position is on its side disconnected from air.

- Resting position includes removing finger from trigger and positioning tool so that the workpiece contact is not actuated.
- Always assume the tool contains fasteners. Keep the tool pointed away from yourself and others. No horseplay. Respect the tool as a working implement.
- Keep hands and legs away from firing direction.
- Only skilled operators should use fastener driving tools.

- Drive fasteners into work surface only; never into materials too hard to penetrate.
- Addition downforce is required for steel and concrete tools.
- During operation, debris from from workpiece & collation system may be discharged.
- Ensure tool is always safely engaged on the workpiece and cannot slip.
- Tools equipped with “Contact Actuation” shall not be used:
- If a change of driving locations is effected via stairs, ladders or scaffolding.
- For closing boxes or crates.
- For fitting transportation safety systems.
- Moving platforms

- Read and understand risk associated with selective actuation in “Tool Use” Section.
- Do not force tool. Let the tool do the work. Use the correct tool for your application. The correct tool will do the job better and safer at the rate for which it is designed.
- Do not overeach
- Keep proper footing and balance at all times.
- Do not drive fasteners on top of other fasteners or with the tool at too steep of an angle.
- Fastener could deflect and cause injury.

- When using tool, care should be taken due to possibility of tool recoil after a fastener is driven.
If workpiece contact is unintentionally allowed to re-contact work surface following a recoil, an unwanted fastener will be driven. Therefore, allow tool to recoil completely off work surface after a fastener is driven to avoid this condition. Do not push workpiece contact on work surface until a second fastener is desired.
- Hold the tool correctly with a firm grasp and be prepared to counteract and manage normal or sudden movements such as recoil. Grip should be safe but appropriate to reduce vibration hazard which can cause serious injury.
- Maintain a balanced body position and secure footing.
- Be careful when using pneumatic tools as the tool becomes cold. This can affect grip and control.
- Do not drive fasteners close to the edge of the work surface.
- The fastener could deflect and cause injury.
- Keep bystanders away.
- Clearly mark off your operating area.
- Disconnect tool from air before doing tool maintenance, clearing a jammed fastener, making adjustments, leaving work area, moving tool to another location, or handing the tool to another person.
- Never use tool if workpiece contact, trigger or springs have become inoperable, missing or damaged. Do not tamper with or remove workpiece contact, trigger, or springs.
- Modifications may reduce the effectiveness of safety measures and increase risk to operator/bystanders.
- Do not use tool if tool has been damaged.
- Make sure all screws and caps are securely tightened at all times. Make daily inspections for free movement of trigger and workpiece contact. Never use the tool if parts are missing, worn or damaged.
- Always use second handle (if supplied)
- Use only parts, fasteners, lubricants and accessories recommended or sold by SENCO. Do not modify tool without authorization from SENCO.
- Use only clean, dry, regulated compressed air at recommended pressure.
- Always shut off air supply and disconnect tool when not in use.
- Tools shall not be connected to pressure which potentially exceeds maximum operating pressure by 10%.
- Do not exceed the maximum operating pressure Ps max.

- Tools marked with an inverted triangle may not be used unless fitted with an effective workpiece contact.
- Tools without workpiece contact can be fired unintentionally, causing injury.
- Stands for mounting tools to a support shall be designed and constructed by the stand manufacturer in such a way that the tool can be safely affixed for the intended use.
- The tool and air supply hose must have a connecting nipple such that all pressure is removed from the tool when the coupling joint is disconnected.

- Compressed air can cause severe injury.
- Always disconnect the tool from the compressed air supply before changing accessories, making adjustments and/or repairs or when moving away from an operating area to a different area.
- Never direct compressed air at yourself or anyone else
- Whipping hose can cause severe injury – always check for damaged or loose hose.
- Do not load fasteners with trigger or workpiece contact depressed.
- Do not use tool without danger label on tool. If label is missing, damaged or unreadable, contact your SENCO representative to obtain a new label.

- Never use a tool that leaks air or needs repair.
- Do not use if the tool is damaged.
- Never carry or drag a pneumatic tool by its hose.

- Do not perform any “emergency repairs” without proper tools and equipment.
- Always check tool before use for broken, misconnected, loose or worn parts.
Written approval of the tool manufacturer must be obtained prior to making any modifications to tool. - Keep hands and other body parts away from the area shown in the circle to avoid possible injury during operation.
- Keep fingers away from trigger when not operating the tool and when moving from one operating position to another.

| Tool | Loading | Unloading | Exhaust | Trigger Type | Depth of Drive Adjustment | Jam Clearing | Safety element | Lube |
| SN90CXP |
Rear Load (A1) |
Release the feeder shoe and slide it forward (B1) |
Adjustable (C1) |
Bottom fire (D2) |
Adjustable |
Via magazine |
Safety element |
Required |
| SN90FXP | ||||||||
| FramePro601 | ||||||||
| FramePro651 | ||||||||
| SN1602 | Front |
Single Sequential (D1) | ||||||
| SN1302 | ||||||||
| S900FN | Adjustable (C1) | |||||||
| SidingPro40 | Front | Bottom fire (D2) |
EZ-Clear Gate (F1) | |||||
| FinishPro42XP | Front | Single Sequential | Oil Free | |||||
| FinishPro16XP | Front- Push button integrated air duster | Selectable |
Required | |||||
| FinishPro30XP | Adjustable (C1) | Single Sequential (D1) | ||||||
| S250FN | Adjustable (C1) | |||||||
| FinishPro35Mg | Adjustable- Push button integrated air duster | Selectable | ||||||
| FinishPro35BL | Adjustable (C1) | Single Sequential (D1) | ||||||
| SLP20XP |
Side Load (A2) |
Push Latch and slide rail open (B2) | Front |
Single Sequential (D1) | None |
Via magazine | Oil Free | |
| SLP20XP GLN | Front | None | Oil Free | |||||
| SBN10XP | Rear (C2) | None | Required | |||||
| FinishPro25XP | Front |
Adjustable | Oil Free | |||||
| FinishPro18Mg | Rear (C2) | Bottom fire (D2) |
EZ-Clear Gate (F1) |
Required | ||||
| FinishPro18BL | ||||||||
| S200BN | Front |
Single Sequential (D1) | ||||||
| S200SM | ||||||||
| FinishPro23SXP |
Rear (C2) |
Via magazine |
None | |||||
| FinishPro23LXP | ||||||||
| FinishPro21LXP | ||||||||
| FinishPro10 | Bottom Load (A3) | Push Latch and slide rail open (B3) | Rear (C2) | |||||
| LS1XP | Front | None | Oil Free |
| Matrix Picture no. | Description | Image Notes |
| A1 | ![]() | Do not load with trigger depressed ① Connect air supply ② Insert Strip of nails – use only genuine SENCO fasteners |
| A2 | ![]() | Do not load with trigger depressed ① Connect air supply ② Insert Strip of nails – use only genuine SENCO fasteners |
| A3 | ![]() | Depress latch, Slide rail open Place strip of fasteners into magazine with points facing direction shown Do not load with trigger depressed then points 1 (depress Latch) and 2 (place strips) |
| B1 | ![]() | ① Release the feeder shoe and slide it forward. ② Remove fasteners from the tool |
| B2 | ![]() | Push Latch and slide rail open, remove fasteners |
| B3 | ![]() | Push Latch and slide rail open, remove fasteners |
| Matrix Picture no. | Description | Image Notes |
| C1 | ![]() | The deflector can be rotated to change the direction of the exhaust air |
| C2 | ![]() | The deflector can be rotated to change the direction of the exhaust air |
| D1 | ![]() | ① Press the workpiece contact (safety element) against the work surface� ② Pull the trigger and the fastener is driven. |
| D2 | ![]() | ① Pull trigger. ② Depress workpiece contact element against work surface and drive a fastener. Each time you push the workpiece contact (safety element) against the work surface, a fastener is driven. |
| F1 | ![]() | Release E-Z Clear latch and open door. |
TOOL ELEMENTS

MAINTENANCE
Warning
- Repairs other than those described here should be performed only by trained, qualified personnel. Contact SENCO for information at:
+ 31 320 295 575. - Read section titled “Safety Warnings” before maintaining tool.
- Only use spare parts specified by manufacturer or autho-rized representative.
- All screws should be kept tight. Loose screws result in unsafe operation and parts breakage.
- Check monthly _______________________________________________
- With tool disconnected, make daily inspection to assure free movement of workpiece contact and trigger. Do not use tool if workpiece contact or trigger sticks or binds.
- Squirt Senco pneumatic oil (5 to 10 drops) into the air inlet twice daily (depending on frequency of tool use). Other oils may damage O-rings and other tool parts.
- Some Senco tools are Oil Free and DO NOT require oil, Check label.
- Wipe tool clean daily and inspect for wear. Use non-flammable cleaning solutions only if necessary.
- Do Not Soak.
- Caution: Such solutions may damage O–rings and other tool parts.
- Dispose of cleaning materials properly.
TROUBLE SHOOTING

Should Staple Jam Occur: Disconnect Air Supply Remove Fasteners
Clear the Jam
Follow loading Procedure
- SYMPTOM
Air leak near top of tool. / Sluggish operation SOLUTION
Verify air supply / tighten screws or install Repair Kit – See Parts Manual - SYMPTOM
Air leak near bottom of tool / Poor return. SOLUTION
Clean tool / tighten screws or install Repair Kit See Parts Manual - SYMPTOM
Other problems.
SOLUTION
Contact SENCO.
TECHNICAL DATA
| Tool Type | Minimum to operating pressure | Air Consumption (60 cycles per minute) litr | Air Inlet | Maximum Speed (cycles per second) | Weight Kg | Nail Capacity | Tool size: Height mm | Tool size: Length mm | Tool size: Width: Main Body mm |
| XtremePro Series | |||||||||
| SLP20XP | 4,8-8,3 bar | 52,7 | 1/4 in NPT | 5 | 1,0 | 110 | 210 | 241 | 50 |
| SLP20XP GLN | 4,8-8,3 bar | 52,7 | 1/4 in NPT | 5 | 1,0 | 110 | 210 | 241 | 50 |
| SBN10XP | 4,5-7,0 bar | 19,0 | 1/4 in NPT | 2 | 0,96 | 105 | 167 | 255 | 42 |
| LS1XP | 4,8-7,5 bar | 23,1 | 1/4 in NPT | 5 | 1,3 | 100 | 197 | 211 | 51 |
| FinishPro25XP | 4,8-8,3 bar | 52,7 | 1/4 in NPT | 5 | 1,2 | 110 | 251 | 249 | 56 |
| FinishPro30XP | 4,8-8,3 bar | 61,0 | 1/4 in NPT | 5 | 1,73 | 104 | 244 | 305 | 83 |
| FinishPro42XP | 4,8-8,3 bar | 133,0 | 1/4 in NPT | 5 | 2,1 | 104 | 292 | 330 | 89 |
| SN90CXP | 4,8-8,3 bar | 283,2 | 3/8 in NPT | 2 | 3,62 | 70 | 337 | 384 | 106 |
| SN90FXP | 4,8-8,3 bar | 283,2 | 3/8 in NPT | 2 | 3,81 | 60 | 337 | 508 | 106 |
| FinishPro23SXP | 4.8-6.9 bar | 31,0 | 1/4 in NPT | 5 | 1,1 | 100 | 192 | 200 | 44 |
| FinishPro23LXP | 4,8-7.6 bar | 31,0 | 1/4 in NPT | 5 | 1,2 | 100 | 226 | 200 | 44 |
| FinishPro21LXP | 4,8-7.6 bar | 31,0 | 1/4 in NPT | 5 | 1,43 | 100 | 226 | 200 | 44 |
| Pro Series | |||||||||
| FinishPro10 | 4,8-6,5 bar | 21,6 | 1/4 in NPT | 2 | 1,1 | 110 | 168 | 229 | 44 |
| FinishPro18Mg | 4,8-8,3 bar | 68,0 | 1/4 in NPT | 5 | 1,1 | 110 | 247 | 266 | 64 |
| FinishPro16XP | 4,8-8,3 bar | 61,2 | 1/4 in NPT | 3 | 1,9 | 110 | 292 | 308 | 81 |
| FinishPro35Mg | 4,8-8,3 bar | 62,0 | 1/4 in NPT | 5 | 1,9 | 110 | 311 | 330 | 86 |
| FramePro601 | 4,8-8,3 bar | 283,2 | 3/8 in NPT | 2 | 3,62 | 70 | 337 | 384 | 106 |
| FramePro651 | 4,8-8,3 bar | 311,5 | 3/8 in NPT | 2 | 3,81 | 70 | 362 | 384 | 106 |
| SidingPro40 | 4,8-8,3 bar | 172,8 | 3/8 in NPT | 4 | 2,13 | 70 | 323 | 351 | 86 |
| SN1602 | 5,5-8,3 bar | 255,0 | 3/8 in NPT | 2 | 6,2 | 50-56 | 478 | 533 | 144 |
| SN1302 | 5,5-8,3 bar | 297,0 | 3/8 in NPT | 2 | 7,0 | 48-56 | 500 | 560 | 140 |
| SemiPro Series | |||||||||
| S200BN | 4,8-8,3 bar | 21,6 | 1/4 in NPT | 5 | 1,4 | 107 | 232 | 251 | 68 |
| S200SM | 4,8-8,3 bar | 88,3 | 1/4 in NPT | 5 | 1,43 | 85 | 252 | 240 | 68 |
| S250FN | 4,8-8,3 bar | 128,0 | 1/4 in NPT | 4 | 2,25 | 100 | 303 | 346 | 85 |
| S900FN | 4,8-8,3 bar | 273,8 | 3/8 in NPT | 2 | 4,2 | 80 | 380 | 500 | 154 |
| Black Label Series | |||||||||
| FinishPro35BL | 4,8-8,3 bar | 90,5 | 1/4 in NPT | 5 | 2,08 | 100 | 304 | 324 | 88,9 |
| FinishPro18BL | 4,8-8,3 bar | 50,97 | 1/4 in NPT | 3 | 1,4 | 100 | 248 | 254 | 64 |
| Tool Type | Nail Type in mm | ||||||||||||||||||||
| 0,68 | 0,84 | 1,2 | 1,6 | 1,8 | 2,3 | 2,9 | 3,1 | 3,3 | 3,8 | 4,2 | 4,6 | ||||||||||
| Reg Head | Slight Head | Head- less | Smooth | Ring | Smooth | Ring | Screw | Smooth | Ring | Screw | Smooth | Ring | Screw | Smooth | |||||||
| SN1602 | 100-160 | 100-160 | 100-160 | ||||||||||||||||||
| SN1302 | 90-130 | 90-130 | |||||||||||||||||||
| SN90CXP | 50-90 | 50-75 | 50-75 | 50-90 | 50-75 | 50-75 | 50-90 | 50-75 | 50-75 | 50-90 | |||||||||||
| SN90FXP | 50-90 | 50-75 | 50-75 | 50-90 | 50-75 | 50-75 | 50-90 | 50-75 | 50-75 | 50-90 | |||||||||||
| FramePro601 | 50-90 | 50-75 | 50-75 | 50-90 | 50-75 | 50-75 | 50-90 | 50-75 | 50-75 | 50-90 | |||||||||||
| FramePro651 | 50-100 | 50-100 | 50-100 | 50-100 | 50-100 | 50-100 | 50-100 | 50-100 | 50-100 | 50-100 | |||||||||||
| S900FN | 50-90 | 50-75 | 50-75 | 50-90 | 50-75 | 50-75 | 50-90 | ||||||||||||||
| SidingPro40 | 45-60 | 45-60 | |||||||||||||||||||
| FinishPro42XP | 32-63 | ||||||||||||||||||||
| FinishPro30XP | 25-50 | ||||||||||||||||||||
| FinishPro35Mg | 32-63 | ||||||||||||||||||||
| FinishPro35BL | 32-63 | ||||||||||||||||||||
| S250FN | 32-63 | ||||||||||||||||||||
| SLP20XP | 16-42 | ||||||||||||||||||||
| SLP20XP GLN | 16-42 | ||||||||||||||||||||
| FinishPro10 | 12-25 | ||||||||||||||||||||
| SBN10XP | 12-25 | ||||||||||||||||||||
| LS1XP | 13-25 | ||||||||||||||||||||
| FinishPro25XP | 16-54 | 16-42 | |||||||||||||||||||
| FinishPro18Mg | 16-54 | ||||||||||||||||||||
| FinishPro18BL | 16-54 | ||||||||||||||||||||
| S200BN | 16-50 | ||||||||||||||||||||
| FinishPro16XP | 32-63 | ||||||||||||||||||||
| S200SM | 15-50 | ||||||||||||||||||||
| FinishPro23SXP | 12-35 | ||||||||||||||||||||
| FinishPro23LXP | 12-50 | ||||||||||||||||||||
| FinishPro21LXP | 15-50 | ||||||||||||||||||||
NOISE INFORMATION
Noise Information in accordance with EN12549
These values are tool-related characteristic values and do not represent noise developed at the point of use. Workplace design can also serve to reduce noise levels, for example placing workpiece on sound-damping supports.
Vibration Information in accordance with ISO8662-11
This value is a tool-related characteristic value and does not represent the influence to the handarm-system when using the tool.
| Tool Type | Sound pressure level (Lpa) dB | Sound power level (Lwa) dB | Vibration level m/s2 |
| XtremePro Series | |||
| SLP20XP | 83 | 89 | 1.18 |
| SLP20XP GLN | 83 | 89 | 1.18 |
| SBN10XP | 78.6 | 87.77 | 1.7 |
| LS1XP | 84 | 89 | <2.5 |
| FinishPro25XP | 89 | 94 | <2.5 |
| FinishPro30XP | 85 | 98 | <2.5 |
| FinishPro42XP | 89 | 94 | <2.5 |
| SN90CXP | 96 | 101 | 4 |
| SN90FXP | 96 | 101 | 4 |
| FinishPro23SXP | 47.8 | 60.8 | 1.63 |
| FinishPro23LXP | 47.8 | 60.8 | 1.63 |
| FinishPro21LXP | 47.8 | 60.8 | 1.63 |
| Pro Series | |||
| FinishPro10 | 81 | 86 | <2.5 |
| FinishPro18Mg | 68 | 78.8 | <2.5 |
| FinishPro16XP | 93.7 | 106.7 | <2,5 |
| FinishPro35Mg | 87.6 | 93.2 | 2.9 |
| FramePro601 | 96 | 101 | 3.7 |
| FramePro651 | 97 | 101 | 3.67 |
| SidingPro40 | 84 | 97 | 2.6 |
| SN1602 | 95.9 | 132 | 8.3 |
| SN1302 | 93 | 106 | 4 |
| SemiPro Series | |||
| S200BN | 91 | 104 | <2.5 |
| S200SM | 91 | 104 | <2.5 |
| S250FN | 91 | 104 | <2.5 |
| S900FN | 85 | 90 | 2.5 |
| Black Label Series | |||
| FinishPro35BL | 87,6 | 93,2 | 2,9 |
| FinishPro18BL | 68 | 78,8 | <2.5 |
ACCESSORIES
SENCO offers a full line of accessories for your SENCO tools, including:
- Air Compressors
- Hose
- Couplers
- Fittings
- Safety Glasses
- Pressure Gauges
- Lubricants
- Regulators
- Filters
For more information or a complete illustrated catalogue of SENCO accessories, visit SENCO.EU.
Introduction
Congratulations on the purchase of your new SENCO® Air Compressor! You can be assured your SENCO Air Compressor was constructed with the highest level of precision and accuracy. Each component has been rigorously tested by technicians to ensure the quality, endurance and performance of this air compressor.
This operator’s manual was compiled for your benefit. By reading and following the simple safety, installation and operation, and maintenance steps described in this manual, you will receive years of troublefree operation from your new SENCO Air Compressor. The contents of this manual are based on the latest product information available at the time of publication. The manufacturer reserves the right to make changes in price, color, materials equipment, specifications or models at any time without notice.
Safety Alert!
A “DANGER, WARNING or CAUTION” safety warning will be surrounded by a “SAFETY ALERT BOX.” This box is used to designate and emphasize Safety Warnings that must be followed when operating this air compressor. Accompanying the safety warnings are “Signal Words” which designate the degree or level of hazard seriousness. The “Signal Words” used in this manual are as follows:
- DANGER: Indicates an imminently hazardous situation which, if not avoided, WILL result in death or serious injury.
- WARNING: Indicates an imminently hazardous situation which, if not avoided, COULD result in death or serious injury.
- CAUTION: Indicates an imminently hazardous situation which, if not avoided MAY result in minor or moderate injury or damage to the air compressor.
The symbols set to the left of this paragraph are “Safety Alert Symbols.” These symbols are used to call attention to items or procedures that could be dangerous to you or other persons using this equipment.
ALWAYS PROVIDE A COPY OF THIS MANUAL TO ANYONE USING THIS EQUIPMENT. READ ALL INSTRUCTIONS IN THIS MANUAL AND ANY INSTRUCTIONS SUPPLIED BY MANUFACTURERS OF SUPPORTING EQUIPMENT BEFORE OPERATING THIS AIR COMPRESSOR AND ESPECIALLY POINT OUT THE “SAFETY WARNINGS” TO PREVENT THE POSSIBILITY OF PERSONAL INJURY TO THE OPERATOR.
Inspection
Unbox the air compressor and write in the serial number in the space provided below. Inspect for signs of obvious or concealed freight damage. Be sure that all damaged parts are replaced and any mechanical problems are corrected prior to the operation of the air compressor.
SERIAL NUMBER__________________________________________
If you have Questions or Comments call SENCO’s toll-free Action-line: 1-800-543-4596 or, e-mail: [email protected]
Please have the following information available for all service calls:
- Model Number
- Serial Number
- Date and Place of Purchase
Senco, 4270 Ivy Pointe Blvd., Cincinnati, OH 45245
Safety Warnings
Read All Safety Warnings Before Using Air Compressor
| Hazard | Potential Consequence | Prevention |
![]() Risk of Electric Shock or Electrocution | · Serious injury or death could occur if the air compressor is not properly grounded. Your air compressor is powered by electricity and may cause electric shock or electrocution if not used properly. | · Make sure the air compressor is plugged into a properly grounded outlet which provides correct voltage and adequate fuse protection. |
![]() | · Electrical shock may occur from electrical cord. | · Check power cord for signs of crushing, cutting or heat damage. Replace faulty cord before use. · Keep all connections dry and off the ground. Do not allow electrical cords to lay in water or in such a position where water could come in contact with them. Do not touch plug with wet hands. |
| · Do not pull on the electrical cord to disconnect from the outlet. | ||
| · Electrical shock may occur if air compressor is not operated properly. | · Never operate air compressor in wet conditions or outdoors when it is raining. · Never operate air compressor with safety guards/covers removed or damaged. | |
| · Serious injury or death may occur if electrical repairs are attempted by unqualified persons. | · Any electrical wiring or repairs performed on this air compressor should be done by Authorized Service Personnel in accordance with National and Local electrical codes. | |
| · Before opening any electrical enclosure, always shut off the air compressor, relieve pressure and unplug the air compressor from the power source. Allow air compressor to cool down. Never assume the air compressor is safe to work on just because it is not operating. It could restart at any time! |
| Hazard | Potential Consequence | Prevention | |||
| Risk of Explosion or Fire
| · Serious injury or death may occur from normal electrical sparks in motor and pressure switch. | · Always operate air compressor in a well ventilated area free of flammable vapors, combustible dust, gases or other combustible materials. · If spraying flammable material, locate the air compressor at least 6 meters away from the spray area. (An additional hose may be required.) | |||
| · Serious injury may occur if any air compressor ventilation openings are restricted, causing the air compressor to overheat and start on fire. | · Never place objects against or on top of air compressor. Operate air compressor at least 30 cm away from any wall or obstruction that would restrict proper ventilation. | ||||
![]() | |||||
Risk of Bursting![]()
| · Serious injury or death may occur from an air tank explosion if air tanks are not properly maintained. | · Drain air tank daily or after each use to prevent moisture buildup in the air tank. · If air tank develops a leak, replace the air tank immediately. Never repair, weld or make modifications to the air tank or its attachments. · Never make adjustments to the factory set pressures. | |||
| · Serious injury may occur from an air compressor malfunction or exploding accessories if incorrect system components, attachments or accessories are used. | · Never exceed manufacturer’s maximum allowable pressure rating of attachments. · Because of extreme heat, do not use plastic pipe or lead tin soldered joints for a discharge line. · Never use air compressor to inflate small, low pressure objects such as toys. · All hoses and fittings shall be suitable for site use at the maximum allowable working pressure of the portable compressor. · Use only genuine SENCO® repair parts for your air compressor. | ||||
| Hazard | Potential Consequence | Prevention |
Risk to Breathing![]()
| · Serious injury or death could occur from inhaling compressed air. The air stream may contain carbon monoxide, toxic vapors or solid particles. | · Never inhale air from the air compressor either directly or from a breathing device connected to the air compressor. |
| · Sprayed materials such as paint, paint solvents, paint remover, insecticides, weed killers, etc. contain harmful vapors and poisons. | · Operate air compressor only in a well ventilated area. Follow all safety instructions provided with the materials you are spraying. Use of a respirator may be required when working with some materials. | |
| Risk of Burns
| · Serious injury could occur from touching exposed metal parts. These areas can remain hot for some time after the air compressor is shut down. | · Never allow any part of your body or other materials to make contact with any exposed metal parts on the air compressor, motor, or pipework. |
| Risk of Flying Objects
| · Soft tissue damage can occur from the compressed air stream. | · Always wear OSHA required “Z87” safety glasses to shield the eyes from flying debris. · Never point the air stream at any part of your body, anyone else or animals. · Never leave pressurized air compressor unattended. Shut off air compressor and relieve pressure before attempting maintenance, attaching tools or accessories. |
| Eye Protection Must Be Worn
| · Serious injury can occur from loose debris being propelled at a high speed from the compressed air stream. | · Always maintain a safe distance from people and animals while operating the air compressor. · Do not move the air compressor while air tank is under pressure. Do not attempt to move the air compressor by pulling on the hose. |
| Hazard | Potential Consequence | Prevention |
Risk from Moving Parts![]()
Warning: Unit May Start Without Warning
| · Risk of bodily injury from moving parts. This air compressor cycles automatically when the pressure switch is in the ON (1)/Auto position. | · Always turn off air compressor when not in use. Bleed pressure from the air hose and unplug from electrical outlet before performing maintenance. All repairs to the air compressor should be made by an Authorized Service person. Never assume the air compressor is safe to work on just because it is not operating. It could restart at any time! |
| · Risk of injury from negligent use. | · Do not operate without protective covers/guards. Replace damaged covers/guards before using the air compressor. | |
| Risk from Negligence
| · Never allow children or adolescents to operate this air compressor! · Stay alert — watch what you are doing. Do not operate the air compressor when fatigued or under the influence of alcohol or drugs. · Know how to stop the air compressor. Be thoroughly familiar with controls. | |
| Risk of Air Compressor Damage | · Risk of major repair. | · Do not operate air compressor without an air filter. · Do not operate air compressor in a corrosive environment. · Do not incline the air compressor transversly or longitudinally more than 10°. · Always operate the air compressor in a stable, secure position to prevent air compressor from falling. · Follow all maintenance instructions listed in this manual. |
Compressor Features

| 1. | Motor/Pressure Switch |
| 2. | Thermal Overload / Reset |
| 3. | Air Intake Filter |
| 4. | Air Compressor Pump |
| 5. | Safety Relief Valve |
| 6. | Air Tank Drain Valve |
| 7. | Tank Pressure Gauge |
| 8. | Outlet Pressure Gauge |
| 9. | Pressure Regulator |
| 10. | Discharge Line |
| 11. | Electric Power Cord |
| 12. | Ventilation Openings / Protective Shroud |
| 13. | Quick Disconnect |
- Motor/Pressure Switch: This switch is used to start or stop the air compressor. Moving the switch to the ON (1) position will provide automatic power to the pressure switch which will allow the motor to start when the air tank pressure is below the factory set cut-in pressure. When in the ON (1) position, the pressure switch stops the motor when the air tank pressure reaches the factory set cut-out pressure. For safety purposes, this switch also has a pressure release valve located on the side of the switch designed to automatically release compressed air from the air compressor pump head and its discharge line when the air compressor reaches cut-out pressure or is shut off. This allows the motor to restart freely. Moving the switch to the OFF (0) position will remove power from the pressure switch and stop the air compressor.
- Motor Thermal Overload: Motor has a protective breaker located on the pump. Excessive amperage draw will result in the breaker tripping to protect the motor and operator. Reset the breaker by pushing the black plastic stem back into the housing. Reset switch if it is tripped.
- Air Intake Filter: This filter is designed to clean air coming into the pump. To ensure the pump continually receives a clean, cool, dry air supply, this filter must always be clean and ventilation opening free from obstructions. The filter can be removed for cleaning by using warm, soapy water. Rinse the filter and air dry.

- Air Compressor Pump: To compress air, the piston moves up and down in the cylinder. On the downstroke, air is drawn in through the air intake valve while the exhaust valve remains closed. On the upstroke, air is compressed, the intake valve closes and compressed air is forced out through the exhaust valve, into the discharge line, through the check valve and into the air tank.
- Safety Relief Valve: This valve is designed to prevent system failures by relieving pressure from the system when the compressed air reaches a predetermined level. The valve is preset by the manufacturer and must not be modified in any way. To verify the valve is working properly, pull on the ring. Air pressure should escape. When the ring is released, it will reseat.
- Air Tank Drain Valve: The drain valve is used to remove moisture from the air tank(s) after the air compressor is shut off. NEVER attempt to open the drain valve when more than 0.7 bar of air pressure is in the air tank! To open the drain valve, turn the knob counter-clockwise. Tilt tank to ensure that all condensation drains through valve.
- Air Tank Pressure Gauge: The air tank pressure gauge indicates the reserve air pressure in the air tank(s).
- Outlet Pressure Gauge: The outlet pressure gauge indicates the air pressure available at the outlet side of the regulator. This pressure is controlled by the regulator and is always less or equal to the air tank pressure.

- Pressure Regulator: The air pressure coming from the air tank is controlled by the regulator knob. Turn the pressure regulation knob clockwise to increase discharge pressure, and counter-clockwise to decrease discharge pressure. Follow tool operating instructions for recommended pressure range.
- Discharge Line: Please note that the discharge line is very hot. HOT SURFACES: Do not remove protective shroud. High temperature after sustained use.
Preparation
Initial Set-Up
Read safety warnings before setting-up air compressor.
Location
Caution In order to avoid damaging the air compressor, do not incline the air compressor transversely or longitudinally more than 10º.
- Place air compressor at least 30 cm away from obstacles that may prevent proper ventilation. Do not place air compressor in an area:
- Where there is evidence of oil or gas leaks.
- Where flammable gas vapors or materials may be present.
Serious injury or death may occur if electrical sparks from motor and pressure switch come in contact with flammable vapors, combustible dust, gases or other combustible materials. When using the air compressor for spray painting, place the air compressor as far away f rom the work area as possible, using extra air hoses instead of extension cords.
- Where air temperatures fall below 0°C or exceed 40°C.
- Where extremely dirty air or water could be drawn into the air compressor.
Electrical
Danger Improper connection of the equipment-grounding conductor can result in a risk of shock or electrocution. Check with a qualified electrician or service personnel if you are in doubt as to whether the outlet is properly grounded. Do not use any type of adapter with this product. If repair or replacement of the cord or plug is necessary, do not connect the grounding wire to either flat blade terminal. The wire with insulation having an outer surface that is green with or without yellow stripes is the grounding wire.
Warning This product must be grounded. If there should be a malfunction or breakdown, grounding provides a path of least resistance for electric current to reduce the risk of electric shock. This product is equipped with a cord having an equipment grounding conductor and a grounding type plug. The plug must be plugged into an appropriate outlet that is properly installed and grounded in accordance with all local codes and ordinances.
- SENCO® DOES NOT RECOMMEND THE USE OF EXTENSION CORDS as this can create power loss and overheating of the motor. Use of an additional air hose is recommended rather than an extension cord. If use of an extension cord is unavoidable, it should be plugged into a GFCI found in circuit boxes or protected receptacles. When using an extension cord, observe the following:
- Cable Length Wire Gauge
- Up to 8 meters 12 AWG
- Up to 30 meters 10 AWG
- Up to 50 meters 8 AWG
- Up to 75 meters 6 AWG
Use only extension cords having an electrical rating not less than the rating of the product. Do not use damaged extension cords. Examine extension cord before using and replace if damaged. Do not abuse extension cord and do not yank on any cord to disconnect. Keep cord away from heat and sharp edges. Always shut off the air compressor switch before removing the plug from the receptacle.
Operation
Pre-Start Checklist
- Remove any moisture in the air compressor tank. Remove excessive pressure by pulling on the safety relief valve ring or with an air tool, then open the air tank drain valve in the bottom of the air tank. Close tightly when drained.
Warning: Risk of bodily injury. NEVER attempt to open the drain valve when more than 0.7 bar of air pressure is in the air tank! - Make sure the air compressor Motor Switch is in the OFF (0) position.
- Make sure all safety valves are working correctly.
- Make sure all guards and covers are in place and securely mounted.
Start-Up
- Ensure the lever on the pressure switch box is in the OFF (0) position.
- Plug the power cord into the grounded outlet.
- Move the motor switch to the ON (1) position.
- This will allow the air compressor to Start building up pressure in the air tanks and Stop when correct pressure is achieved. When pressure drops with usage, the air compressor will Start building up pressure again.
- Set pressure by adjusting the pressure regulator knob counter-clockwise for less pressure and clockwise for more pressure.
- If you notice any unusual noise or vibration, stop the air compressor and refer to “Troubleshooting.”
Shutdown
- To stop the air compressor, move the lever on the motor switch to the OFF (0) position. NEVER stop the air compressor by unplugging it from the power source. This could result in risk of electrocution.
- Drain air from the air tank by releasing air with an attached air tool or by pulling on the safety relief valve ring.
- Once pressure in the air tanks register under 0.7 bar, open the drain valve under each air tank to drain any moisture.
- Allow the air compressor to cool down.
- Wipe air compressor clean and store in a safe, non-freezing area.
Maintenance
Read the instruction manual before performing maintenance. The following procedures must be performed when stopping the air compressor for maintenance or service.
- Turn off the air compressor.
Warning: Never assume the air compressor is safe to work on just because it is not operating. It could restart at any time! - Disconnect cord from main power supply.
- Open all drains.
- Wait for the air compressor to cool before starting service.
Maintenance Chart
| Procedure | Daily | Weekly | Monthly |
| Drain condensation in air tank(s) | X | ||
| Check for unusual noise/vibration | X | ||
| Check for air leaks | X | ||
| Inspect air filter | X | ||
| Clean exterior of compressor | X | ||
| Check safety relief valve | X |
| Troubleshooting | |
| Symptom 1. Motor will not run or restart. | |
| Probable Cause | Remedy |
| · Power cord not plugged in. | · Plug cord into grounded outlet. |
| · Motor/Pressure switch in OFF (0) position. | · Move switch to ON (1) position. |
| · Motor thermal overload switch has tripped. | · Turn air compressor off, wait until motor is cool, then check motor circuit breaker. |
| · Fuse blown or circuit breaker has tripped. | · Replace fuse or reset circuit breaker. · Check for proper fuse amperage. · Check for low voltage conditions. · Disconnect any other electrical appliances from circuit or operate air compressor on its own branch circuit. |
| · Wrong gauge wire or length of extension cord. | · Check chart on page 10 for proper gauge wire and cord length. |
| · Air tank pressure exceeds motor/pressure switch “cut-in” pressure. | · Motor will start automatically when air tank pressure drops below “cut-in” pressure of motor/pressure switch. |
| · Pressure release valve on motor/pressure switch has not unloaded pump head pressure. | · Bleed the line by moving the switch to the OFF (0) position. |
| · Defective motor, motor capacitor, motor/pressure switch, or check valve. | · Contact Senco Customer Service. |
| Symptom 2. When in the ON (1) position, motor runs continuously. | |
| Probable Cause | Remedy |
| · Motor/Pressure switch does not shut off motor when air compressor reaches “cut-out” pressure and safety relief valve activates. | · Move the motor/pressure switch to the OFF (0) position. If the motor doesn’t shut off, unplug the air compressor. If the electrical contacts are welded together, replace the pressure switch. |
| · Air compressor is incorrectly sized. | · Limit the air pressure to the capacity of the air compressor. Either use a smaller tool or a larger air compressor. |
| Symptom 3. Air continues to leak at motor/pressure switch release valve after motor stops. | |
| Probable Cause | Remedy |
| · The check valve is stuck open. | · Remove, clean, or replace. |
| Symptom 4. Air continues to leak at motor/pressure switch release valve after motor is running. | |
| Probable Cause | Remedy |
| · Defective motor/pressure switch. | · Replace. |
| Symptom 5. Air leaks from safety relief valve. | |
| Probable Cause | Remedy |
| · Possible defective safety relief valve. | · Operate safety relief valve manually by pulling on ring. If it still leaks, it should be replaced. |
| · Excessive air tank pressure. | · Defective motor/pressure switch. Replace. |
| Troubleshooting | |
| Symptom 6. Air leaks at fittings. | |
| Probable Cause | Remedy |
| · Fittings are not tight enough. | · Tighten fittings where air can be heard escaping. Check fittings with soapy water solution. Do not overtighten. |
| Symptom 7. Air leak in air tank. | |
| Probable Cause | Remedy |
| · Defective or rusted air tank. | · Air tank must be replaced. Do not attempt to repair air tank! Do not weld, repair or make modifications. |
| Symptom 8. Air blowing from inlet filter. | |
| Probable Cause | Remedy |
| · Damaged inlet (reed) valve. | · Contact SENCO Customer Service. |
| Symptom 9. Insufficient pressure at air tool or accessory. | |
| Probable Cause | Remedy |
| · Pressure regulator knob not turned to high enough pressure or defective pressure regulator. | · Adjust pressure regulator knob to proper setting or replace. |
| · Restricted air intake filter. | · Clean. |
| · Air leaks. | · Check for leaks and repair. |
| · Air compressor is not large enough for air requirement. | · Check the accessory air requirement. If it is higher than the CFM or pressure supply of the air compressor, you need a larger air compressor. |
| Symptom 10. Air compressor not making enough air. | |
| Probable Cause | Remedy |
| · Restricted air intake filter. | · Clean. |
| · Defective (reed) valve. | · Drain air tank and measure pump up time. Compare to specifications. If lower, remove pump head and inspect valve plate, clean or replace. |
| Symptom 11. Moisture in discharge air. | |
| Probable Cause | Remedy |
| · Condensation in air tank caused by high level of atmospheric humidity or air compressor is not run long enough. | · Drain air tank after every use. Drain air tank more often in humid weather and use an air line filter. |

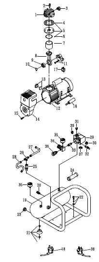
| Ref. No. | Description | Part No. | Qty. |
| 1 | Cylinder head | 3101063A | 1 |
| 2 | Allen bolt set | 3B01-M05*060V | 4 |
| 3 | Exhaust elbow | 2N06-01T02H | 1 |
| 4 | Cylinder head gasket | 2G01-025H | 1 |
| 5 | Exhaust valve assembly | 3B11-DC02A | 1 |
| 6 | Valve seat gasket | 2G03-018 | 1 |
| 7 | Cylinder | 3201068 | 1 |
| 8 | Rod assembly | 3B3-MB02 | 1 |
| 9 | Bearing | 2N35-6201ZZC3 | 1 |
| 10 | Clip | 2N42-S12 | 1 |
| 11 | Crankshaft & balancer | 3304086 | 1 |
| 12 | Motor set (230V) | 3B8-MB0206S | 1 |
| Motor set (110V) | 3B8-MB0210S | 1 | |
| 13 | Air filter set | 2140026 | 1 |
| 14 | Shroud | 2428015 | 1 |
| 15 | Bol t | 2B02-FM4*015B | 4 |
| 16 | Running capacitor (230V) | 2E27-004F4525 | 1 |
| Running capacitor (110V) | 2E27-016F2530 | 1 | |
| 17 | Circuit breaker (230V) | 2E25-01AS | 1 |
| Circuit breaker (110V) | 2E25-05A | 1 | |
| 18 | Power cable (2 Pin) | 2E01-029S | 1 |
| 19 | Air tank | 34011740 | 1 |
| 20 | Drain valve | 2405012 | 1 |
| 21 | Rubber pad set | 3433011-ARS | 4 |
| 22 | Hexagon bolt set | 3B00-FM06*012RS | 4 |
| 23 | Plug | 2N32-W07RS | 2 |
| 24 | Grip | 2432107 | 1 |
| 25 | Check valve | 2414033A | 1 |
| 26 | Unloading 3-way pipe | 2N09-02H01T02H4 | 1 |
| 27 | Unloading tube | 3B2-02*190F | 1 |
| 28 | Discharge tube | 2T02-02*0260RS | 1 |
| 29 | Pressure switch | 2E21-AA256BPS | 1 |
| 30 | Strain relief bushing | 2E04-008 | 2 |
| 31 | Plug | 2N33-009 | 1 |
| 32 | Pressure relief valve | 2406021A | 1 |
| 33 | Nipple | 2N01-058RS | 1 |
| 34 | Regulator | 2408008RNX | 1 |
| 35 | Pressure gauge | 2D12-15D14BAR | 2 |
| 36 | Quick coupler (PC1010EU only) | 07S1/4M-ERS | 1 |
| Quick coupler (For PC1010EU combo kit, PC1010S,6PR2001N) | 070S1/4M-C | 1 | |
| 37 | Unloading valve | 2409015 | 1 |
| 38 | Power cable(3Pin) | 2E01-044S | 1 |




















































