FLOMEC G2 1 Inch Stainless Steel Flow Meter

Please save these instructions for future reference. Read carefully before attempting to assemble, install, operate or maintain the product described.
Protect yourself and others by observing all safety information. Failure to comply with instructions could result in personal injury and/or property damage.
Please refer to back cover for information regarding this product’s warranty and other important information.
DO NOT RETURN THIS PRODUCT TO THE STORE!
Please contact Great Plains Industries, Inc.® before returning any product. If you are missing parts, or experience problems with your installation, contact our Customer Support Department.
We will be happy to assist you.
Call: 888-996-3837 or 316-686-7361
Email: [email protected]
SAVE FOR YOUR RECORDS
Model #: ______________________
Serial #: ______________________
Purch. Date: ___________________
BEFORE YOU BEGIN
Usage Requirements
- This 4-20mA module is not FM Approved. Therefore, use of this module with an approved metering system voids FM Approval.
- This 4-20mA module requires an input power of 8-32 volts DC (24 VDC is recommended).
- This 4-20mA module is designed for use with most* FLOMEC meters that are equipped with the Q9 display option. The 4-20mA module can be field calibrated through the configuration menu options on the Q9 display.
* FLOMEC QSE meters have their own 4-20mA module.
UNPACKING/INSPECTION
Inspect
- After unpacking the unit, inspect carefully for any damage that may have occurred during transit. Check for loose, missing or damaged parts. Shipping damage claims must be filed with carrier.
- See General Safety Instructions, and all Cautions, Warnings, and Dangers as shown.
SPECIFICATIONS
| Mechanical | |
| Housing material: | Nylon 6/6 |
| Strain relief: | Hubble PG7. Grip range (Cable Outside Diameter) 0.11 – 0.26 in. (2.8 – 6.6 mm) |
| Housing port thread: | Female 1/2-20 UNF-2B (Compatible with PG7) |
| Cable | Belden 9363 (22 AWG-3 conductor with drain wire and shield) |
| Cable length | 10 ft. (3m), provided |
| Operating Temperature | 0° to +140°F (-18° to +60°C) |
| Higher Process Fluid Temperatures Obtainable with G2 Stainless Steel Meters | When installed on G2 Stainless Steel Flowmeters, see Ambient and Fluid Temperature Limits graph on next page for higher process fluid temperature Limits. If wider process fluid temperature ranges are desired, reference information on FLOMEC® Remote Kits. |
| Storage temperature: | -40° to +180°F (-40° to +82°C) |
| Power: | |
| Type: | Loop powered |
| Voltage minimum: | 8 VDC |
| Voltage maximum: | 32 VDC |
| Isolated: | No |
| Primary Output (4-20mA): | |
| Type: | Loop |
| Minimum: | 4 mA |
| Maximum: | 25 mA |
| Scaled Pulse Output: | |
| Type: | Open Collector (NPN), Current Sinking |
| External Pull Up Voltage 1 | 8.0 to 26 VDC |
| Internal Pull Up Voltage 2 | 5.0 VDC |
- NOTE: Customer supplied external voltage with separate power supply and a minimum external pull up resistance of 820 ohms.
- NOTE: 5VDC supplied internal on the 4-20mA board, no external supply or pull up resistor required. Internal pull up is fixed at 100K ohm
AMBIENT AND FLUID TEMPERATURE LIMITS
NOTE: The upper limit of the “Useable Combination” area can be increased by 10°F (6°C) when lithium batteries are installed in the Q9 Display.
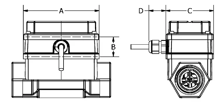
| Dimensions | Length (A) | Height (B) | Width (C) | Strain Relief (D) |
| 4-20mA Module | 3.45 in. (88 mm) | 0.90 in. (23 mm) | 2.18 in. (55 mm) | 0.86 in. (22 mm) |
Module shown installed on G2 1” stainless steel flowmeter
Figure 1
Note: This 4-20mA module is designed for use with most* FLOMEC meters that are equipped with the Q9 display option. The 4-20mA module can be field calibrated through the configuration menu options on the Q9 display.
*FLOMEC QSE meters have their own 4-20mA module.
APPROVAL RATINGS
INSTALLATION
Installing Module
NOTE: Factory installed 4-20mA modules will have the zero set to the meter’s minimum specified flow rate and the span will be set to the meter’s maximum specified flow rate.
- Remove the display electronics from the front of the turbine.
NOTE: If you are installing more than one module at a time, take care to keep the proper electronics paired with the original turbine.
NOTE: If your display currently has batteries installed, you will need to remove them to enable the 4-20mA and scaled pulse output to function. - Disconnect 2-pin coil connector from display. Make sure coil remains firmly attached to meter body (DO NOT pull on wires or attempt to remove from meter body).
- Connect the 4-20mA Module to the 10-pin connector located on the backside of the computer electronics (see Figure 2).
- Reconnect the coil connector to the 2-pin terminal block on the other end of the computer backside. Once the cables are installed on the display, the housing of the display can be placed on top of the 4-20mA module (see Figure 2).
- Install the computer electronics to the front side of the turbine. Tighten the four screws snugly.
Module shown installed on G2 1” stainless steel flowmeter
Figure 2
Wiring
The 4-20mA module comes pre-wired for external connections to external power and provides an open collector output, which can be set to either raw or scaled pulse output. The wires are color coded to connect as shown in Figures 3 & 4.
| Wire Color | Feature |
| Red | 4-20mA (+) |
| Black | 4-20mA (-) |
| White | Pulse Out (+) |
| Uninsulated | Pulse Out (-) |
NOTE: The 4-20mA board provides a pulse output on the White wire with the cable shield as the ground (return). This is set to raw pulse output as the default setting on the Q9 display. If your application requires a scaling of the pulse output, refer to the installation instructions to enable the scaled pulse feature and refer to the Q9 owner’s manual for instructions on the configuration of the scaled pulse feature.
NOTE: If using the scaled pulse output feature, use the scaled K-factor in the user interface device.
NOTE: The ground of the pulse output must be galvanically isolated from the 4-20mA loop ground (return).
Figure 3
NOTE: The internal and external options for the pull up resistance and voltage is selectable by the header on the 4-20mA board (see Figures 4a & 4b).
When the Jumper is on the top two pins, the “external resistor required” option is selected (Figure 4a). This external resistor can be installed as shown on Figure 3, but could also be built into the existing customer equipment.
When the Jumper is located on the bottom two pins, the “internal resistor” option is selected (Figure 4b). 
OPERATION / CALIBRATION
Adjusting ZERO and SPAN
To set or adjust ZERO and SPAN settings, refer to the Q9 Owner’s Manual (Non-Agency) Configuration Mode (Daughter Board Options) and Calibration Mode Section for further instructions.
NOTE: The Q9 Display controls the 4-20 mA settings. It is recommended to verify and set (if necessary) the most optimal Calibration Method of the Q9 Display (see Q9 Owner’s Manual referenced above) before adjusting 4-20mA settings.
You can download the Q9 Owner’s Manual (Non-Agency) here:
or visit flomecmeters.com to download owner’s manuals and other technical documents.
TROUBLESHOOTING
| Symptom | Possible Cause(s) | Corrective Action |
| 1. Supply correct power requirements. | |
| 2. Check owner’s manual for correct installation. | ||
| A. No output signal. | 3. Check resistance to determine location of break. 4. Contact distributor or factory for replacement | |
| 5. Contact distributor or factory for replacement. | ||
| 6. Remove batteries and cycle loop power. | ||
| 1. ZERO and SPAN not set correctly on the Q9 display. | 1. Check Q9 owner’s manual for instructions on how to set ZERO and SPAN for meter. | |
| B. Signal not between 4-20mA when fluid is flowing. | 2. 4-20 mA Module output signal “ZERO” and “SPAN” does NOT match customer’s recording device “ZERO” and “SPAN” settings. | 2. Reconfigure 4-20mA Module output signal “ZERO” and “SPAN” to match Customer’s recording device “ZERO” and “SPAN” (or vice versa). |
| 3. Q9 display calibration is NOT optimized for best results. | 3. Verify Q9 display value is giving correct flowrate. | |
| C. Scaled Pulse output not working or not shown in Q9 configuration options menu. | 1. Batteries being installed will disable the Scaled Pulse output feature. | 1. Remove batteries, cycle loop power and reconfigure the Scaled Pulse output feature on Q9 display. |
| D. Pulse output values are not giving accurate total volumes. | 1. Customer’s “pulse Input device” (pulses per unit of volume) does not match module pulse output (pulses per unit of volume). | 1. Reconfigure module pulse output (or customer’s “pulse input device”) to match in pulses per unit of volume (module output pulses per unit of volume = input pulses per unit of volume). |
| 2. Q9 display calibration is NOT optimized for best results. | 2. Verify Q9 display value is giving correct volume totals. | |
| E. Q9 display value not giving correct Flowrate. |
|
|
| F. Q9 display value not giving correct volume totals. |
|
|
PARTS LIST
| Part Number Description | |
| 901002-52 | Seal |
PARTS & SERVICE
For warranty consideration, parts, or other service information, please contact your local distributor. If you need further assistance, contact the GPI Product Support Department in Wichita, Kansas, during normal business hours.
A toll free number is provided for your convenience.
1-888-996-3837
To obtain prompt, efficient service, always be prepared with the following information:
- The model number of your meter.
- The serial number or manufacturing date code of your meter.
- Part descriptions and numbers.
For warranty work, always be prepared with your original sales slip or other evidence of purchase date.
IMPORTANT: Please contact GPI before returning any parts. It may be possible to diagnose the trouble and identify needed parts in a telephone call.
CAUTION: Do not return this product without prior approval from the GPI Product Support Department. Due to strict government regulations, GPI cannot accept parts unless they have been drained and cleaned.
WEEE DIRECTIVE
The Waste Electrical and Electronic Equipment (WEEE) directive (2002/96/EC) was approved by the European Parliament and the Council of the European Union in 2003. This symbol indicates that this product contains electrical and electronic equipment that may include batteries, printed circuit boards, liquid crystal displays or other components that may be subject to local disposal regulations at your location. Please understand those regulations and dispose of this product in a responsible manner.
FLOMEC® TWO-YEAR LIMITED WARRANTY
Great Plains Industries, Inc. 5252 E. 36th Street North, Wichita, KS USA 67220-3205, hereby provides a limited warranty against defects in material and workmanship on all products manufactured by Great Plains Industries, Inc. This product includes a 2-year warranty. Manufacturer’s sole obligation under the foregoing warranties will be limited to either, at Manufacturer’s option, replacing or repairing defective Goods (subject to limitations hereinafter provided) or refunding the purchase price for such Goods theretofore paid by the Buyer, and Buyer’s exclusive remedy for breach of any such warranties will be enforcement of such obligations of Manufacturer. The warranty shall extend to the purchaser of this product and to any person to whom such product is transferred during the warranty period.
The warranty period shall begin on the date of manufacture or on the date of purchase with an original sales receipt. This warranty shall not apply if:
- A. the product has been altered or modified outside the warrantor’s duly appointed representative;
- B. the product has been subjected to neglect, misuse, abuse or damage or has been installed or operated other than in accordance with the manufacturer’s operating instructions.
To make a claim against this warranty, or for technical assistance or repair, contact your FLOMEC distributor or contact FLOMEC at one of the locations below.
In North or South America contact
Great Plains Industries, Inc. 5252 East 36th St. North Wichita, KS 67220-3205
USA
888-996-3837
www.flomecmeters.com
(North America)
Outside North or South America contact
GPI Australia
(Trimec Industries Pty. Ltd.)
12/7-11 Parraweena Road
Caringbah NSW 2229
Australia
+61 02 9540 4433
www.flomec.com.au
The company will step you through a product troubleshooting process to determine appropriate corrective actions.
GREAT PLAINS INDUSTRIES, INC., EXCLUDES LIABILITY UNDER THIS WARRANTY FOR DIRECT, INDIRECT, INCIDENTAL AND CONSEQUENTIAL DAMAGES INCURRED IN THE USE OR LOSS OF USE OF THE PRODUCT WARRANTED HEREUNDER.
The company herewith expressly disclaims any warranty of merchantability or fitness for any particular purpose other than for which it was designed.
This warranty gives you specific rights and you may also have other rights which vary from U.S. state to U.S. state.
NOTE: In compliance with MAGNUSON MOSS CONSUMER WARRANTY ACT – Part 702 (governs the resale availability of the warranty terms).
© 2021 Great Plains Industries, Inc., All Rights Reserved. Great Plains Industries, Inc. / 888-996-3837 / flomecmeters.com


















