LUGB Vortex Flow Meter
User Manual 
Vortex Flowmeter Instruction
Vortex Flowmeter is on the principle of Karman street, to measure liquid, gas and vapour even turbid liquid including micro grain and impurity.
Applications: petroleum, chemical industry, paper making, metallurgy, electric force, environmental protection, food industry and etc.
Working Principle
LUGB & LUCB Vortex flowmeter work on the principle of generatedvortex and relation between vortex and flow by theory of Karman and Strouhal, which specialize in measurement of steam, gas and liquid of lower viscosity.
As shown in below illustration, medium flows through bluff body and then vortex is generated, vortices are alternately formed on both sides with opposite directions of rotation, Vortices frequency is directly proportional to medium velocity. Through numbers of vortices that is measured by sensor head,medium velocity is calculated, plus flowmeter diameter, final volumeflow come out. 
Computational formula as follows:
F=St*V/md ………………………………………………..Formula 1
Q=3600*F/K ………………………………………….Formula 2
M=Q*p ………………………………………………………..Formula 3
Among Formula:
- F Fluid flow through bluff body generate frequency of vortex ( Unit : Hz)
- St… Strouhal constant ( zero dimension )
- V Mean velocity of fluid inside the pipeline ( Unit : m/s)
- m The ratio between Lune Circulation area of bluff body at both sides and cross-sectional area ( Unit: zero dimension )
- d Upstream face width of bluff body inside vortex flowmeter ( Unit : m )
- D Inside diameter (ID) of vortex flowmeter ( Unit : m )
- Q Instantaneous volume flow ( Unit : m3 / h )
- K Instrument coefficient of vortex flowmeter ( Unit : pulses / m3 )
- M Instantaneous mass flow ( Unit : kg/ h ) Fluid density ( Unit : kg/ m3 )
Note: vortex flowmeter “K” coefficient is corresponding with one diameter, the exact “K” value should be calibrated in practice. Viz. one cubic meter fluid through sensor output numbers of pulse under working condition.
Technical Parameters
III. I Physical Parameters
Medium: liquid , gas ( including natural gas ), steam ( saturated steam and superheated steam )
Normal diameter LUGB Pipeline-version: DN10-DN500 LUCB insertion-version: DN200-DN2000
Accurate: LUGB Pipeline-version: 1.0% 1.5% (0.2% & 0.5% supply by negotiation)
LUCB insertion-version: 2.5% (1.0%&1.5% supply by negotiation)
REFERENCE FLOW RANGE AS PER BELOW DIAGRAMS.
Velocity scope of flow about intelligent digital filtering vortex flowmeter Liquid (0.30 m/s…10 m/s), Gas/steam (3.0 m/s…90 m/s)
Normal pressure:
LUGB pipeline-version wafer connection: DN10-DN500 ( priority PN2.5MPa )
LUGB pipeline-version flange connection: DN10-DN80 ( priority PN2.5MPa )
DN100-DN200 ( priority PN1.6MPa ) DN250-DN500 ( priority PN1.0MPa )
LUCB insertion-version attachment flange: DN200-DN2000 ( priority PN1.6MPa )
Note : wafer-version vortex flowmeter assemble made-to-order flanges, when flowmeter leave factory including companion flanges. We are able to provide GB/T9119-2000, ANSI/ASME, DIN. JIS. KS…. Standard flanges (GB-China standard priority), pressure class recommend priority level.
Medium temperature LUGB pipeline-version: -40°C – +160°C +420°C -40°C – +280°C-40°C – +350°C-40°C-
LUCB insertion-version:-40°C – +160°C -40°C- +200°C
Ambient conditions:
Ambient temperature: -20t-+60t(normal ); -20t- +40r(explosion-proof ) Relative humidity (RH): 5% – 95%RH
Atmospheric Pressure: 86kPa -106kPa
Electrical Interface: M20*1.5 internal thread (priority). Protection level : IP65 (IP67, IP68 supply by negotiation)
Explosion-proof class: Intrinsic safety Exia II CT4; Exib II CT4;Flame-proof Exd II CT6
Main body material: stainless steel (other material supply by negotiation) Pressure lose: AP,c.1.2 PI V2 (AP unit is Pa,P unit is kg/m3, V unit is m /s)
Calibration method : all flowmeters should be calibrated in the way of lower reaches taking pressure before flowmeters leave factory.
III. I. I
LUGB and LUCB Vortex Flowmeter configuration & size
LUGB wafer connection vortex flowmeter: special companion flanges.
LUGB flange connection vortex flowmeter: see appendix 3 & 4 flanges size of configuration. we are able to provide GB (China); ANSI; DIN; JIS and etc.
LUCB insertion-version vortex flowmeter: flanges choose DN100 standard flange
Dimensions of vortex flowmeter as per fig2 and figl
LUGB and LUCB vortex flowmeter max configuration size fig. 1 (unit: mm)
| Items | H1′ | H1b | Hi` | D1 | L1 | HT | HZ’ | HT | L2 |
| DN15 | 525 | 445 | 355 | 45 | 65 | 540 | 460 | 370 | 170 |
| DN20 | 531 | 451 | 361 | 58 | 65 | 545 | 465 | 375 | 170 |
| DN25 | 531 | 451 | 361 | 58 | 65 | 550 | 470 | 380 | 250 |
| DN32 | 531 | 451 | 361 | 58 | 65 | 563 | 483 | 393 | 250 |
| DN40 | 529 | 449 | 359 | 85 | 70 | 578 | 498 | 408 | 250 |
| DN50 | 541 | 461 | 371 | 99 | 70 | 590 | 510 | 420 | 250 |
| DN65 | 558 | 478 | 388 | 118 | 70 | 612 | 532 | 442 | 250 |
| DN80 | 573 | 493 | 403 | 132 | 70 | 625 | 545 | 455 | 280 |
| DN100 | 595 | 515 | 425 | 156 | 70 | 644 | 564 | 474 | 300 |
| DN125 | 621 | 541 | 451 | 184 | 70 | 674 | 594 | 504 | 350 |
| DN150 | 647 | 567 | 477 | 211 | 70 | 703 | 623 | 533 | 350 |
| DN200 | 705 | 625 | 535 | 266 | 98 | 757 | 677 | 587 | 400 |
| DN250 | 757 | 677 | 587 | 319 | 114 | 810 | 730 | 640 | 450 |
| Dn300 | 808 | 728 | 638 | 370 | 130 | 860 | 780 | 690 | 500 |
P.LUCB Insertion-Vortex Flowmeter ‘s Connection between amplifier and sensor
1.stop medium flow to dismantle
2.keep medium flow to dismantle
Q.The mode of wave filtering
1.common mode
2.Intelligent Digital filtering mode
R.LUCB Insertion-version Vortex flanges pressure class
1.PN1.6Mpa ( priority)
2.PN2.5MPa (pressure class >2.5 MPa supply by negotiation)
Attention: integrated P/T compensation Compact vortex apply in steam measurement, if designing drainage receiver configuration.Then Horizontal Installation is required. If vertical installation or leaning installation condensing drainage loop receiver is required.
Notes : each functions see appendix one.
III. I . II
LUGB pipeline-version vortex flowmeter measurable flow range (refer to Fig2-5)
Notes : when choose vortex flowmeter that keep medium flow with dismountable sensor head or vortex flowmeter with accuracy is ±0.5%, the lower limit of flow range is 1.5 times of corresponding value from fig 2-4, upper limit multiplied by 0.8 LUGB vortex flowmeter measurable liquid of different density corresponding with flow range under working condition fig. 2
| Liquid flow range | |||||||||||
| Density,(kg/m”) | 500 | 600 | 700 | 800 | 900 | 1000 | 1200 | 1400 | 1600 | 1800 | Qmax |
| DW | Different density liquid, the mini flow ate Qmin(Unit:m3/h) | Unit:r0h) | |||||||||
| DN15 | 0.66 | 0.55 | 0.52 | 0.41 | 0.4 | 0.39 | 0.33 | 0.31 | 0.29 | 0.26 | 4.5 |
| DN20 | 1.27 | 1.1 | 1.08 | 0.99 | 0.88 | 0.66 | 0.64 | 0.62 | 0.59 | 0.57 | 8 |
| DN25 | 1.43 | 1.32 | 1.21 | 1.16 | 1.1 | 0.99 | 0.9 | 0.84 | 0.78 | 0.75 | 12 |
| DN32 | 2.09 | 1.98 | 1.87 | 1.78 | 1.72 | 1.65 | 1.6 | 1.49 | 1.32 | 1.1 | 20 |
| DN40 | 3.85 | 3.52 | 3.3 | 3.08 | 2.86 | 2.51 | 2.42 | 2.31 | 2.2 | 2.09 | 32 |
| DN50 | 5.17 | 4.73 | 4.29 | 4.07 | 3.96 | 3.85 | 3.3 | 3.08 | 2.86 | 2.75 | 50 |
| DN65 | 7.81 | 7.15 | 6.93 | 6.82 | 6.71 | 6.6 | 5.5 | 4.95 | 4.62 | 4.4 | 84 |
| DN80 | 12.1 | 11 | 10.56 | 10.12 | 10.01 | 9.9 | 8.8 | 8.36 | 7.7 | 6.6 | 127 |
| DN100 | 22 | 19.8 | 18.7 | 17.6 | 16.5 | 15.4 | 14.3 | 13.2 | 11 | 9.9 | 198 |
| DN125 | 30.8 | 28.6 | 27.5 | 26.4 | 25.3 | 24.2 | 23.1 | 22 | 19.8 | 15.4 | 310 |
| DN150 | 57.2 | 55 | 49.5 | 46.2 | 39.6 | 35.2 | 33 | 30.8 | 28.6 | 22 | 445 |
| DN200 | 108.9 | 96.8 | 85.8 | 77 | 68.2 | 62.7 | 58.3 | 55 | 47.3 | 38.5 | 791 |
| DN250 | 202.4 | 181.5 | 165 | 143 | 121 | 97.9 | 88 | 79.2 | 74.8 | 60.5 | 1237 |
| DN300 | 275 | 242 | 220 | 198 | 176 | 140.8 | 132 | 121 | 107.8 | 84.7 | 1780 |
LUGB Vortex flowmeter measure gas of different density corresponding with flow range under standard condition fig.3
| gas flow range | |||||||||||||
| Density(kg/m’) | 0.5 | 0.8 | 1.2 | 2.4 | 3.6 | 4.8 | 6 | 7.2 | 8.4 | 9.6 | 12 | 20 | Omax |
| DW | Different density liquid, the mini flow rate Omin(Unit:m1/h) | (Unit:m’Iti) | |||||||||||
| Dn15 | 5.28 | 3.85 | 3.52 | 3.08 | 2.97 | 2.86 | 2.75 | 2.64 | 2.53 | 2.42 | 2.31 | 2.2 | 38 |
| DN20 | 9.02 | 7.26 | 5.5 | 5.28 | 5.17 | 4.95 | 4.73 | 4.4 | 4.29 | 4.18 | 4.07 | 3.3 | 67 |
| DN25 | 11 | 9.9 | 8.69 | 8.36 | 7.92 | 7.59 | 7.26 | 6.82 | 6.49 | 5.94 | 5.5 | 4.95 | 100 |
| DN32 | 28.6 | 19.8 | 15.4 | 14.52 | 14.08 | 13.42 | 13.2 | 12.87 | 12.32 | 11.99 | 11.11 | 9.9 | 170 |
| DN40 | 41.8 | 27.5 | 22 | 20.9 | 19.8 | 18.7 | 17.6 | 16.5 | 15.4 | 14.3 | 13.2 | 11 | 300 |
| DN50 | 52.8 | 44 | 34.1 | 31.9 | 30.8 | 28.6 | 25.3 | 24.2 | 23.1 | 22 | 19.8 | 13.2 | 500 |
| DN65 | 88 | 72.6 | 58.3 | 49.5 | 48.4 | 46.2 | 44 | 41.8 | 38.5 | 33 | 28.6 | 19.8 | 780 |
| DN80 | 143 | 110 | 88 | 83.6 | 77 | 72.6 | 68.2 | 63.8 | 55 | 50.6 | 41.8 | 30.8 | 1200 |
| DN100 | 198 | 176 | 132 | 121 | 110 | 99 | 88 | 77 | 68.2 | 61.6 | 52.8 | 38.5 | 2000 |
| DN125 | 308 | 275 | 209 | 187 | 171.6 | 159.5 | 148.5 | 132 | 110 | 99 | 83.6 | 60.5 | 2900 |
| DN150 | 418 | 341 | 308 | 286 | 264 | 242 | 220 | 198 | 176 | 154 | 121 | 93.5 | 4100 |
| DN200 | 880 | 660 | 550 | 528 | 473 | 440 | 418 | 396 | 363 | 330 | 297 | 220 | 7500 |
| ON250 | 1100 | 968 | 869 | 803 | 748 | 682 | 649 | 572 | 528 | 462 | 440 | 330 | 12500 |
| Dn300 | 1430 | 1309 | 1254 | 1166 | 1078 | 990 | 902 | 836 | 770 | 682 | 638 | 440 | 16500 |
Conversion formula o gas volume flow under working condition & volume flow under standard condition:
Q (Ambient) =0 (Standard) *P (Standard) *Z” (273.15+T (Ambient) ) / (P (Ambient) +P (Ambient) )* (273.15+T (Standard))]—FORMULA 4
Among formula :
Q (Ambient) — volume flow under working condition ( unit: m3/h)
(Ambient) — gas pressure under working condition ( unit: Mpa) T (Ambient) — gas temperature under working condition ( unit: “C ) Z gas relative compressibility Z=Zs /ZN (zero dimension)
(Standard) — volume flow under standard condition (unit: m3/h )
(Standard) — Atm press under standard condition (take absolute pressure =0.101325 MPa)
T (Standard) — temperature under standard condition ( 0°C or 20°C )
(Local) — local Atm press ( unit: Mpa )
LUGB Vortex flowmeter measure saturated steam of different density corresponding with flow range under working condition fig.4
| Mpa | 0.1 | 0.2 | 0.3 | 0.4 | 0.5 | 0.6 | 0.8 | 0.9 | 1 | 1.2 | 1.6 | 2 | Unit | |
| °C | 120 | 134 | 144 | 152 | 159 | 165 | 175 | 180 | 184 | 192 | 204 | 215 | ||
| Kg rn’ | 1.12 | 1.67 | 2.19 | 2.68 | 3.18 | 3.67 | 4.62 | 5.16 | 5.63 | 6.67 | 8.52 | 10.57 | ||
| DW | Range | Different steam density corresponding with flow range | ||||||||||||
| mm | ||||||||||||||
| 15 | Omin | 3.85 | 5.67 | 7.41 | 9.12 | 11 | 12.54 | 15.95 | 17.93 | 19.36 | 22.55 | 29.37 | 36.19 | kg/h |
| Qmax | 35 | 51.5 | 67.4 | 83 | 100 | 115 | 146 | 163 | 176 | 205 | 268 | 329 | ||
| 20 | Omin | 6.84 | 10.07 | 13.09 | 16.17 | 19.58 | 22.44 | 28.49 | 32.01 | 34.43 | 40.04 | 52.25 | 64.35 | |
| Qmax | 62.2 | 91.6 | 120 | 147 | 178 | 204 | 259 | 291 | 313 | 365 | 476 | 586 | ||
| 25 | Omin | 10.68 | 15.73 | 20.46 | 25.3 | 30.69 | 34.98 | 44.55 | 49.94 | 53.79 | 62.59 | 81.73 | 100.54 | |
| Qmax | 97.1 | 143 | 187 | 230 | 279 | 318 | 405 | 454 | 489 | 569 | 743 | 914 | ||
| 32 | Omin | 17.49 | 25.63 | 33.66 | 41.47 | 50.27 | 57.42 | 72.93 | 81.95 | 88.11 | 102.62 | 133.1 | 163.9 | |
| Qmax | 159 | 234 | 306 | 378 | 457 | 522 | 664 | 745 | 802 | 933 | 1218 | 1499 | ||
| 40 | Omin | 25.3 | 36.3 | 47.3 | 58.3 | 70.4 | 80.3 | 102.3 | 110 | 121 | 143 | 187 | 231 | |
| Qmax | 300 | 440 | 575 | 710 | 860 | 980 | 1250 | 1400 | 1500 | 1750 | 2280 | 2810 | ||
| 50 | Omin | 38.5 | 38.5 | 57.2 | 69.3 | 83.6 | 96.8 | 122.1 | 137.5 | 143 | 165 | 220 | 275 | |
| ()max | 550 | 460 | 680 | 845 | 1020 | 1170 | 1480 | 1670 | 1800 | 2100 | 2730 | 3360 | ||
| 65 | Omin | 64.9 | 95.7 | 125.4 | 150.7 | 182.6 | 209 | 264 | 303.6 | 326.7 | 379.5 | 495 | 605 | |
| Qmax | 790 | 1160 | 1520 | 1835 | 2222 | 2540 | 3230 | 3620 | 3970 | 4620 | 6030 | 7422 | ||
| 80 | Omin | 98.45 | 144.1 | 189.2 | 233.2 | 282.7 | 319 | 407 | 451 | 495 | 572 | 748 | 924 | |
| Qmax | 1195 | 1760 | 2300 | 2800 | 3400 | 3900 | 4900 | 5580 | 6000 | 6999 | 9100 | 11000 | ||
| 100 | Omin | 0.15 | 0.22 | 0.3 | 0.36 | 0.44 | 0.51 | 0.64 | 0.72 | 0.77 | 0.9 | 1.1 | 1.43 | t/h |
| ()max | 1.87 | 2.75 | 3.6 | 4.43 | 5.36 | 6.12 | 7.78 | 8.73 | 9.4 | 11 | 14.3 | 17.6 | ||
| 125 | Omin | 0.24 | 0.35 | 0.46 | 0.56 | 0.68 | 0.78 | 1 | 1.1 | 1.21 | 1.41 | 1.84 | 2.2 | |
| Qmax | 2.91 | 4.29 | 5.62 | 6.91 | 8.37 | 9.56 | 12 | 13.6 | 14.7 | 17 | 22.3 | 27.4 | ||
| 150 | Omin | 0.35 | 0.51 | 0.66 | 0.81 | 0.99 | 1.13 | 1.44 | 1.62 | 1.74 | 2.02 | 2.64 | 3.26 | |
| Qmax | 4.2 | 6.18 | 8.09 | 9.96 | 12 | 13.8 | 17.5 | 19.6 | 21.1 | 24.6 | 32.1 | 39.5 | ||
| 200 | Omin | 0.62 | 0.9 | 1.19 | 1.45 | 1.76 | 2.01 | 2.56 | 2.87 | 3.09 | 3.61 | 4.71 | 5.8 | |
| Qmax | 7.5 | 11 | 14.4 | 17.7 | 21.4 | 24.5 | 31.1 | 35 | 37.6 | 43.7 | 57.1 | 70.3 | ||
| 250 | Omin | 0.96 | 1.41 | 1.85 | 2.2 | 2.76 | 3.16 | 4 | 4.5 | 4.84 | 5.61 | 7.36 | 9.02 | |
| Qmax | 11.6 | 17 | 22 | 27.6 | 33 | 38 | 48 | 54 | 58.7 | 68 | 89 | 110 | ||
| 300 | Omin | 1.38 | 2.04 | 2.66 | 3.28 | 3.97 | 4.54 | 5.78 | 6.48 | 6.97 | 8.12 | 10.56 | 12.98 | |
| Qmax | 16.7 | 24.7 | 32 | 39 | 48 | 55 | 70 | 78 | 84 | 98 | 128 | 158 | ||
Superheated Steam fig.5 (unit : kg/m3 )
| ITEM | 130°C | 140°C | 150°C | 160°C | 170°C | 180°C | 190°C | 210°C | 220°C | 250°C | 300°C | 360°C | 420°C |
| 0.10MPa | 1.1 | 1.07 | 1.04 | 1.02 | 0.99 | 0.97 | 0.95 | 0.91 | 0.89 | 0.83 | 0.76 | 0.69 | 0.63 |
| 0.15MPa | 1.38 | 1.34 | 1.34 | 1.28 | 1.24 | 1.21 | 1.19 | 1.13 | 1.11 | 1.04 | 0.95 | 0.86 | 0.78 |
| 0.26MPa | 1.96 | 1.9 | 1.85 | 1.81 | 1.76 | 1.72 | 1.64 | 1.61 | 1.51 | 1.37 | 1.24 | 1.13 | |
| 0.30MPa | 2.12 | 2.067 | 2.01 | 1.96 | 1.92 | 1.83 | 1.79 | 1.68 | 1.53 | 1.38 | 1.26 | ||
| 0.36MPa | 2.46 | 2.39 | 2.33 | 2.27 | 2.21 | 2.11 | 2.06 | 1.94 | 1.76 | 1.59 | 1.45 | ||
| 0.40MPa | 2.61 | 2.54 | 2.47 | 2.41 | 2.3 | 2.25 | 2.11 | 1.91 | 1.73 | 1.57 | |||
| 0.50MPa | 3.16 | 3.07 | 2.99 | 2.91 | 2.77 | 2.71 | 2.54 | 2.3 | 2.07 | 1.89 | |||
| 0.60MPa | 3.61 | 3.51 | 3.42 | 3.25 | 3.18 | 2.97 | 2.69 | 2.42 | 2.21 | ||||
| 0.70MPa | 4.05 | 3.94 | 3.74 | 3.65 | 3.41 | 3.09 | 2.78 | 2.53 | |||||
| 0.80MPa | 4.59 | 4.46 | 4.23 | 4.13 | 3.85 | 3.48 | 3.13 | 2.84 | |||||
| 0.90MPa | 5.15 | 4.99 | 4.73 | 4.61 | 4.3 | 3.88 | 3.48 | 3.16 | |||||
| 1.00MPa | 5.54 | 5.23 | 5.09 | 4.75 | 4.28 | 3.84 | 3.48 | ||||||
| 1.15MPa | 6.37 | 6 | 5.84 | 5.43 | 4.88 | 4.37 | 3.97 | ||||||
| 1.50MPa | 7.87 | 7.64 | 7.05 | 6.3 | 5.63 | 5.1 | |||||||
| 1.65MPa | 8.7 | 8.43 | 7.76 | 6.92 | 6.17 | 5.59 | |||||||
| 1.80MPa | 9.55 | 9.24 | 8.48 | 7.55 | 6.72 | 6.08 | |||||||
| 2.00MPa | 10.36 | 9.47 | 8.39 | 7.45 | 6.74 | ||||||||
| 2.20MPa | 11.51 | 10.47 | 9.24 | 8.2 | 7.4 | ||||||||
| 2.50MPa | 12.02 | 10.55 | 9.32 | 8.39 |
Several normal gas of density under standard conditionfig. 6 ( unit : kg/m3 )
| Tag Density | Air | Hydrogen | Oxygen | Nitrogen | Chlorine | Ammonia gas | Semi- watergas |
| 1.293 | 0.0889 | 1.43 | 1.251 | 3.214 | 0.77 | 0.836 | |
| Tag Density | Argon | Acetylene | Methane | Ethane | Propane | Butane | Coke-oven gas |
| 1.79 | 1.017 | 0.717 | 1.357 | 2.005 | 2.703 | 0.4849 | |
| Tag Density | Ethylene | Propylene | Natural gas | Coal gas | CO | CO2 | |
| 1.264 | 1.914 | 0.828 | 0.802 | 1.25 | 1.977 |
Notes: standard state is absolute pressure 0.101325MPa and temperature 0–c
LUCB insertion-version vortex flowmeter measurable flow range under working condition and its calculation. See fig. 7
LUCB insertion-version vortex flowmeter measure liquid of different density corresponding with flow range under working condition. Fig.7
| Gas | Density p(kg/m3) | 1 | 1-2 | 2 | 3 | 4 | 6 | 8 | 10 | 15 | 20 | Vmax(m!s) |
| Vmin(m/s) | 5.5 | 5.2 | 5 | 4.8 | 4.6 | 4.2 | 4 | 3.8 | 3.6 | 3.5 | 55 | |
| Liquid | Density p(kg/m3) | 500 | 600 | 700 | 800 | 900 | 1000 | 1200 | 1400 | 1600 | 1800 | Vmax(m/s) |
| Vmin(tn/s) | 0.96 | 0.8 | 0.7 | 0.66 | 0.62 | 0.6 | 0.56 | 0.52 | 0.5 | 0.45 | 6 |
Notes : fig.7 that is accuracy ±2.5% of insertion-version vortex flowmeter flow range.When accuracy is better than ±2.5%, velocity of flow = lower limit of velocity multiplied by coefficient R(R=2-3), the upper limit multiplied by 0.8.
LUCB insertion-version vortex flowmeter measurable medium flow range calculation under working condition.
Gas & liquid : min volume flow formula under working condition Qmin=3600*Vmin*( it
*D2/4)———————————————— Formula 5
Gas & liquid : max volume flow formula under working condition Qmax=3600*Vmax*( n
*D2/4)———————————————— Formula 6
Gas : min volume flow formula under standard condition
QNmin=Qmin *[( Piocal+Pambient) )*(273.15+Tstandard)]
Pstandard*Z*(273.15+Tambient)] —-Formula 7
Gas : max volume flow formula under standard condition
QNmax=Qmax *[( Rocal+Pambient) )*(273.15+Tstandard)]/ [P standard*Z*(273.15+Tambient) —— Formula 8 Gas : density formula under working condition
P = p n[( Piocal+Pambient) )*(273.15+Tstandard)]/ [Pstandard*Z*(273.15+Tambient)]– Formula 9
Among ( insertion-version vortex flowmeter) :
Qmin — min volume flow under working condition ( unit : m3/h ) Qmax — max volume flow under working condition ( unit : m3/h )
Vmin — min velocity under working condition ( unit : m/s refer to fig.7)
Vmax — max velocity under working condition ( unit : m/s refer to fig.7)
D nominal diameter of insertion-version vortex flowmeter ( unit : m) it circumference ratio 3.1415926535898
QNmin – gas min volume flow under standard condition ( unit : m3/h)
QNmax – gas max volume flow under standard condition ( unit : m3/h)
T standard — temperature under standard condition, general is 0°C or 20°C. (unit:°C)
T ambient — measurable gas temperature under working condition (unit:°C)
P standard — normal atmospheric pressure ( =0.101325MPa )
P Ambient — measurable gas pressure under working condition (unit : Mpa )
Z measurable fluid relative compressibility Z=Z Ambient/Z standard A gas density under working condition ( unit : kg/m3)
A n—- gas density under standard state ( unit: kg/m3 ; temp is0°C or 20°C, absolute pressure is 0.101325MPal among formula 9 the temperature is the same between
T standard and ID n corresponding temp. Several normal gas density under standard state see fig. 6 )
P local –local atmospheric pressure ( unit : Mpa )
LUCB insertion-version vortex flowmeter Numerical Methods of flow range matching steam measurement:
According to steam temperature and pressure refer to fig.4 & fig.5 then gain exact density’ P ” under working condition.
According to steam density* P ” under working condition, refer to fig.7 then gain max/min velocity of flow under working condition • Vmax/Vmin ” .
According to pipe diameter of insertion-version vortex flowmeter, through Formula 5 and Formula 6 calculate min volume under working condition or max volume.
The finaldensity p “underworkingcondition x QminorQmax = mass flow range .
III. II Electrical Parameter Signal output :
1.Instantaneous flow under working condition corresponding voltage-frequencypulse output (lower PWL-:.1V, higher PWL?––6V)
2.Instantaneous flow under standard condition corresponding voltage-frequencypulse output (lower PWL-.1V, higher PWL.-6V)
3.Instantaneous flow under standard condition pulse equivalent output (lower PWL-1V, higher PWL..?-6V)
4.Instantaneous flow under working condition corresponding two-wire or three-wire 4-20mA output (load resistanceLC300 )
5.Instantaneous flow under standard condition corresponding two-wire or three-wire 4-20mA output (load resistance–300 )
Communication interface: RS485 ; HART Display mode:
A . Intelligent numeric alphabetic display type: twin-row numeric alphabetic LCD instantaneous flow rate and totalizer)
Intelligent dot matrix LCD: English 128’64 dot matrix LCD( instantaneous flow rate, totalizer, temperature and pressure under working condition, battery voltage or density under working condition, instantaneous flow rate under working condition, send-out, time, menu modify records, power-off records, etc. )
111.111.1. Menu Display
Turn on power 24VDC, the main menu will display. The main menu has 5 sub-page, which can be displayed & switched by the button (K2).
Connect the hand operator to the flow meter, and press the button(K1) for several second, then the hand operator starts receiving the data and displaying the main menu. 
Menu instruction
Instantaneous flow: display range 0.000-99999999 Total flow: display
Range 0.000-999999999
Remarks: When the total flow is accumulated to 1000000000, it is all cleared and re-accumulated. When the flow unit changes, the total flow value remains at the original value. In this case, please record down the original total flow, then clear it and reaccumulate.
Temperature: display range -50.0…430.0
Gauge pressure/Absolute pressure -0.1000…20.0000MPa
When the unit is MPa, range is -0.1000…20.0000MPa;
Working condition: Display instantaneous volume flow under working condition, range is 0.000-99999999m3/h
Density: 0.000-99999999kg/m3
K-factor: When choose Nm3/h (standard condition), the compression factor will display with medium under working condition, range is 0.000000-9.999999
Input: The frequency value that actually measured by the sensor, range is 0.000- 9000.0Hz Output: Display the corresponding frequency or current output value according to the “output type” setting in the menu
Instrument Temperature: Display inside temperature of amplifier, range is -99.9-+99.9 Upper-limit: when the measurement limitation function open, transmitter will show the cumulative flow over the upper limit, range is 0.000-999999999
Noted: When the upper-limit flow rate up to 1000000000, all the record will be reset and reaccumulate.
Parameter set: Times of parameters setting, range is 0-9999, if up to 10000 times, the value will be re-set.
Menu four: Display current time, total power fail minutes; “system time” will be shown when flow meter turn on
Menu five: Display the power failure record, will save the last 10 times of power failure; “DATE” will be shown when flow meter turn on special display instructions
NULL: No display
B .ERROR: Data errors, check parameter setting or flow meter operation
C.OVERRUN: Data beyond display range
IIII.II.II. Parameter Setting
Parameters could be set
by button(K1),
button(K2),
button(K3),
button(K4)
1. Button function
K1 button: enter parameter setting and ; setting confirmation
K2 button: Move the cursor to the next position
K3 button: Increase value or function selection
K4 button: return to last menu
Parameter setting
Validation setting
Language
2.Main menu
Press K1 to enter main menu
Press K2 to select each menu, press K1 to enter
3. Main menu of parameters setting
After selecting menu, press K1 to enter password menu, input password; then set each parameter.
Noted: If there is no operating in the parameter setting menu over 30 seconds, the system will automatically exit the “Settings” state. Meanwhile, the setting parameter value is invalid. All the parameters setting will be workable by storage confirmation before exiting
3.1 Parameters Setting Menu
Initial password: 000000
Parameters Setting Menu (table one)
| Menu | Menu Content | Explanation | |
| LOAD DEFAULT | YES or NO | Select ‘YES”, press the setting button until the LCD displays Please wait…”, then will display ‘Restore completed”; select ‘NO’, to enter the next menu. Default setting is display “NO”. | |
| APPLICATION | LIQUID GAS GAS+P+T HEAT STEAM+P+T SAT. STEAM+T SAT. STEAM +P WATER 412+T LIQUID COMP. OIL+P+T NATURAL GAS +P+T MIXED GAS+P+T | ||
| SIZE | 0000- 9999mm | ||
| FACTOR UNIT | 1/m3, 1/L | ||
| K-FACTOR | K-FACTOR LINEAR FLOW CURVE K- FACTOR | K-factor setting range: 0.000000-99999999 Linear frequency modification setting range: 0.00-9999Hz Method of linear correction settings please kindly check chapter 6 | |
| FLOW CURVE | POI NT 1 | ||
| K 1 POINT 2 K 2 POINT 10 K 10 | |||
| FLOW UNIT | m3/h, km3/h , I/min, kg/h. t/h, kg/min. ( Nm3/h. Nkm3/h, NI/min, Nm3/min. Nkm3/min ) | m3/h; km3/h; I/min are the volume flow unit under the working condition; kg/h; t/h; kg/min are mass flow unit; Nm3/h; Nkm3/h; NI/min; Nm3/min; Nkm3/min are gas volume flow unit | |
| OUTPUT | UNSCALE PULS(calibration) COMP, PULSE 4-20mA | UNSCALE PULSE: only output the frequency pulse before compensation COMP. PULSE: Output the frequency after correction and compensation 4-20mA: Display and output the 4- 20ma current at the upper and lower limit of output |
| SCALED FACTOR | 0.000000- 99999999 | The scaled factor is only workable when output type is “COMP. PULSE Scaled factor should be selected according to the flow rate. For calculation formula, please refer to appendix 3. |
| HIGH FLOW | 0.000000- 99999999 | It’s workable under “4-20mA” output |
| LOW FLOW | 0.000000- 99999999 | |
| DAMPING | 00-99 | “LIQUID COMP.” parameter setting |
| TEMP 1 | – 9999-99999’C | |
| FLUID DENSITY 1 | 0.000000- 99999999kq/m3 | |
| TEMP. 2 | – 9999-99999r | |
| FLUID DENSITY 2 | 0.000000- 99999999kg/m3 | |
| TEMP. 10 | – 9999-999990 | |
| FLUID DENSITY 10 | 0.000000-99999999 kg/m3 | |
| Cot MOLE FRACTION | 0.000000-99999999 | Parameter setting for’ NATRUAL GAS +P+T—0O2 MOLE FRACTION” default value 0.006; “H2MOLE FRACTION” default value 0; “RELATIVE DENSITY”default value 0.581 “OGR” default value 40.66MJ/m3 |
| H2 MOLE FRACTION | 0.000000-99999999 | |
| RELATIVE DENSITY | 0.000000-99999999 | |
| OCR | 0.000000- 99999999MJ/m3 | |
| COMPEN SATION OF COMP. FACTOR | AUTO, MENU |
| COMP. FACTOR | 0.000000-99999999 | ” COMPENSATION OF COMP. FACTOR”is available when choose -MENU” |
| CRITIC AL PRES | 0.000000- 99999999MPa | ‘GAS +P +T” and “MIXED GAS +P +r parameter setting. COMPENSATION OF COMP. FACTOR”is available when choose “AUTO” |
| CRITIC AL TEMP | 0. 0.000000- 99999999K | |
| GAS PRESSU RE | 0.000000-99999999MPa | Default value: 0.101325Mpa |
| STD.TE MP.t• | 00-99 | Default value: 0 ‘C. |
| COMPEN SATION OFT | AUTO, MENU | |
| TEMP. DATA SET | –50-430’L. | Temperature compensation model is workable when choose “MENU’: |
| PRES UNIT | MPa . KPA . BAR | |
| COMPENSATION OF P | AUTO, MENU | |
| M.P.DA TA SET | – 0.1-+20MPa | Pressure compensation model is workable when choose” MENU”. |
| FLUID DENSI TY 99999999KG /M3 | 0.000000 | No compensation model: The density should be under working condition: Gas temperature compensation:The density should be under 0.101325Mpa and standard temp. Petroleum temperature compensation: The density should be under 0.101325Mpa and20t: woodworking tern |
| FLOW CUTOFF UNIT Hz | Hz, UNIT | |
| CUTOFF DATA | 0.000000- 99999999 | |
| DATE | NO, YES | |
| TIME SETTI NG | 00 YY 00 MM 00 DD 00 HH 00 MM | The time will not display when choose “NO”. |
| COMMUNICATION | NO 485 | |
| DDRESS | 001-255 | Default: 001 |
| BAUDRA TE | 9600; 4800: 2400:1200 | Default: 9600 |
| PARITY MODE | NO Odd Even | Default: NO |
| STOP BIT | 1 BIT, 2 BITS | Default: 1 BIT |
| BACKLI GHT MODE | ON,OFF,AUTO | |
| SAVE | YES, NO | Press SET 2-3 seconds, and exit menu. Choose ”YES”, and the”PARAMETER SAVE–displays, and returns to the main menu. |
Note:
* 1. The above form lists all the menus, but if use different password, some menus will be hidden.
* 2. When enter menu, some value maybe different with original value. The reason comes from non-flushed LCD screen,it’s normal.You could press K2 to recover.
3.2 Total flow reset
*Total Flow reset
*Yes, No
*Total flow reset when power fails
*Yes, No
* “Total flow reset” could clear the total flow and power failing records
*5.3.3 Zero setting
*Setting Method:
*Zero point value: 0053
*Manual setting
* Enter the menu and change the value and save it.
*Notice: Non-professional people are forbidden to change the Zero point manually.
*Auto Zero setting
*1. One Key zero setting: On the main interface, press(K3) until the light is on to enter the auto setting status. When the light off, the setting is finished.
*2. Two key zero setting: Enter the auto setting status first. When the value becomes stable, press (K1), and save setting.
Notice: When setting zero point, please make sure the flow is zero in the pipe.
Installation Instruction
Installation Place and Environment Selection Try to avoid strong power equipment, high-frequency equipment and strong power switchgear.
Try to avoid high-temp thermal source and source of radiant heating; outdoor installation should do some measures of sun-shading and rain shelter.
Try to avoid shock places and corrosion environment ; meanwhile, easy maintenance should be considered. Reasonable and correct installation position. Installation position should avoid strong shock pipeline, or take some measures of shock absorption. Horizontal, vertical and slanting installation. Liquid measuring ensure flow direction from low to high. Gas measuring, direction no required.
When measuring vapor or high-temp gas, flow meter body pillar should be at an angle of 45 Deg with vertical direction.
Grounding requirement. When pipelines without available grounding conditions, a ground-wire is essential between housing and earth. Straight length requirement In order to correct measurement, upstream or downstream of flow meter should obligate enough straight length. No components to effect fluid velocity in upstream of flow meter. All types of straight length installation reference:
LUGB Vortex Flowmeter Straight Length Size Drafts 

Installation and welding of flow meter
LUGB Vortex diameter is accordant to upstream and downstream tubing diameter at installation point; sensor is concentric with pipeline; prohibit gaskets between sensor and flanges bulge out into pipeline. Make sure that the connection end face of insertion-version vortex flowmeter parallel to the pipe axis. Details as per fig.4.
After initial installation, when medium is steam or other high-temp medium, flanges & bolts should be re-tightened when medium full of pipeline. Do heat reservation measures for pipeline in order to protect amplifier.
LUGB Vortex installation & Welding Reference Figure
Be attention: concerning P/T compensation integrated vortex flow meter, to avoid high-temp or liner shock damage pressure transmitter, Pressure control valve must be closed before medium is full of pipeline. When medium full of pipeline meanwhile approaching working temperature and pressure, slowly turn on control valve. Pressure tapping and pressure detector should be done heat reservation if flow meter outdoor installation.
Tag | DN | Medium | Mediumtemp | Function description |
| Wafer Connection | Dn10-500(mm) | Gas Liquid Saturatec steam SuperheE ted steam | 40…+150 °C 40…+280 °C -40…+350 °C | Flowmeter body material: stainless steel Wafer type companion flange: forged carbon steel Max working pressure: 2.5Mpa ( over 2.5Mpa supply by negotiation ) |
| Flange Connection | ||||
| Wafer connection Patent type | DN25 -500 (mm) | -40…+150+ 40…+ -40…+280t -40…+ 350t-40…+4200 | Flowmeter body material: stainless steel ( other material supply by negotiation ) Max working pressure: 2.5Mpa ( over 2.5Mpa supply by negotiation ) Features : replace sensor head without fluid flow inside pipeline. | |
| Flange connection Patent type | ||||
| Flange connection Low flow version equipped dismountable sensor head | Flowmeter body material: stainless steel ( other material supply by negotiation ) Max working pressure: 2.5Mpa ( over 2.5Mpa supply by negotiation ) Features : 1.Compare same diameter vortex flowmeter its more lower limit. Replace sensor head without effect fluid flow inside pipeline. | |||
| Flange connection | ||||
| Low flow version | ||||
| Wafer version with temp compensation Dn25- 500 Wafer version ( mm) with Temperature Compensation equipped dismountable sensor head | Saturate steam | -100..+220+ | Flowmeter body material: stainless steel ( other material supply by negotiation ) Flanges material: forged carbon steel Temperature gauge head: PT100 Max working pressure : 2.5Mpa Features : 1.Special for saturated steam. Integrated flow and temperature sensor in one. 2.Sensor is dismountable type, replace sensor head without effect fluid flow inside pipeline. | |
| Saturate steam | ||||
| Saturate steam | ||||
| Flange connection Integrated temperature with pressure compensation | DN25- 500 (mm) | Gas Saturated steam Superheated steam | 40…+150oc – 40…+28 at –40…+35 Oc | Flowmeter body material: stainless steel ( other material supply by negotiation ) Temperature gauge head: Pt100 Pressure gauge head: diffuse silicon pressure sensor. Max working pressure: 2.5Mpa ( over 2.5Mpa supply by negotiation ) Features : 1.Integrated temperature and pressure compensation in one. 2.Sensor is dismountable type. replace sensor head without effect fluid flow inside pipeline. |
| Flange connection Integrated temperature with pressure compensation equipped dismountable Sensor head | –40…+15 Oc -40…+28 O’C’ –40…+35 Oc -40…+42 0c | |||
| Insertion- version with dismountable body need stop medium flow | DN200- 2000 (mm) | Gas Liquid Saturated steam Superhe ated steam | -40…+1 60+ -40…+200+ | Flowmeter body material: stainless steel Connection joint: carbon steel Max working pressure: 2.5Mpa ( over 2.5Mpa supply by negotiation ) Features: 1.Stop medium flow is the priority for insertion vortex flowmeter. Its compact conformation and good antivibration performance. No need stop medium flow with dismountable flowmeter body is equipped DN100 glove valve. Do installation, maintenance and replacement without effect medium flow. |
| Insertion-version with dismountable body no need stop medium now | ||||
| Submer gible- version vortex flowmeter Flange-version Insert version(mm) | Wafer– DN10- version 50000(mm) | Gas Liquid | -40…+15 OC 40…+28 Oc | Flowmeter body and flange material: same Max working pressure: 2.5Mpa ( over 2.5Mpa supply by negotiation ) Features : 1.Flowmeter sensor is Submergible-version. Appli cation: subsurface and Submergible pipeline. 2.Remote-version: transmitter and sensor is separated installation. (The biggest distance suggest sift.) |
| DN25” 500(mm) | ||||
| DN200-ion-2000 |
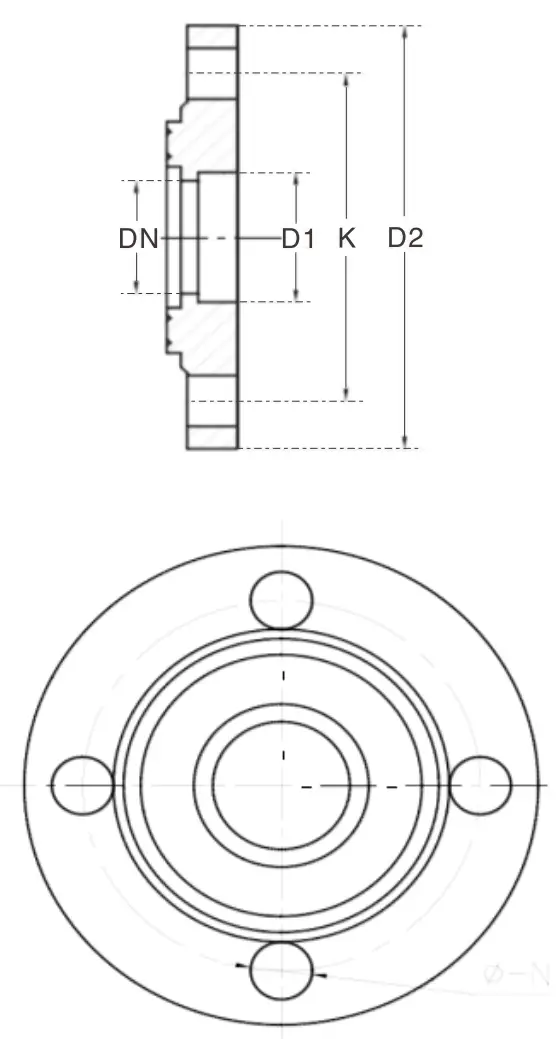
Appendix 2: Configuration Size of Flange Connection Models

| Flange diameter (may | Pressure class(MN) | Flange standard of connection version | |||||
| O(mm) | K(mm) | a(MM) | N | H(mm) | D(mm) | ||
| ON10 | PN1.01PN1.6/PN2.5 | 90 | 60 | 14 | 4 | 14 | 7.2 |
| 0N15 | PN1.0/12N1.6/PN2.5 | 95 | 65 | 14 | 4 | 14 | 21.3 |
| ON20 | PN1.0/PN1.6/PN2.5 | 105 | 75 | 14 | 4 | 16 | 26.9 |
| 0N25 | PN1.0/PN1.6/PN2.5 | 115 | 85 | 14 | 4 | 16 | 33.7 |
| 0N32 | PN1.0/PN1.6/PN2.5 | 140 | 100 | 18 | 4 | 18 | 42.4 |
| 0N40 | PN1.0/PN1.6/PN2.5 | 150 | 110 | 18 | 4 | 18 | 48.3 |
| ON50 | PN1.0/13N1.6./PN2.5 | 165 | 125 | 18 | 4 | 20 | 60.3 |
| ON65 | PN1.0/PN1.61PN2.5 | 185 | 145 | 18 | 4/4/8 | 20/20/22 | 76.1 |
| DN80 | PN1.0/PN1.6/PN2.5 | 200 | 160 | 18 | 8 | 20/20124 | 88.9 |
| ON100 | PN1.0/PN1.6/PN2.5 | 220/220/235 | 180/180/190 | 18/18/22 | 8 | 22/22/26 | 114.3 |
| DN125 | PN1.0/PN1.6/PN2.5 | 250/250/270 | 210/210/220 | 18/18/28 | 8 | 22/22/28 | 139.7 |
| DN150 | PN1.0/PN1.6/PN2.5 | 285/285/300 | 240/240/250 | 22/22/26 | 8 | 24/24/30 | 188.3 |
| 0N200 | PN1.0/PN1.6/PN2.5 | 340/340/360 | 295/295/310 | 22/22/26 | 8/12/12 | 24/26/32 | 219.1 |
| DN250 | PN1.0/PN1.6/PN2.5 | 395/405/425 | 350/355/370 | 22/26/30 | 12/12/12 | 26/29/35 | 273 |
| DN300 | PN1.0/PN1.6/PN2.5 | 445/460/485 | 400/410/430 | 22/26/30 | 12/12/16 | 28/32/38 | 323.9 |
| 0N350 | PN1.0/PN1.6/PN2.5 | 505/520/555 | 460)470/490 | 22/26/33 | 16/16/16 | 30/35/42 | 355.6 |
| ON400 | PN1.0/PN1.8/PN2.5 | 565/580/620 | 515/525/550 | 26/30/36 | 16/16/16 | 32/38146 | 406.4 |
| 0N450 | PN1.0/PN1.6/PN2.5 | 615/640/670 | 565/585/600 | 26/30/36 | 20/20/20 | 35/42/50 | 457 |
| DN500 | PN1.0/PN1.6/PN2.5 | 670/715/730 | 620/650/660 | 26/33/36 | 20/20/20 | 38/46/56 | 508 |
Notes: LUGB flange connection vortex flowmeter its flange pressure class: DN10- DN80 is PN2.5MPa; DN100-DN200 is PN1.6MPa; DN250-DN500 is PN1.0MPa;
if over above pressure class, please mention clearly in purchasing order. GB ( China flange standard follows GB9119-2000). International standard, such as ANSI/DIN/XS… Please customer provide clear model number.
Appendix 3: Configuration Size of Wafer Connection Models

| (MPa) | (mnil | flangestandardofivalerconnectionversion | ||||
| DI (mm) | DAnin) | K(mm) | Anin) | N(+) | ||
| PNI .0/PNI.6/PN2 _5 | DNI 0 | 14 | 90 | 60 | 14 | 4 |
| PNI.O/PN I .6/PN23 | DNI 5 | 19 | 95 | 65 | 14 | 4 |
| PNI.O/PNI .6/PN2.5 | DN20 | 26 | 100 | 70 | 14 | 4 |
| PNI.O/PNI .6/PN2.5 | DN25 | 33 | 100 | 75 | 14 | 4 |
| PNI.O/PN1.6/PN25 | DN32 | 39 | 105 | 80 | 14 | 4 |
| PNI.O/PNI .6/PN2.5 | DN40 | 49 | 150 | 116 | IS | 4 |
| PNI.O/PNI .6/PN2.5 | DN50 | 60 | 160 | 124 | 18 | 4 |
| PNI.O/PNI .6IPN2.5 | D1*5 | 76 | 175 | 138 | 18 | 4 |
| PNI .0/PN1.6/PN2 _5 | DM0 | 90 | 204 | 164 | 20 | 4 |
| PNI.O/PN I .6/PN2 .5 | DNI00 | 109 | 234 | 192 | 22 | 6 |
| PNI.O/PN I .6/PN23 | DNI 25 | 134 | 250 | 205 | 22 | 6 |
| PNI.O/PNI .6/PN2.5 | DN150 | 163 | 280 | 232 | 22 | 6 |
| PNI.O/PNI .6/PN2.5 | DN200 | 220 | 340 | 286 | 24 | 8 |
| PNI.O/PN1.61PN25 | DM 50 | 274 | 390 | 338 | 24 | 8 |
| PNI.O/PNI .6/PN2.5 | DN300 | 327 | 450 | 393 | 26 | 12 |
| PNI.O/PNI .6/PN23 | DN350 | 377 | 510 | 460 | 26 | 16 |
| PNI.O/PN1.6/PN2 _5 | DN400 | 426 | 565 | 510 | 26 | 16 |
| PNI.O/PNI .6/PN2 ..5 | DN450 | 4n | 620 | 565 | 30 | 16 |
| PNI.O/PN1.61PN25 | DN500 | 534 | 685 | 620 | 33 | 20 |
Notes: companion flanges for wafer connection follows PN2.5MPa pressure class, when over 2.5MPa please make clearly mention.
Appendix 4: Calibration Method
(1 ) When calibrating the instrument, the “output form” must be set to “frequency of working condition”, and “value of small signal cutting” is set to 0; after calibration, “K-factor” is set according to the actual calibration, and then change “output form” and “value of small signal cutting” back to the original setting.
(2) Flow rate stabilization time of calibration point: ?-60s
Appendix 5: Fundamental Formula
(1) Instantaneous volume flow rate of working condition
Qv – volume flow rate of working condition(Unit:m3/h/ F — current frequency of working condition (Unit: Hz)
K – K factor (Unit: number of pulse/ m3)
(2)Instantaneous mass flow rate of working condition
Qm—Mass flow rate of working condition (unit: kg/h ) r)— medium density under working condition (unit: kg/m3)
(3)Scaled coefficient calculated method
KN – Scaled coefficient (unit: cumulative flow rate / pulse)
FN—Maximum frequency output (unit: Hz; when KN is selected, set FN<5000, and general FN should be 2000Hz)
Qmax—the actual maximum instantaneous flow rate (unit: same as the setting flow rate unit)
Appendix 6: Communication Function
- Relevant Parameters
The instrument has RS485 communication interface, adopts standard MODBUS-RTU communication protocol, relevant parameters are as follows:
Start bit: 1 bit ……………..Data bit: 8 digits ……………………Parity bit: can beset
Termination bit: can be set………………Baud rate : can be set…………….response time: 0.05s - Data Format
IEEE754standard single float format - Data Address
This flow meter can transmit 1-16 continuous data at the same time, and each data is stored by the corresponding address as follows:- 0001H: Instantaneous flow value
- 0003H: Cumulative flow value
- 0005H: Working temperature (Non-compensation model, it displays 0.0000)
- 0007H: Gauge Pressure/ absolute pressure (Non-compensation model, it displays 0.0000)
- 0009H: Volume flow rate of working condition
- 000BH: Density under working condition
- 000DH: compression coefficient (Non-standard condition volume unit, it displays 0.0000)
- 000FH: Input frequency
- 0011H: Frequency output under working condition (Not this output, it displays 0.0000)
- 0013H: Scaled pulse output (Not this output, it displays 0.0000)
- 0015H: Current output (Not this output, it displays 0.0000)
- 0017H: 0.0000 (This address is reserved by system and unrelated to the instrument data displays on the interface.)
- 0019H: Gauge temperature
- 001BH: Exceed to limited cumulative flow rate (When close the Protocol measurement, it displays 0.0000)
- 001DH: Total power outage time. (When the system clock is off, it displays 0.0000) 16.001FH: menu modification times
- Data Address
When the LCD screen displays the following data transmission information: NULL: transmission data 0
ERROR: transmission data -1234
OVERRUN: transmission data -8888
Appendix 7: Electrical Wiring
Remote type wiring
KLINGER Danmark A/S
Nyager 12-14
DK-2605 Broendby
Denmark
Phone +45 4364 6611
www.klinger.dk



















