jetec MFI/ MF In-line Series Mass Flow Meter | Joyde Electronics Co., Ltd.

Introduction
The MF series MEMS mass flow meters are the second generation products based on Siargo’s proprietary sensor technology and control circuit technology. These meters offer a higher standards of intelligent all-electronic mass flow technology. With the smart software well tested for various applications, the MF series MEMS mass flow meters achieve high sensitivity, large dynamic range, and high accuracy. The MF series MEMS mass flow meters incorporate a number of advanced techniques such as multiple-compensation scheme, noise reduction solution, multiple signal outputs, and network management feature.
The MF series MEMS mass flow meters can be used for general purpose gas metering in industry or commercial applications. The user shall observe the general guidelines in the meter applications in accordance with the safety and other metrology requirements. It is advised that the user must read this user manual carefully before processing to field applications. It is mandatory to follow the instruction of the for installation and operation requirements to ensure the meter can work properly without malfunctions or even damages.
Declarations
- Do not alter any software and hardware of the product.
- Do not use the product if any suspect for malfunction or damage.
- Do not use this product in any corrosive gas environment.
- Observe all requirements in accordance with the product specifications.
- Only qualified personnel from Siargo or a person who is accredited by us can perform troubleshooting or service to the product.
Usage and Safety
- The product can be utilized to measure in-line mass flow rate of any relatively clean, single-element gas or multiple-element gas mixture with a relatively constant concentration profile during gas measurement, monitoring, or flow control in industrial and commercial applications . If the product is used for a special gas condition other than listed in above, the product may not function properly or even can be damaged. Please contact Siargo for special requirements.
- The operational ranges of the product are illustrated in the section of product specifications. If the product is used for a special operational condition other than listed in the product specifications, the product may not function properly or even can be damaged. Please contact Siargo for special requirements.
- Operation, installation, storage, and maintenance of the product must closely follow the instructions of this user manual. Otherwise, unpredicted damage and even injuries or other severe situations could be caused. All the installation, storage, and maintenance of the product must be performed by skilled workers . This user manual should be placed near the product for easy access.
- Before using the product, the user should read this user manual completely and in details so that the user can memorize all the important instructions.
- It is recommended that the product should be re-calibrated and maintained in every two years or at a desired time if required.
Overview
MEMS Thermal Mass Flow Sensor Technology
Proprietary MEMS mass flow sensor technology provides accurate in-line flow measurement with the availability of customer-specified packages. The sensor is manufactured using Siargo’s unique MEMS process that ensures high reliability. The sensors can measure air flow as low as 5 mm/sec and as high as 75m/sec. Depending on the applications, the sensors can be used to measure mass flow, volume flow or media flow speed. The specially designed circuitry provides amplification as well as small signal processing capability.
The flow sensors utilize the thermal mass flow technology using energy balance design. Unlike the other MEMS flow sensing technologies, Siargo’s flow sensors have multiple sensors integrated on a single silicon chip. The surface of the chip is passivated with ceramic materials of high thermal conductivity to ensure the sensor’s sensitivity. Siargo’s sensor package has its flexibility that significantly expands the applications of the technology.
MEMS Thermal Mass Flow Meter
The gas meters feature the state-of-the-art electronics that provides a much larger rangeability than those for most of the thermal mass flow meters using the traditional sensing technology :W
Integrated silicon MEMS flow sensors
Measures mass, volume flow and flow speed
Large rangeability over 200: 1
Measures flow speed up to 75 m/sec
High stability at full scale
High accuracy and repeatability at full scale
Low power consumption
Low pressure loss
Fast response time
Small form factor
Working Principle
Working Principle
Proprietary MEMS flow meters utilize the insertion sensing approach that can measure gas flows in a large pipe. The MEMS flow sensor integrates a micro heater, local temperature sensors and environmental temperature sensors onto a single package. At the no flow, a stable temperature field ( distribution) around the micro heater is maintained. When the flow media passes through the sensor chip, the temperature field will be forced to change as the flow media will carry away the heat from the micro heater causing the redistribution and variation of local temperature. Such a change of the local temperature will depend on the media’s mass as well as the media’s flow speed. The sensors integrated on the silicon chip will then measure such temperature redistribution, and the carefully designed signal process circuits and the algorithm provided by the smart control software can then precisely measure the actual media mass flow. This mass flow can then be translated into volume speed as well as accumulated volume media consumption at the specific conditions set at the calibration.
For the MEMS thermal mass flow sensor technology, the heater on the chip has a dimension at the micrometer scale. In the insertion configuration, the air convection due to the onset of the micro heater is negligible, and hence the “chimney effect” concerned for most of the “hot-wire” thermal mass flow meters will not be applicable to the MEMS thermal mass flow sensor technology with this package.
Volume Flow vs. Mass Flow
For the gas metrology using mechanical meters, the volume flow rate is adopted. The volume rate nevertheless may not be a good indicator for industrial processing technology as the processing gas quality depending vastly on the mass, not on the volume. In addition, the volume of gas will change with different gas temperature and pressure. With the MEMS thermal mass flow meter, it is possible to measure the “quality” (mass) of the gas directly, and at real time. The mass flow rate will not depend on temperature and pressure, and hence it accurately measures the actual mass consumption. In addition, the conversion of the volume rate to the mass rate is readily available by referencing to a standard condition such as at 20°C and 101.325 kPa.
Product Model Selections
In-line Meters/MFFD and MFFE series

Insertion Meters/MFI series

Product Configuration
In-line Meters/MFFD and MFFE series
The product consists of MEMS flow sensors, smart control circuitry, display unit and output ports, flow conditioning set, flange , and other types of connectors. The configuration is illustrated in Fig. 5-1 :
Insertion Meters/MFI series

Product Specifications
Physical Dimensions of In-line Meters/MFFD and MFFE seris

| Model | Connection | DN(mm) | L | H | D | d | K | n-L | Ref. Standards |
| MF25 | F | 25 | 300 | 315 | 115 | 25 | 85 | 4 – <I> 14 | GB/T-9116.1-2000 |
| MF32 | F | 32 | 300 | 326 | 140 | 32 | 100 | 4 -<I> 18 | |
| MF40 | F | 40 | 300 | 330 | 150 | 40 | 110 | 4-<I> 18 | |
| MF50 | F | 50 | 360 | 344 | 165 | 50 | 125 | 4-<I> 18 | |
| MF65 | F | 65 | 360 | 362 | 185 | 65 | 145 | 8-<I> 18 | |
| MF80 | F | 80 | 400 | 374 | 200 | 80 | 160 | 8-<I> 18 | |
| MFlO0 | F | 100 | 400 | 396 | 220 | 100 | 180 | 8-<I> 18 |
Physical Dimensions of Insertion Meters/MF! series
| Model | H | D |
| MFl-1 | 511 | 14 |
| MFl-2 | 586 | 14 |
| MFl-3 | 661 | 19 |

Flow Range of In-line Meters/MFFD and MFFE series
| Model | Pipe Size (mm) | Max. Flow Rate {Nm’/h) | Min. Flow Rate (Nm’/h) |
| MF25 | 25 | 100 | 1.0 |
| MF32 | 32 | 160 | 1.6 |
| MF40 | 40 | 250 | 2.5 |
| MFSO | so | 400 | 4.0 |
| MF65 | 65 | 650 | 6.5 |
| MF80 | 80 | 1000 | 10 |
| MF100 | 100 | 1500 | 15 |
Flow Range of Insertion Meters/MF! series
| Model | DNb (mm) | Insertion Depthb (mm) | Probe Length(mm) {H= pipe wall thickness) | Full Lengthb (mm) | Full Scale Flow (Nm’/hr) |
| MFl-1 | 80 | 11 | 168+H | 250;D=14;a Ball valve=lS | 1000 |
| 100 | 13 | 170+H | 1600 | ||
| 125 | 16 | 173+H | 2500 | ||
| 150 | 20 | 177+H | 3500 | ||
| 200 | 26 | 183+H | 6500 | ||
| 250 | 33 | 190+H | 10000 | ||
| 300 | 40 | 197+H | 15000 | ||
| 350 | 46 | 203+H | 20000 | ||
| 400 | 53 | 210+H | 25000 | ||
| 450 | 60 | 217+H | 32000 | ||
| 500 | 66 | 223+H | 40000 | ||
| MFl-2 | 600 | 80 | 237+H | 32S;D=14;a Ball valve=lS | 55000 |
| 700 | 93 | 250+H | 75000 | ||
| 800 | 106 | 263+H | 100000 | ||
| 900 | 119 | 276+H | 130000 | ||
| 1000 | 132 | 289+H | 160000 | ||
| 1100 | 146 | 302+H | 200000 | ||
| MFl-3 | 1200 | 159 | 329+H | 400;D=19;a Ball valve=20 | 230000 |
| 1300 | 172 | 343+H | 270000 | ||
| 1400 | 186 | 356+H | 320000 | ||
| 1500 | 199 | 369+H | 360000 | ||
| 1600 | 212 | 382+H | 400000 |
Environmental Conditions
- Temperature: -20°C-+60°C
- Humidity: ~95%RH
- Atmospheres Pressure: 86kPa-106kPa
- Working Pressure: 0.1-1.5MPa
Medium Conditions
- Temperature: -10°C-+55°C
- Gas Type: natural gas, coal gas, etc .. ; industrial gases except ethane.
Electrical Specifications
- Power supply:
External power model: 12 – 24 VDC; 200mA.
Li-Ion battery model: Li-Ion battery L3638A. - Display: Real time LCD display of both flow rate and accumulated rate
- Response time: 1 second to 95% of final value
- Communication
RS485(Modbus), with real-time data for flow rate and flow accumulation and can be directly connected to the remote network. A user interface software is an option. - 4 to 20mAoutput
The current is proportional to the standard mass flow rate; 4mA represents 0 flow rate, while 20mA corresponds the maximum flow rate Qmax· - Pulse output
The output signal consists ofa sequence of voltage pulses, each pulse is 0.001Nm3 • - Data records
a) Log of power supply status and accumulated flow rate.
b) As many as 4000 records of the flow status for power supply (the schedule of power-on and -off as well as the corresponding data of accumulated flow rate.
c) Record the flow accumulation for every 3-720 minutes (which can be programed through the user interface software) for data analysis and data management. The user interface software can be obtained from the manufacturer for the desired program and retrieval of the recorded data.
Other Specifications
- Accuracy: ±(1.5+0.5FS)%W
- Repeatability: ±0.75%W
- Turn-Down Ratio: > 100:1
- Working Pressure: 1.5MPa
- Pressure Loss: < 500 Pa (at max. flow)
- Calibration: Air (20°C, 101.325kPa)W
- Protection: IP66W
- Hazard Proof ExdIICT4
Installation
Description of Parts in Package
When unpack your meter from the shipping container, three parts should be found in the package:
a) The meter
b) This user manual
c) Product certificate
Upon opening the package, the product physical integrity should be inspected to ensure no visual damage can be observed. If any items are missing or any physical damages are observed, please contact the meter manufacturer and/or the shipping agent to place a return/exchange or to identify the cause during the transportation . If you are uncertain of the installation or have any questions about the shipment, please also contact the manufacturer or the shipping agent before further process.
Installation Preparation
The product at the time of shipment has been fully inspected for product quality and meets all safety requirements. Additional safety measures during the installation should be applied. This includes, but is not limited to leakage verification procedure, standard ESD (electrostatic discharge) precautions, DC voltage precautions and heavy duty precautions. Other tasks such as calibration, part replacement, repair and maintenance must only be performed by trained personnel. Upon requests , the manufacturer will provide necessary technical support and/or training of the personnel.
Do not open the product cover or alter any parts of the product. Any of such actions will forfeit the warranty and cause the liability to any damages thereafter.
Before the installation, both upstream and downstream valves on the pipeline should be tightly shut down to ensure no gas leakage from the pipeline. Once the pipeline is ready for installation of the meter, follow the steps listed below to check the meter electronics:
- Check the mechanical integrity including the LCD display and make sure no mechanical faults pre-W existed before installation.
- Connect the cable of the meter (see Fig. 7-1).
Red DC+, 12-24Vdc supplya Black Power ground Green RS485Aa Brown RS485Ba Blue LOOP+ (4-20mA output)a Purple LOOP- (4-20mA GND)a Orange Pulse output White Pulse GND 
- In case the cable connection is problematic, user can directly connect the wire to the back terminal
Red DC+, 12-24Vdc supplya Black Power ground Green RS485Aa Brown RS485Ba Blue LOOP+ (4-20mA output)a Purple LOOP- (4-20mA GND)a Orange Pulse output White Pulse GND 
For the battery meter, there are three terminals in the back cover. (see Fig. 7 3)
- When the above processes are completed, the Fig. 8-l(see page 15) should appeared on the LCD screen; W Attention: Because of the high sensitivity of the meter, the displayed real time flow rate and accumulated volume value might be non-zero as any air flow passing through the pipe attached to the meter will be sensed and displayed, regardless if the meter is connected to the pipeline except that there is absolutely no air flow in the pipe attached. Use your hands or a tight cover to close both ends of the pipe of the meter, the top line display of the real time flow rate should decrease and become zero, and the accumulated volume should remain a constant value.
- Once the above steps have been performed and no errors are found, it indicates that the meter is working properly. Then power off the meter by disconnecting the DC cable from the DC outlet, and it is ready to be installed onto the pipeline. (For battery powered meter, this step can be skipped)
Installation Procedure of In-line Meters
The stainless steel pipe attached to the meter has its both ends with flanges for easy installation. The meter should be mounted horizontally with the flow direction indicated on the meter body. To ensure the best performance of the meter, a straight pipe with the same diameter as the pipe attached to the meter and a length of at least 5D (5 times of the pipe diameter) should be located at the upstream, while another straight pipe with the same diameter as the pipe attached to the meter and a length of at least 3D should be located at the downstream, as shown in the following figure:
If there is requirement of different pipe size at either upstream or downstream, the size of the pipe diameters should be larger than that of the selected meters. Please see detailed as below
During installation, please make sure no any foreign materials (such as water, oil, dirty, particles, etc.) falling into the pipe.


Installation Procedure of Insertion Meters
- In case of the online installation, make sure there is no any hazardous gases present in the flow channel, and the proceed to completely close the valves at both upstream and downstream.
- Prepare the installation hole in the flow channel (14mm). After the installation hole for the probe on the flow channel is prepared, make sure there is no any metal particles or other harmful debris present inside the flow channel. Avoid strong vibration sources.
- Attach (by wielding for stainless steel pipeline) the base onto the flow channel, making the hole on the base align perfectly to that on the flow channel.
- Place the O-ring or seal gasket on the base.

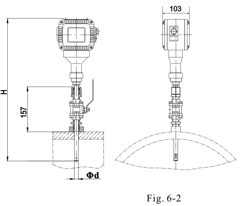
Place the meter in the prepared installation probe hole, make sure the thread or flange can properly seal. Check the meter position and make sure the probe is perpendicular with respect to the flow channel wall.
Calculation of the probe depth, L l = 157 + H + D/8
where H is the flow channel wall thickness Dis the flow channel diameter - The flow measurement direction indicated on the meter should align with the flow direction in the flow channel. Adjust the probe depth in the flow channel according to the measurement requirements;

- Adjust the direction of the sensor. The sensor surface should be well align with the flow direction inside the flow channel as illustrated by the graph below. (The sensor surface has been aligned with respect to the surface where the flow direction arrow rests.)
Use of the “Sensor adjustment assistance tool kit” may help for a faster sensor alignment. For further information, please contact manufacturer.

- Fasten the cap.
- The meter should be installed avoiding valves, sharp turns and other obstacles possibly presented in the system for flow instability.

Power Up
After the meter is installed onto the pipeline, follow the steps listed below to finish the installation:
- Make sure no leakage at both connections.
- Make sure a nearby DC power supply with surge protection is available and the power supply functions properly without safety issue, other than for a battery powered model.
- Connect the DC power cable with the DC power connection of the meter as shown in Fig. 7-1.
- Open the valves at both ends of the pipeline until the gas fill the pipeline, then close the valves.
- Supply the meter with a proper DC voltage, and the LCD should read as shown in Fig. 8-1 (page 15);W
- Record the accumulated flow rate value (optional).
- Open the valves at both ends of the pipeline, and the meter should then operate as desired.
- Finish the installation.
Caution Notes on Installation
- It is forbidden to weld pipeline flange online.
- Before installing the flow meter, all the dirty and debris in the pipeline must be cleaned for preventing possible damages of the product. It is recommended that the pipeline wall should be clean and dry.
- Please ensure that the seal rings do not block the passageway of the pipeline.
- The ground line of the flow meter must be connected to the earth reliably.
- Please ensure that no stress to the flow meter is introduced by the installation.
- Near the flow meter site, there should be neither any strong external magnetic field nor any strong mechanical vibration.
- The gas medium should not have strong flow instability. The operation of the valves should be slowly. It is prohibited to close/open valves abruptly to create extreme pressure pulses.
Display and Functions
Display
At the normal operation mode, the meter has the display as shown in Fig 8-1. The Flowrate shows the real time mass flow rate in normal cubic meter per hour (Nm3 /h); the Total displays the accumulated flow rate in normal cubic meter (Nm3). The conversion of the real time mass flow to the volume is based on the condition that 1 Nm3 /h equals to the mass that is in 1 cubic meter of the air at a temperature of 20°C and a pressure of 101.325 kPa. The display can only be reset by trained personnel at the firmware level.
Access Points and User Interface
Siargo’s proprietary flow meter utilizes the insertion approach that can measure gas flows in large pipes . All access points and user interface are through the cable provided.
Real Time Display of Both Flow Rate and Accumulated Volume
The real time values of both flow rate in normal cubic meters per hour (N m3 /h) and accumulated flow rate in normal cubic meters (Nm3) can be read from the LCD display on the front side of the meter. The meter can read up to 16 digits to a maximum flow rate record of 99999999.999 normal cubic meters (Nm3) and the minimal real time flow rate is 0.001 Nm3/h.
Alarm code El-E5:
E1 Sensor error
E2 Sensor covered with excessive foreign materials
E3 Hardware error
E4 Over flow range
E5 Battery low (battery power model)

RS485 Data Communication Protocol (External Power Model)
For purposes of computer control and networking, the RS485 is used for communication with the following preferred settings:
Baud rate (Bits per second): 9600W
Date bits: 8
Stop bits: 1
Parity: None
Flow control: None
The communication is based on the standard Modbus communication protocol. It supports either single meter communication or multi-meter networking. For detailed information, please contact the manufacturer.
4~20mA Connection (External Power Model)
Input: 24VDCW
Output: 4-20 mA
( 4mA@ 0 Nm3 /h; 20 mA@ Max. Flow)
The connection of the loop load resistor is illustrated as Fig. 8-3:
RL (max) =850Ω {24Vdc power supply)
Pulse Output (External Power Model)
The meter supply pulse output in form of even square wave. The even square wave is composed of 5 V signal high and 0V signal low, and every pulse equal to 1Nm3, 0.1Nm3, 0.01Nm3, 0.001Nm3 or 0.0001Nm3 • (default is 1Nm3 )
Automatic Stored Data
The meter can automatically record mass flow rate, accumulated flow rate and time. To retrieve these data, please contact manufacturer for the necessary user interface software. The data storage interval can be customized and please contact manufacturer for further information.
| Buttons | Description |
| FUN | Selection/confirmation of a setting |
| UP | Scroll up the setup menu |
| SHIFT | Shift to next item or next bit |

Function Selection
Button “FUN” is used for function selection. After press it, the menu asks for password (authentication mode).
- The password consists of six numeric digits. The blinking digit can be assigned a numeric value, which can be selected from 0-9 through “UP” button.
- After selecting a desirable value, press “SHIFT” button to conform the selection, and the proceed to the next digit.
- After the password is correctly set, the meter enters the function setup menu. Otherwise, the meter returns back to the user mode. (NOTE: The default password 1 is 111111)
GCF Setting
- Press “SHIFT” button, until “SET- Fl” was shown in the LCD display.
- Press “FUN” button, the LCD will shown Fl-XXXX CXXXX was current GCF)
- The blinking digit can be assigned a numeric value, which can be selected from 0- 9 through the “UP” buttons .
- After selecting a desirable value, press “SHIFT” button to conform the selection, and the proceed to the next digit.
- After the GCF is correctly set, press “FUN” button, choose Yes or No to finish setting.
Offset Calibration
- Open the valves at both end of the pipeline until the gas fill the pipeline, then close the valves, wait at lease 1 minute.
- Press “SHIFT” button, until “SET- F3” was shown in the LCD display.
- Input the password 3 (default value is).
- Press “FUN” button, the meter will calibrate the offset.
- When calibrated was finished, both of the new offset and the original offset will shown as right:
- Press “FUN” button, then choose Yes or No to finish setting.


Pulse Setting
- Press “SHIFT” button, until “SET- F4” was shown in the LCD display;
- Press “FUN” button, the LCD will shown the pulse value (for instance, the LCD will show 1000.0L if the correct setting is lO00L/Pulse) ;
- Press “UP” buttons to choose other setting (I00L/Pulse, lOL/Pulse, IL/Pulse, 0.lL/Pulse);
- After the pulse value is correctly set, press “FUN” button, choose Yes or No to finish setting.
Address Setting for Modbus Communication
- Press “SHIFT” button, until “SET- F5” was shown in the LCD display;
- Press “FUN” button, the LCD will shown F5-XXX (XXX is current address)
- The blinking digit can be assigned a numeric value, which can be selected from 0- 9 through the “UP” buttons .
- After selecting a desirable value, press “SHIFT” button to conform the selection, and the proceed to the next digit.
- After the address is correctly set, press “FUN” button, choose Yes or No to finish setting.
Note: The address can be set as 1~247.
Response Time Setting
- Press “SHIFT” button, until “SET- F6” was shown in the LCD display;
- Press “FUN” button, the LCD will shown F7- X, X is current response time, it can be set to 1, 2, 3 or 4.
- After the response time is correctly set, press “FUN” button, choose Yes or No to finish setting.
Full Scale Setting
- Press “SHIFT” button, until “SET- F7” was shown in the LCD display;
- Press “FUN” button, the LCD will shown F7-XXXX (XXX is current full scale)
- The blinking digit can be assigned a numeric value, which can be selected from 0- 9 through the “UP” buttons .
- After selecting a desirable value, press “SHIFT” button to conform the selection, and the proceed to the next digit.
- After the full scale is correctly set, press “FUN” button, choose Yes or No to finish setting.
Inner Diameter Setting
- Press “SHIFT” button, until “SET- F8” was shown in the LCD display;
- Press “FUN” button, the LCD will shown F8-XXXX (XXX is current inner diameter)
- The blinking digit can be assigned a numeric value, which can be selected from 0- 9 through the “UP” buttons .
- After selecting a desirable value, press “SHIFT” button to conform the selection, and the proceed to the next digit.
- After the full scale is correctly set, press “FUN” button, choose Yes or No to finish setting.
Units Setting
| Flow rate | Total | |
| 1 | Nm3 / h | N m3 |
| 2 | SLPM | SL |
| 3 | SCFM | SCF |
| 4* | kg/h | kg |
- Press “SHIFT” button, until “SET- F9” was shown in the LCD display;
- Press “FUN” button, the LCD will shown F8- X, X is current units for flow rate and flow ace it can be set to 1, 2, 3 or 4. detailed information please see below table:
- After the response time is correctly set, press “FUN” button, * When kg/h and kg were chosen, choose Yes or No to finish setting.
Front buttons operations
Safety and Maintenance
Wetted Materials and Compatibility
The meter body and pipe are made of stainless steel. Sensors comprise of silicon, silicon nitride and silicon dioxide and the sensor surfaces are passivated with silicon nitride and silicon dioxide. The electronic sealing is provided by RTV (room temperature vulcanizing) #643 Highly Chemical Resistant Coating.
Safety Precautions
The product is designed for use with general purpose gases such as nitrogen. It is advised that the products are best used for non-corrosive clean gases unless otherwise packaged. This meter cannot be used for gas metrology of fluoride or fluoride containing gases. For updates of the product information, please contact the manufacturer or visit www.Siargo.com. Using for gases that are extremely corrosive and toxic may cause the product malfunctioning or even severe damages.
The product pressure rating is ensured to work under working pressure of 200 psig and is leakage proof before the shipment. But cautions and further leakage test are important at installation since any leakage could cause severe safety issue.
The power supply for this product is 12~24 VDC, all precautions and measures for electrical voltage handling must apply.
Attentions: any alternation and/or improper use of the product without the permission of the manufacturer can cause unpredicted damage and even injuries or other severe situations.
Siargo Ltd. or any of its employees and subsidiaries shall not be held liable and indemnified against consequences due to such circumstances via improper use of the product.
Maintenance
Calibration
The meter at the time of shipping is fully calibrated at the conditions indicated on the product label. Use of the product under other conditions will lead to unpredictable results. Please contact the manufacture before proceeding to such applications.
To ensure the meter performance, the meter should be calibrated every 12 to 24 months.
Maintenance
Attention: without prior permission of the manufacturer, please do not attempt to alter any parts of the product as it may cause unrecoverable damages. If there are any questions or doubts, please contact manufacturer immediately before further actions. Please ensure the DC power is off before dismounting the meter from the installation.
All maintenance of the sensor should be done from trained and certified personnel by Siargo Ltd.
Warranty
(Effective September 2005) We warrants the products sold hereunder, properly used and properly installed under normal circumstances and service as described in the user’s manual, shall be free from faulty materials or workmanship for 180 days for OEM products, and 365 days for non-OEM products from the date of shipment. This warranty period is inclusive of any statutory warranty. Any repair or replacement serviced product shall bear the same terms in this warranty.
We makes no other warranty, expressed or implied and assumes no liability for any special or incidental damage or charges, including but not limited to any damages or charges due to installation, dismantling, reinstallation or any other consequential or indirect damages of any kind. To the extent permitted by Law, the exclusive remedy of the user or purchaser, and the limit of Siargo ‘s liability for any and all losses, injuries or damages concerning the products including claims based on contract, negligence, tort, strictly liability or otherwise shall be the return of products to Siargo, and upon verification by us to prove to be defective, at its sole option, to refund, repair or replacement of the products. No action, regardless of form, may be brought against more than 365 days after a cause of action has accrued. The products returned under warranty to us shall be at user or purchaser’s risk ofloss, and will be returned, if at all, at Siargo ‘s risk ofloss.
Purchasers or users are deemed to have accepted this limitation of warranty and liability, which contains the complete and exclusive limited warranty of Siargo, and it shall not be amended, modified or its terms waived except by Siargo’s sole action.
This warranty is subject to the following exclusions:
- Products that have been altered, modified or have been subject to unusual physical or electrical circumstances indicated but not limited to those stated in the user’s manual or any other actions which cannot be deemed as proper use of the products.
- We does not provide any warranty on finished goods manufactured by others. Only the original manufacturer’s warranty applies.
Troubleshooting
Email : [email protected]
www.jetec.com.tw



























