SOLEX X3-EVC-11K EV Charger 7.2 kW – 22 kW

Copyright Declaration
The copyright of this manual belongs to SolaX Power Network Technology (Zhejiang) Co., Ltd. Any corporation or individual should not plagiarize, partially or fully copy it (including software, etc.), and no reproduction or distribution of it in any form or by any means shall be allowed. All rights reserved. SolaX Power Network Technology (Zhejiang) Co., Ltd. reserves the right of final interpretation.
Notes on this Manual
Scope of Validity
This manual is an integral part of the EV-Charger Series. It describes the assembly, installation, commissioning, maintenance and failure of the product. Please read it carefully before operating.
| X1-EVC-7.2K(SXH) | X3-EVC-11K(SXH) | X3-EVC-22K(SXH) |
| X1-EVC-7.2K(PXH) | X3-EVC-11K(PXH) | X3-EVC-22K(PXH) |
Note:
- ”X1” means single-phase, ”X3” means three-phase.
- ”EVC” means “EV-Charger”.
- “7.2K” means 7.2 kW, “11K” means 11 kW, “22K” means 22 kW.
- ”S” : Socket, only socket outlet, ”P”: Plug, with charging cable and connector.
- ”X” : without LCD screen.
- “H”: home edition.
Keep this manual at where it is accessible all the time.
Target Group
This manual is for qualified electricians. The tasks described in this manual can only be performed by qualified electricians.
Symbols Used
The following types of safety instructions and general information appear in this document as described below:
DANGER!
“Danger” indicates a hazardous situation which, if not avoided, will result in death or serious injury.
WARNING!
“Warning” indicates a hazardous situation which, if not avoided, could result in death or serious injury.
CAUTION!
“Caution” indicates a hazardous situation which, if not avoided, could result in minor or moderate injury.
NOTE!
“Note” provides tips that are valuable for the optimal operation of your product.
Safety
Appropriate Usage
The EV-Charger Series are AC EV charger, intended to be installed in a fixed location and connected to the AC supply.

Important Safety Instructions
DANGER!
- Danger to life due to output and input high voltages in this device!
- All work must be carried out by qualified electrician who has knowledge of and experience in dealing with electrical installations.
- The device is not to be used by children or persons with reduced physical sensory or mental capabilities, or lack of experience and knowledge, unless they have been given supervision or instruction.
- Children should be supervised to ensure that they do not play with the device.
CAUTION!
- Danger of burn injuries due to hot enclosure parts!
- During operation, the EV-Charger may become hot.
CAUTION!
- Incorrect operation or misuse may result in:
- Injury or death to the operator or third parties.
- Damage to the device and other property of the operator.
- Inefficient operation of the device.
WARNING!
Risk of electric shock!
- Prior to the application, please read this section carefully to ensure correct and safe application. Please keep the user manual properly.
- Use only accessories recommended or sold by SolaX. Otherwise may result in a risk of fire, electric shock, or injury to person.
- Make sure that existing wiring is in good condition and that wire is not undersized.
- Do not disassemble any parts of the EV-Charger which are not mentioned in installation guide. It contains no user-serviceable parts. See Warranty for instructions on obtaining service. Attempting to maintain the EV-Charger Series by yourself may result in a risk of electric shock or fire and will void your warranty.
- Keep away from flammable, explosive materials to avoid fire disaster.
- The installation place should be away from humid or corrosive substance
- Authorized service personnel must use insulated tools when installing or working with this equipment.
- Do not use the EV-Charger in case the device has defects, crack, abrasion, bare leakage and so on. Please contact the working staff in case of above conditions.
- In case any emergency condition happens, please press the emergency stop button immediately, cut off all input and output power supply.
- During charging, the electric vehicle is not allowed to drive. Charging only when the electric vehicle stays still. For Hybrid car, charging only when switching the engine off.
Explanation of Symbols
This section gives an explanation of all the symbols shown on the EV-Charger type label.

Introduction
Basic Features
Thanks for purchasing with the SolaX EV-Charger Series. The SolaX EV-Charger Series can be used for charging your electric vehicle in your home. Also you can choose single or three phase with plug or socket type, you can consult our salesmen for specific details. The features of the SolaX EV-Charger Series are listed as below.
- Plug or socket outlet selectable
- Built-in 30 mA type A RCD and 6 mA DC protection
- Integrated with PEN protection and no earth rod
- Encrypted communication based on TLS
- Indoor and outdoor easy installation
- Form a new green system with existed SolaX system
- Capable with 100% green energy generated from your solar generation
- Multiple work modes to fit different situations
- Integrated RFID function
- Remote setting and monitoring with APP and website
- Smart dynamic load balance control
- Set timers to reduce your cost during peak and valley price
Dimension
- Socket Type (Type S)

- Plug Type (Type P)

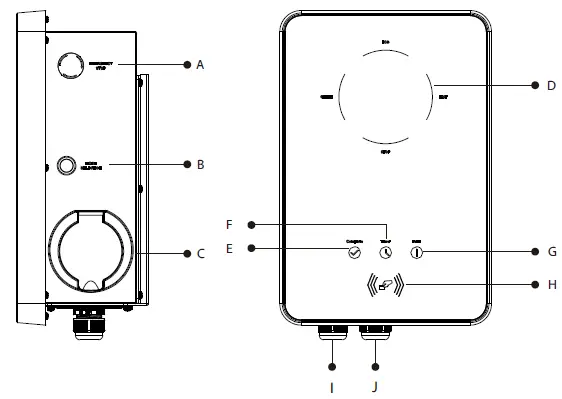
Product Description

| Object | Name | Description |
| A | Switch | EMERGENCY STOP: Press in emergency, the EV- Charger will stop operating. |
| B | Button | MODE SELECTION: Press to select certain mode. |
| C | Charging connection base | For connecting charging connector. |
| D |
LED indicator | Operating status: The corresponding mode light will be on when operating. |
| E | Complete: When the light is on the EV-Charger completes charging or is in idle state. | |
| F | Timer: When the light is on, the boost mode is running. | |
| G | Fault: The red light will be on when error occurs. | |
| H | Card swiping position | Swipe card here. |
| I | Connector | INPUT: For AC input connection. |
| J | COM: For communication connection. |
Technical Data
General Data
| Model | X1-EVC-7.2K | X3-EVC-11K | X3-EVC-22K |
| AC Nominal Input | |||
| Phases/Lines | Single Phase/L1+N+PE | 3 Phase/L1+L2+L3+N+PE | 3 Phase/L1+L2+L3+N+PE |
| Voltage [ V] | 230 | 400 | 400 |
| Frequency [Hz] | 50/60;±5 | 50/60;±5 | 50/60;±5 |
| AC Nominal Output | |||
| Voltage [ V] | 230 | 400 | 400 |
| Current [A] | 32 | 16 | 32 |
| Power [ VA] | 7200 | 11000 | 22000 |
| Interface | |||
| RS485 | YES | YES | YES |
| RFID | YES | YES | YES |
| LCD Screen | Optional | Optional | Optional |
| CT Clamps | x1 | x3 | x3 |
| Housing Material | Plastic/Metal | ||
| Installation Method | Wall-mounted | ||
| Wall-mount Bracket | YES | ||
| Charging Outlet | Type S(Socket-outlet)/Type P(Charging cable with plug) | ||
| Cable Length [M] | 6.5 | ||
| Operating Temperature [℃] | – 30~ +50 | ||
| Working Humidity | 5%~95% without condensation | ||
| Working Altitude [M] | <2000 | ||
| Degree of Protection | IP65 | ||
| Protection Class | Class I | ||
| Application Site | Indoor/Outdoor | ||
| Cooling Method | Natural cooling | ||
| Dimension (W*H*D)[mm] | 249*370*155(for type S)/265*370*155(for type P) | ||
| Net Weight [kg] | 7(for type S)/10.5(for type P) | ||
Security Protection
| Model | X1-EVC-7.2K | X3-EVC-11K | X3-EVC-22K |
| Multiple Protection | |||
| Over/Under voltage protection | YES | ||
| Overload protection | YES | ||
| Short circuit protection | YES | ||
| Current leakage protection | YES | ||
| Grounding protection | YES | ||
| Surge protection | YES | ||
| Over/Under temperature protection | YES | ||
| Integral Earth Leakage Protection Integral | 30 mA Type A RCD (EN 61008) + 6 mA DC protection (EN 62955) | ||
| Safety Standard | IEC61851-1; IEC62196-2 | ||
| Built-in PEN fault technology | YES | ||
| Warranty | 3 years | ||
Installation
Check for Transport Damage
Make sure the EV-Charger is intact during transportation. If there are some visible damages, such as cracks, please contact your dealer immediately
Packing List
Open the package and fetch out the product, check the accessories at first. The packing list is shown as below.

| Object | Quantity | Description |
| A | 1 | EV-Charger |
| B | 3/5 | Expansion bolt (3 for type S, 5 for type P) |
| C | 3/5 | Self tapping screw (3 for type S, 5 for type P) |
| D | 3/5 | Gasket (3 for type S, 5 for type P) |
| E | 1 | Manual |
| F | 1 | Quick Installation Guide |
| G | 3/5 | European terminal (3 for single-phase; 5 for three-phase) |
| H | 1 | RJ45 terminal adapter |
| I | 2 | RFID card |
| J | 1 | CT (J1 for single-phase; J2 for three-phase) |
| K | 1 | Cable hook (only for type P) |
Installation Precaution
The EV-charger is designed for wall-mounted installation (IP 65). Make sure the installation site meets the following conditions:
- Not exposed to sunlight directly.
- Not in areas where highly flammable materials are stored.
- Not in potential explosive areas.
- Not near the television antenna or antenna cable.
- Not higher than altitude of about 2000 m above sea level.
- Not in environment of precipitation or humidity (5%~95%) .
- Make sure that the ventilation is good enough.
- The ambient temperature in the range of -30℃~ +50℃.
- The slope of the wall should be within ±5°.
The wall on which the EV-charger will be installed should meet the conditions below:
- Solid brick/concrete, or strength equivalent mounting surface;
- EV-charger must be supported or strengthened if the wall’s strength isn’t enough (such as wooden wall, the wall covered by thick layer of decoration).

Available Space Size

Table: Available Space Size
| Position | Min.size |
| Left | 300 mm |
| Right | 400-700 mm |
| Top | 200 mm |
| Bottom | 1.2-1.5 m |
| Front | 300 mm |
Installation Steps
Preparation
- Below tools are needed before installation

- Prepare a communication cable with RJ45 and an input cable with outer diameter of 12.5-18 mm(three-core for single-phase, five-core for threephase).
- STEP 1: Remove the screw from the EV-Charger with the cross screwdriver. Then remove the back bracket away carefully.

- STEP 2: Fix the back bracket and the cable hook (only for type P) to the wall.
- Mark the position of the holes.
- Drill holes with φ 8 drill.
- Depth: at least 45 mm.
- Insert the expansion bolts

- Align the bracket and the cable hook (only for type P) with the holes, and screw the self tapping screws with the cross screwdriver.

- STEP 3: Hang the EV-Charger on the wall for trial, then estimate the required length of input cable and communication cable. After that, take the EV-Charger down.
- STEP 4: Unscrew the EV-Charger’s rear cover with the cross screwdriver and take it down. Then undo the fastening heads and take the waterproof materials away as shown below.

- STEP 5: Unscrew the countersunk screw of the base plate of communication board with the cross screwdriver. Then pull the base plate of communication board out .

- STEP 6: Insert the prepared communication cable through the waterproof connector in sequence as shown below (If the cable is self-made, also insert the wires into the RJ45 terminals and then use crimping pliers to press them tightly).

PIN 1 2 3 4 5 6 7 8 Definition L1_CT+ L1_CT- L2_CT+ A1 B1 L2_CT- L3_CT+ L3_CT- - STEP 7: Strip the outer sheath of the input cable for a length of 60-70 mm, ensuring all the wires can reach the terminal blocks with a little excessive length. Use the stripping pliers to strip approx. 12 mm of insulation from the end of all the coloured wires as below. Then crimp the European terminal with the wire crimper.

- STEP 8: Insert the input cable through the waterproof connector in sequence as shown below.

- STEP 9: Insert the wires into the appropriate holes of the terminal blocks, then block the terminals with the straight screwdriver.

- STEP 10: Press the spring upward and push the base plate of communication board in. Then screw the countersunk screw.

- STEP 11: Push the rear cover to appropriate position of the cables and screw the self tapping screws with the cross screwdriver. Then tighten the waterproof fastening head.

- STEP 12: Hang the EV-Charger up carefully and steady the EV-Charger with the self tapping screw and the cross screwdriver.

For type P, connect the charging connector with the EV-Charger and hang the connecting cable on the hook.

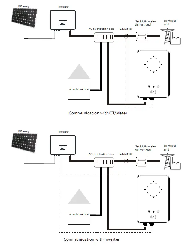
CT connection
Diagram:

- Steay the CT on the public grid.
- Insert the other end of the communication cable and the terminal of CT on each side of the adapter

NOTE!
- Do not place the CT on the N Wire or the PE wire.
- Do not place the CT on the N and L wire simultaneously.
- Do not place the CT on the non-insulated wires.
- When using the three-phase CT, please clip the CT clamps on the corresponding phases
Run the EV-Charger
Start EV-Charger after checking all below steps:
- a) Check that the device is fixed well on the wall.
- b) AC cable is connected to grid correctly.
Start the EV-Charger
- Check the status of LED indicators, the complete light should be on when the EVCharger starts normally.
- If the complete light is not on, please check if it is correctly installed and connected to the grid.
WARNING!
Power to the unit must be turned on only after installation work has been completed. All electrical connections must be carried out by qualified personnel in accordance with legislation in force in the country concerned.
NOTE!
Equipment only to be used for the purpose outlined by SolaX.
Operation Method
States
Six states can be set for the EV-Charger, i.e. Idle, Stop, Charge, Complete, Fault and Unavailable.
| states | Indicator Light & Description |
| Idle | The Complete light is on and the MODE SELECTION button is invalid. The connector is not inserted. |
| Stop | The STOP light is on. The EV-Charger is connected but not charging. |
| Charge | The corresponding charging mode light is on. The EV-Charger is charging. |
| Complete | The Complete light and the STOP light are on at the same time. The EV-Charger has completed charging and the MODE SELECTION button is invalid. |
| Fault | The Fault light is on. The EV-Charger is in fault state. |
| Unavailable | The four charging mode lights are on at the same time. The EV-Charger is remote upgrading. |
Start-up Patterns
The EV-Charger has two start-up patterns, namely plug & charge and cardswiping pattern. The plug & charge pattern is the default pattern, and the cardswiping pattern needs to “enable” the “RFID Function” in the APP advanced settings.
- Plug & charge pattern
For Socket Type, the electronic lock will be locked when the EV-Charger starts charging and unlocked when the charging stops. For Plug Type, there is no electronic lock. - Card-swiping pattern
For Socket Type, the electronic lock will be locked when the EV-Charger starts charging after swiping the card, and unlocked after swiping the card when the charging stops. For Plug Type, there is no electronic lock.
Note:
The charging can be stopped from the vehicle end or the charger end (by long pressing “MODE SELECTION” button, by APP setting or by swiping card). In card-swiping pattern, the electronic lock will not unlock automatically when the charging stops, and users need to swipe the card again to unlock it.
Charging Modes
Short press the “MODE SELECTION” button, the charging mode will switch among FAST, ECO and GREEN Modes

Long press the “MODE SELECTION” button, the current charging mode will switch to STOP mode. When the EV-Charger is in STOP mode, short press the “MODE SELECTION” button, the EV-Charger will switch back to the previous charging mode.(Only available in plug & charge pattern.)
GREEN Mode
In GREEN Mode the EV-Charger will maximize the use of surplus power generated from the inverter. According to the minimum start-up charging power, the charging current can be divided into two levels as 3 A and 6 A. The default level is 6 A. In the 6 A level, the EV-Charger won’t use the power generated from grid at all. In the 3 A level, the EV-Charger would start charging only when photovoltaic power supply is more than 3 A. Meanwhile, if the photovoltaic power supply is less than 6 A, the EV-Charger needs to buy extra electricity from grid for minimum start-up charging power(1.4 kW for single-phase, 4.2 kW for threephase).

ECO mode
In ECO Mode, the charging power is continuously adjusted according to changes in generation or power consumption elsewhere in the house, thereby minimizing the use of grid power. In this mode, users can set charging current at five different levels, i.e. 6 A, 10 A, 16 A, 20 A and 25 A(only two levels for X3- EVC-11K). If at any time, the available surplus power falls below the fixed value of power, such as 1.4 kW (4.2 kW for three-phase), the shortfall will be drawn from the grid.

FAST mode
In FAST Mode, the EV-Charger will charge the EV at the fastest rate regardless of whether the power generated by PV is sufficient and import grid electricity if the power generated by PV is insufficient

Smart Boost
Before using the Smart Boost function, set the desired charging energy(kWh) and end time for the vehicle charging on the APP. The EV-Charger will complete the charging of the EV with desired energy before the preset end time at maximum charging power and will use the photovoltaic power supply as much as possible and minimize the use of grid power. (E.g.: The user needs to charge the EV to 40 kWh before 10:00 AM, then the Charging power is depended on the surplus power generated by the inverter. )

Timer Boost
When using ECO or GREEN charging modes, the EV- Charger can be programmed to ‘boost’ the current charge in a certain period. In timer boost mode, the charging rate is set to maximum (just like FAST mode), regardless of the amount of available surplus power. This means that the power may be drawn from the mains grid supply during boost times. If the EV is fully charged, the EV-Charger will stop charging

Dynamic Load Balance
The EV-Charger has default dynamic load balancing function. During the charging period, no matter in which work mode, the total power of the house will not exceed the main grid capacity. To ensure the total power of the house doesn’t exceed the grid capacity, the charging power will be adjusted in real time following the total load power.

App Setting
APP account login
If you don’t have the app or SolaX Cloud’s account yet you can operate as below:
SolaXCloud Registration
- Step 1: Use your smart phone to scan below QR code or search for the keyword “SolaXCloud” in browser to download the Monitoring App.

- Step 2: Touch the Setting button at upper left corner of the Monitoring App to choose language.
- Step 3: Touch “Create a new account” at the bottom of Monitoring App.
- Step 4: Type in or scan the Registration No. and type in other information to complete the registration

Wi-Fi Connection
- Step 1: Login your account and turn to Account page in the app.
- Step 2: Click “Wi-Fi Connection”.

- Step 3: Type in or scan the Registration No. of the EV-Charger. Then touch Next and agree to join the network of the EV-Charger

- Step 4: Type in your home Wi-Fi SSID and password, then Setting. *5GHz Wi-Fi is unavailable for now.

- Step 5: Wi-Fi setting successes. Check more Wi-Fi setting information on www.solaxcloud.com/wifiSetting/
Local Mode
Use your smart phone to connect the SolaX Wi-Fi signal (Wifi_SCxxxxxxxx). Then touch Local and type in password (initially same as the Registration No.) to access the Local Mode in the Monitoring App. *Visit the local password setting instruction on.solaxcloud.com/wifiSetting/

Settings for the EV-Charger
- Select “Site” at the bottom and then touch the “EV Charger” icon and select your EV-Charger on the list

- Touch the “EV Charger” icon and then touch the setting button to enter the setting page.

- Select “Mode Settings” and a drop-down list will appear. Set the levels of Green Mode (2 levels) and ECO Mode(5 levels for X1-EVC-7.2K & X3-EVC-22K, 2 Levels for X3-EVC-11K) as you want.

- Select “Boost Settings” and a drop-down list will appear. Set the Start Time and End Time for Timer Boost, the Charge(kWh) energy and End Time for Smart Boost and the repeat frequency as you want.

- Select “House Current Limit” and set the House Current Limit. With the dynamic load balance function, when the power consumption approaches the preset max value, the EV-Charger will reduce charge power to avoid the situation of main breaker trip due to overload.

- Select “Advanced Settings” and a drop-down list will appear.
- Set and save the value of “Overvoltage Limit”, “Undervoltage Limit”, “Overcurrent Limit”, “Overheating Limit” and “Leakage Current Limit”.
- Touch “Grid Data Source” to select the source.
- Touch “RFID Function” to enable or disable the function.
- The default setting can be restored and the EV-Charger can be reset by touching correspondent option.

Troubleshooting
This section contains information and procedures for solving possible problems with the EV-Charger, and provides you with troubleshooting tips to identify and solve most problems that could occur with the EV-Charger series. This section will help you narrow down the source of any problems you may encounter. Please read the following troubleshooting steps. Check warnings or fault messages on System Control Panel or Fault codes on the EVCharger information panel. If a message is displayed, record it before doing anything further. Attempt the solution indicated in troubleshooting lists.


When your EV-Charger needs to be upgraded by the service personnel, please make sure to unplug the connector from the EV.
- If your EV-Charger’s information panel is not displaying a Fault light, check the following list to make sure that the present state of the installation allows proper operation of the unit.
- Is the EV-Charger located in a clean, dry, adequately ventilated place?
- Are the specification and length of the cables suitable?
- Are the input connections and wiring in good condition?
- Are the configuration settings correct for your particular installation?
- Are the display panel and the communication cable properly connected and undamaged?
Contact SolaX Customer Service for further assistance. Please be prepared to describe details of your system installation and provide model and serial number of the unit.
- Global Service Center: +86 (571) 56260033 ext 749
- General Enquiry: +86 (571) 56260011
- Sales Enquiry: +86 (571) 56260008
- E-Mail: [email protected]
- Fax: +86 (571) 56075753
Routine Maintenance
The EV-Charger do not need any maintenance or correction in most condition. To ensure that the EV-Charger can operate properly for a long term, you are advised to perform routine maintenance on it. Only trained and authorized professional personnel who are familiar with the requirements of safety was allowed to perform servicing and maintenance work.
Safety checks
Safety checks should be performed at least every 12 months by manufacturer’s qualified person who has adequate training, knowledge, and practical experience to perform these tests. The data should be recorded in an equipment log. If the device is not functioning properly or fails any of the tests, the device has to be repaired. For safety check details, refer to section 2 Safety instruction in this manual.
- Check that if the indicators of the EV-Charger are in normal state, check if the buttons of the EV-Charger are in normal state, check if the display of the EV-Charger is normal. This check should be performed at least every 6 months.
- Check that if the input cable and the connector are damaged or aged. This check should be performed at least every 6 months.
- Check whether the ground terminal and ground cable are securely connected every 12 months.
- Clean the outer shell of the EV-Charger cleaned and check its security at least every 6 months.
Decommissioning
Dismantling the EV-Charger
- Disconnect the EV-Charger from the inverter and the grid.
- Wait for 5 minutes for de-energizing.
- Remove the EV-Charger from the bracket.
- Remove the bracket if necessary.
Packaging
If possible, please pack the EV-Charger with the original packaging. If it is no longer available, you can also use an equivalent carton that meets the following requirements.
- Suitable for loads more than 10 kg.
- With handle.
- Can be fully closed.
Storage and Transportation
Store the EV-Charger in dry place where ambient temperatures are always between -30 °C ~ +50 °C. Take care of the EV-Charger during the storage and transportation, keep less than 4 cartons in one stack.
Disposing of the EV-Charger
When the EV-Charger or other related components need to be disposed, have it carried out according to local waste handling regulations. Please be sure to deliver the wasted EV-Charger and packing materials to certain site where can assist relevant department to dispose and recycle
Disclaimer
The EV-Charger series are transported, used and operated under limited condition, such as environmental, electrical etc. SolaX shall not be liable to provide the service, technical support or compensation under conditions listed below, including but not limited to:
- The EV-Charger is damaged or broken by force majeure (such as earthquake, flooding, thunderstorm, lighting, fire hazard, volcanic eruption etc.).
- The EV-Charger’s warranty is expired and doesn’t buy extended warranty.
- The EV-Charger’s SN, warranty card or invoice cannot be provided.
- The EV-Charger is damaged by man-made causes.
- The EV-Charger is used or operated against any items in local policy.
- The EV-Charger’s installation, configuration, commissioning doesn’t follow the requirements mentioned in this manual.
- The EV-Charger is installed, refitted or operated in improper ways mentioned in this manual without authority from SolaX.
- The EV-Charger is installed, operated under improper environment or electrical condition mentioned in this manual without authority from SolaX.
- The EV-Charger is changed, updated or disassembled on hardware or software without authority from SolaX .
- Obtain the communication protocol from other illegal channels.
- Build monitoring, control system without authority from SolaX.
- SolaX will keep right to explain all the contents in this user manual.
Warranty Registration Form

Please visit our warranty website: https://www.solaxcloud.com/#/warranty to complete the online warranty registration or use your mobile phone to scan the QR code to register. For more detailed warranty terms, please visit SolaX official website: www.solaxpower.com to check it.
PLEASE REGISTER THE WARRANTY IMMEDIATELY AFTER INSTALLATION! GET YOUR WARRANTY CERTIFICATE FROM SOLAX! KEEP YOUR INVERTER ONLINE & WIN SOLAX POINTS!













































