
Dark Gray Modular Wall System (x3)
Instruction Manual

SKU: PP-MWS63D-L
Scan the QR code with your mobile device or follow the link for helpful videos and specifications related to this product.
GET IN TOUCH | Monday-Friday from 7:00am-7:00pm CST
![]()
[email protected] www.vivo-us.com 309-278-5303
Chat live with an agent!
WARNING!
If you do not understand these directions, or if you have any doubts about the safety of the installation, please call a qualified technician. Check carefully to make sure there are no missing or defective parts. Improper installation may cause damage or serious injury. Do not use this product for any purpose that is not explicitly specified in this manual. Do not exceed weight capacity. We cannot be liable for damage or injury caused by improper mounting, incorrect assembly or inappropriate use.
WARNING: CHOKING HAZARD
SMALL PARTS – NOT FOR CHILDREN UNDER 3 YEARS. ADULT SUPERVISION IS REQUIRED.
PACKAGE CONTENTS
![]() | ![]() | ![]() | ![]() | ![]() |
| A (x4) Foot Support | B (x4) Foot | C (x4) Top Support Column | D (x4) Bottom Support Column | E (x9) |
![]() | ![]() | ![]() | ![]() | |
| F (x4) Connecting Bar | G (x6) Panel | H (x8) Pad | I (x4) Cap | J (x18) |
![]() | ![]() | ![]() | ||
| S-A (x8) M5x10mm Screw | S-B (x16) M8x16mm Screw | S-C (x8) M6x6mm Screw | T-A (x1) 3mm Allen Wrench | T-B (x1) |
![]() | T-C (x1) T30 Screwdriver | |||
TOOLS NEEDED
![]()
Level
ASSEMBLY STEPS
STEP 1
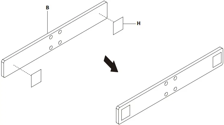
Remove the protective film on Pads (H) and apply them to the bottom of Feet (B).

STEP 2
Install Foot Supports (A) to Feet (B) using M8x16mm Screws (S-B) and 5mm Allen Wrench (T-B).

NOTE: Holes on Foot Supports (A) are perpendicular to the end of the feet.
STEP 3
Assemble Bottom Support Columns (C) to Feet (B) using M5x10mm Screws (S-C) and 3mm Allen Wrench (T-A). Attach Top Support Columns (D) using Connecting Bars (F) with M5x10mm Screws (S-A) and T30 Screwdriver (T-C).

STEP 4
If necessary, loosen quick connections on Crossbars (E) using T30 Screwdriver (T-C).

STEP 5
Attach Crossbar (E) to the very bottom of one of the support assemblies. Lock the quick connection using T30 Screwdriver (T-C). Repeat with a second support assembly. Use a level to make sure Crossbar (E) is level with Feet (B).

STEP 6
Slide Panel (G) into the slots on Support Columns (C) and the bottom Crossbar (E). Install the middle Crossbar (E) using a level, ensuring the the lower panel is set in the slots on both crossbars. Tighten the quick connections using T30 Screwdriver (T-C).

STEP 7
Slide on second Panel (G) into the slots on Support Columns (C) and the middle Crossbar (E). Install the upper Crossbar (E) using a level, ensuring the the lower panel is set in the slots on both crossbars. Tighten the quick connections using T30 Screwdriver (T-C).

STEP 8
Repeat these steps with additional panels.

STEP 9
Press Caps (I) into the tops of Support Columns (C). Remove adhesive backing from Screw Cover Stickers (J) and place them over the screws on Crossbars (E).

Optional Orientations
The panels are modular, so they can be paired with multiple panels in several orientations.

Love your new VIVO setup and want to share?
Tag us in your photo! @vivo_us
LAST UPDATED: 02/07/2023
REV2.1

Open Monday – Friday 7:00am – 7:00pm CST,
our dedicated support team can offer immediate assistance with rapid response times. If any parts are received damaged or defective, please contact us. We are happy to replace parts to ensure you have a fully functioning product.
309-278-5303 AVG. RESOLUTION TIME (within office hrs): 5M 4S
www.vivo-us.com AVG. RESOLUTION TIME (within office hrs): < 15 M
Chat live with an agent!
[email protected] AVG. RESPONSE TIME (within office hrs): 1HR 8M
– 23% within < 15m
– 38% within < 30m
– 61% within < 1hr
– 83% within < 2hr
– 92% within < 3hr
FOR MORE VIVO PRODUCTS, CHECK OUT OUR WEBSITE AT: www.vivo-us.com

























