
ROOF-MOUNT KIT
FOR PVI-25TL-480 INVERTER

PVI-25TL-480 Commercial Inverter

The Roof-Mount Kit includes a shade cover and all necessary hardware to secure the inverter at a shallow, 15-degree tilt angle.
This simple, robust Roof-Mount Kit for the Solectria® PVI 25TL-480, threephase transformerless inverters makes installation on rooftops quick and easy.
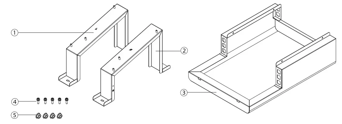
ROOF KIT CONTENTS

| No. | Description | Qty |
| 1 | Left-side support (SUS304 Stainless Steel) | 1 |
| 2 | Right-side support (SUS304 Stainless Steel) | 1 |
| 3 | Shade cover (AL5052-H32 Aluminum) | 1 |
| 4 | Fasteners for shade cover and equipment ground | 5 |
| 5 | Flange nuts for securing inverter mounting bracket to supports | 6 |
ROOF-MOUNT KIT INSTALLATION
- INSTALL MOUNTING BRACKET
Install the inverter’s mounting bracket onto the supports (fasteners provided)
- INSTALL ASSEMBLY
Install the assembly onto strut or blocks (as appropriate, supplied by the user)
- INSTALL INVERTER
Install the inverter onto the assembly (see separate inverter installation instructions)
- INSTALL SHADE COVER
Install the shade cover onto the inverter
- INSTALL EQUIPMENT GROUND
Connect the rack to the inverter equipment ground
![]()
Yaskawa Solectria Solar 1-978-683-9700
Email: [email protected]
solectria.com
Document No. FL.PVI25TL-480.02 | 02/15/2023
© 2021 Yaskawa America, Inc.























