FOX SUN-25K-G 3-25kW Three Phase Inverter
Packing List


Trim all the wires to 52.5mm and the PE wire to 55mm. Use the crimping pliers to trim 12mm of insulation from all wire ends as shown in the picture.
Note: Please refer to local cable type and color for actual installation.
- Separate the AC plug into three parts.
- Insert the sleeve assembly into the cable.
- Install the copper wire into the plug terminal and lock the screw.
- Lock the lock nut and the sleeve(3~5N·m), lock the sleeve and the plug(1.s-1.7N·m).
- Insert the plug assembly into the socket (inverter end) and lock each other by the coupling twist.

Inverter Installation
Please make sure the inverter will be installed with a proper distance as shown below.
Step 1: Fix the bracket on the wall Choose the place you want to install the inverter. Place the bracket on the wall and mark the position of the 5 holes from bracket. Drill holes with electric drill, make sure the holes are at least 50mm deep, and then tighten the expansion tubes.
Drill holes with electric drill, make sure the holes are at least 50mm deep, and then tighten the expansion tubes. 
DC Wiring
- Turn off the DC switch.
- Choose 12 AWG wire to connect the PV module.
- Trim 6mm of insulation from the wire end.

- Separate the DC connector as below

- Insert striped cable into pin contact and ensure all conductor strands are captured in the pin contact.
- Crimp pin contact by using a crimping plier. Put the pin contact with striped cable into the corresponding

- crimping pliers and crimp the contact.
- Insert pin contact through the cable nut to assemble into back of the male or female plug. When you feel or hear a “click” the pin contact assembly is seated correctly.

Insert the expansion tubes into the holes and tighten them. Install the bracket with the expansion screws.
Step 2: Match the inverter with wall bracket Mount the inverter to the bracket. Secure the inverter with the MS screw and washer.
Wiring Steps
Cable dimensions
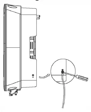
Grounding Wiring
Screw the ground screw with screwdriver as shown below.
Startup Procedure
- After checking all connections are correct, turn on the external DC /AC breakers.
- Turn the DC switch to “ON” position.
- Inverter will start automatically when PV panels generate enough energy, the LED will flash.
- Complete inverter Start-up guide
- After the initial start-up the inverter, display will go to the language settings page, short press to switch language and long press to confirm selection.
- Once language set, the display will guide to set the of safety regulation. Short press to switch safety regulation, and long press to confirm selection.
Note:
- Please select the correct country code.
- Set the time on the inverter using the button or by using the APP.


























