Quick Installation Guide
3-25kW Three Phase Inverter
Packing List

| Object | Quantity | DealPOon inverter | Object H | Quantity 5 | Description Expansion screw |
| A | 1 | ||||
| B | 1 | Bracket | I | 1 | Communication connector |
| C | 2/3/4 | DC connector (F/M) | 1 | 1 | Product manual |
| 0 | 1 | AC connector | K | 1 | Quick installation guide |
| E | 2/3/4 | DC pin contact (l•positive, negative) | L | 1 | WIFI/GPFtS (Optional) |
| F | 1 | Earth terminal | M | 1 | Screwdriver |
| G | 5 | Expansion tube | N | 1 | Unlock tool |
Inverter Installation
Please make sure the inverter will be installed with a proper distance as shown below. 
| Position | Min Size |
| Left | 30cm |
| Right | 30cm |
| Top | 30cm |
| Bottom | 30cm |
| Front | 30cm |
Step 1: Fix the bracket on the wall Choose the place you want to install the inverter. Place the bracket on the wall and mark the position of the 5 holes from the bracket.
Drill holes with an electric drill, make sure the holes are at least 50mm deep, and then tighten the expansion tubes. 
Insert the expansion tubes into the holes and tighten them. Install the bracket with the expansion screws. 
Step 2: Match the inverter with a wall bracket
Hang the inverter over the bracket, slightly lower the inverter, and make sure the 2 mounting bars on the back are properly fixed with the 2 bracket grooves. 
3. Wiring Steps AC Wiring
Cable dimensions
| Model (wk) | 3.0 | 4.0 | 5.0 | 6.0 | 8.0 | 10.0 | 12.0 | 15.0 | 17.0 | 20.0 | 25.0 |
| Cable | 2.∼5 6mm² | 4∼6 6mm² | 6∼10mm² | 10∼mm² | |||||||
| Micro-breaker 1 | 16A | 25A | 40A | 50A | 60A | ||||||
Trim all the wires to 52.5mm and the PE wire to 55mm.
Use the crimping pliers to trim 12mm of insulation from all wire ends as shown in the picture.
Note: Please refer to local cable type and color for the actual installation.
Separate the AC plug into three parts.
Insert the sleeve assembly into the cable. 
Install the copper wire into the plug terminal and lock the screw.
Lock the lock nut and the sleeve(35N·m), lock the sleeve and the plug(1.51.7N·m).
Insert the plug assembly into the socket (inverter end) and lock each other by the coupling twist.
DC Wiring
Turn off the DC switch.
Choose 12 AWG wires to connect the PV module.
Trim 6mm of insulation from the wire end.
Separate the DC connector as below.
Insert the stripped cable into pin contact and ensure all conductor strands are captured in the pin contact.
Crimp pin contact by using a crimping plier. Put the pin contact with striped cable into the corresponding crimping pliers and crimp the contact.
Insert pin contact through the cable nut to assemble into the back of the male or female plug. When you feel or hear a “click” the pin contact assembly is seated correctly. 
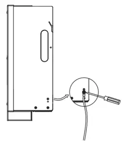
Grounding Wiring
Screw the ground screw with a screwdriver as shown below.
Startup Procedure
1. After checking all connections are correct, turn on the external DC /AC breakers.
2. Turn the DC switch to the “ON” position.
3. Inverter will start automatically when PV panels generate enough energy, the LED will be green.
4. Complete inverter Start-up guide
After the initial start-up of the inverter, the display will go to the language settings page, short press to switch language, and long press to confirm the selection. Once a language is set, the display will guide set the safety regulations. Short press to switch safety regulation, and long press to confirm the selection.
Note: When starting the inverter for the first time, the country code will be set by default to the local settings. Please check if the country code is
correct. Set the time on the inverter using the button or by using the APP.


















