FOX ESS R Series High-Performance Inverters

Packaging List


Inverter Installation
Please make sure the inverter will be installed with a proper distance as shown below.
| Position | Min Size |
| Left | 600 mm |
| Right | 600 mm |
| Top | 200 mm |
| Bottom | 450 mm |
| Front | 1000 mm |
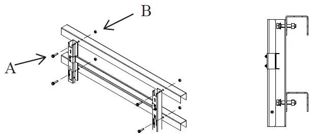
Step 1: Hanging Plate Assembly
Install the Inverter on a bracket or wall by means of the hanging plate. The hanging plate assembly diagram and the size of the assembled hanging plate are shown as below:
Hanging Plate Assembly Diagram
The Size of the Hanging Plate
Step 2: Bracket-mounted Installation or Wall-mounted Installation
Mode 1: Bracket-mounted Installation
- Place the assembled hanging plate on a PV bracket, adjust the angle with a level, mark drilling positions, and drill holes with an electric drill (with a φ12 drill bit).

- Fix the hanging plate with bolts.

- A: 4 PCS of M10*45 hexagon bolts
- B: 4 PCS of hexagon nuts
Mode 2: Wall-mounted Installation
- Place the assembled hanging plate at the installation site, adjust the angle with a level, and mark drilling positions.

- Drill holes with a hammer drill (with a φ12 drill bit), clear holes, insert 4 PCS of expansion bolts (by client, M10*95 is recommended) into holes, and fix them with a rubber hammer.

- Fix the hanging plate with expansion bolts.

- A: 4 PCS of M10 hexagon nuts
- B: 4 PCS of expansion bolts (M10) C: Wall
Step 3: Inverter Installation
- Lift the inverter from the package box with 4 PCS of screw-in type handles.

- Install the inverter on the hanging plate, and ensure that lugs of the inverter are properly matched with slots of the hanging plate.

- Secure the inverter with bolts.

Electrical Connection
Step 1: Secondary Ground Connection
Lock crimped ground cables to ground holes with screw locks on the inverter case, and paint the ground screws and ground terminals to improve anti-corrosion characteristics. The conductor sectional area of each ground cable is 0.5~10 mm2 (4~6 mm2 is recommended).
Step 2: AC Side Connection
Recommended Specification:
- Open the AC side wiring box with a 5mm internal hexagon wrench. Open the breaker and prevent its accidental reclose.

- Unscrew the lock nut of the waterproof connector and take out multilayer sealing rings. Select the sealing ring based on the cable outer diameter. Route the cable through the lock nut and sealing ring.

- Peel off the protective layer and insulation layer of a certain length and crimp the cold-pressed terminals as shown below:

- Secure cables to the corresponding terminals with a hexagon socket wrench and cross screwdriver, and tighten the waterproof cable heads.

Step 3: DC Side Connection
- Turn off the DC swtich.
- It is recommended that the DC cable dedicated to photovoltaics (2.5~4 mm²) be used to connect the PV module.
- Trim about 6mm of insulation from the cable end.

- Separate the DC connector as below.

- Insert multiple cables connected to the PV module into the pin plug and ensure all strands are captured in the pin plug.
- Crimp the pin plug wtih a crimping plier.

- Route the crimped cable through the nut into the plug. When you hear a “click”, the pin plug is properly clamped in the plug.

Startup Procedure
- After checking all connections are proper, turn on the external DC/AC breakers.
- Turn the DC switch to “ON”.
- The inverter will start automatically when PV panels generate enough energy, and the LED will turn blue.
After-sales Service Mail: [email protected].
Scan the QR for User Manual.




































