LDN4 4 Inch OPEN Construction Downlight
Instruction Manual
LDN4 4 Inch OPEN Construction Downlight
READ AND FOLLOW ALL SAFETY INSTRUCTIONS! SAVE THESE INSTRUCTIONS AND DELIVER TO OWNER AFTER INSTALLATION
- To reduce the risk of death, personal injury or property damage from fire, electric shock, falling parts, cuts/abrasions, and other hazards please read all warnings and instructions included with and on the fixture box and all fixture labels.
- Before installing, servicing, or performing routine maintenance upon this equipment, follow these general precautions.
- Installation and service of luminaires should be performed by a qualified licensed electrician.
- Maintenance of the luminaires should be performed by person(s) familiar with the luminaires’ construction and operation and any hazards involved. Regular fixture maintenance programs are recommended.
- It will occasionally be necessary to clean the outside of the refractor/lens. Frequency of cleaning will depend on ambient dirt level and minimum light output which is acceptable to user. Refractor/lens should be washed in a solution of warm water and any mild, non-abrasive household detergent, rinsed with clean water and wiped dry. Should optical assembly become dirty on the inside, wipe refractor/lens and clean in above manner, replacing damaged gaskets as necessary.
- DO NOT INSTALL DAMAGED PRODUCT! This luminaire has been properly packed so that no parts should have been damaged during transit. Inspect to con-firm. Any part damaged or broken during or after assembly should be replaced.
- Recycle: For information on how to recycle LED electronic products, please visit www.epa.gov.
- These instructions do not purport to cover all details or variations in equipment nor to provide every possible contingency to meet in connection with installa-tion, operation, or maintenance. Should further information be desired or should particular problems arise which are not covered sufficiently for the purchaser’s or owner’s purposes, this matter should be referred to Acuity Brands Lighting, Inc.
WARNING RISK OF ELECTRIC SHOCK
- Disconnect or turn off power before installation or servicing.
- Verify that supply voltage is correct by comparing it with the luminaire label information.
- Make all electrical and grounded connections in accordance with the National Electrical Code (NEC) and any applicable local code requirements.
- All wiring connections should be capped with UL approved recognized wire connectors.
WARNING RISK OF BURN
- Allow lamp/fixture to cool before handling. Do not touch enclosure or light source.
- Do not exceed maximum wattage marked on luminaire label.
- Follow all manufacturer’s warnings, recommendations and restrictions for: driver type, burning position, mounting locations/methods, replacement and recycling.
CAUTION RISK OF INJURY
- Wear gloves and safety glasses at all times when removing luminaire from carton, installing, servicing or performing maintenance.
- Avoid direct eye exposure to the light source while it is on.
CAUTION RISK OF FIRE
- Keep combustible and other materials that can burn, away from lamp/lens.
- Do not operate in close proximity to persons, combustible materials or substances affected by heat or drying.
CAUTION: RISK OF PRODUCT DAMAGE
- Never connect components under load.
- Do not mount or support these fixtures in a manner that can cut the outer jacket or damage wire insulation.
- Never connect an LED product to an unapproved dimmer pack. Contact ABL directly for any dimmers not specifically recommended for the product.
- Unless individual product specifications deem otherwise: Allow for some volume of airspace around fixture. Avoid covering LED fixtures with insulation, foam, or other material that will prevent convection or conduction cooling.
- Unless individual product specifications deem otherwise: Maximum ambient temperature is 90°C. Do not operate fixture at temperatures higher than this.
- Unless individual product specifications deem otherwise: Never mount in places where fixture will be exposed to rain, high humidity, extreme temperature changes or restricted ventilation.
- LED products are Polarity Sensitive. Ensure proper Polarity before installation.
- Electrostatic Discharge (ESD): ESD can damage LED fixtures. Personal ground-ing equipment must be worn during all installation or servicing of the unit.
- Do not touch individual electrical components as this can cause ESD, shorten lamp life, or alter performance.
- There are no user serviceable parts inside the unit. Do not rewire, reconfigure, or modify the unit or attempt any repairs yourself. Additionally, field replacement of the LED assembly or lamps is not allowed by UL standards at this time. In the unlikely event your unit may require service, stop using the unit immediately and contact an ABL representative.
All luminaires that contain electronic devices that generate frequencies above 9kHz from any component within the luminaire comply with one of the following Part 15 of the FCC Rules. Operation is subject to the following two conditions:
- This device may not cause harmful interference
- This device must accept any interference received, including interference that may cause undesired operation.
This device complies with Part 18 of the FCC Rules but may cause interference with cordless and cell phones, radios, televisions, and other electronic devices. To correct the problem move the device away from the luminaire or plug into a dif-ferent outlet. This product may cause interference to radio equipment and should not be installed near maritime safety communications equipment or other critical navigation or communications equipment operating between 0.45-30MHz.
Failure to follow any of these instructions could void product warranties. For a com-plete listing of product Terms and Conditions, please visit www.acuitybrands.com.
OUR BRANDS
Indoor/Outdoor: Lithonia Lighting, Carandini, Holophane, RELOC Indoor Lighting: Gotham, Mark Architectural Lighting, Peerless, Renaissance Lighting, Winona Lighting Outdoor Lighting: American Electric Lighting, Antique Street Lamps, Hydrel, Tersen Controls: DARK TO LIGHT, Lighting Control & Design, ROAM, Sensor Switch, Synergy
Acuity Brands Lighting, Inc. assumes no responsibility for claims arising out of improper or careless installation or handling of its products. ABL LED General Warnings, Form No. 503.203
© 2010 Acuity Brands Lighting, Inc. All rights reserved. 12/01/10
LDN Cylinder, Pendant Mount Variants
INSTALLATION INSTRUCTIONS
These installation instructions are used for installing the follow ing luminaires
LDN 4” Cylinder, Pendant Mount
LDN 6” Cylinder, Pendant Mount
A) Identification of pendant mount luminaire
B) Identification of pendant mount luminaire wet location
C) Pendant Mounted Cylinder

Feed supply wire (by others) through 3/8” pendant stem into cylinder body.

Attach stem to fitting mounted on top of cylinder housing being careful to align threads correctly.

Make supply connections inside cylinder. Supply wire (by others) must meet local or national codes and be rated for a minimum of 75°C.

Mount 3/8” pendant stem (may be supplied as separate catalog item) and cylinder housing to junction box.
These installation instructions are used for installing the follow ing luminaires
LDN 4” Cylinder, Wall Mount
LDN 6” Cylinder, Wall Mount
A) Identification of wall mount luminaire
B) Identification of wall mount luminaire wet location

C) Wall Mounted Cylinder

Loosen set screw in bottom of wall cover plate and remove mounting plate.

Feed the branch circuit supply wires and low-voltage dimming wires through the mounting plate. Wires must meet applicable electrical codes and be rated for a minimum of 75°C.
Attach the mounting plate to the existing junction box using two #8-32 screws until the mounting plate is tight and flush on the wall surface.

Splice your input wires to the driver leads. Cap off the purple and pink wires if you are not using them for dimming.

Secure cylinder housing to mounting plate by tightening #8 32 set screw in bottom of wall cover plate using hex key.

After mounting fixture to wall, place a bead of silicone-based caulking compound where the mounting brackets meets the wall on the top and on each side. Do NOT caulk along the bottom.
These installation instructions are used for installing the follow ing luminaires
LDN 4” Cylinder, Flush Ceiling Mount
LDN 6” Cylinder, Flush Ceiling Mount
A) Identification of ceiling mount luminaire
B) Identification of ceiling mount luminaire wet location
B) Ceiling Mount
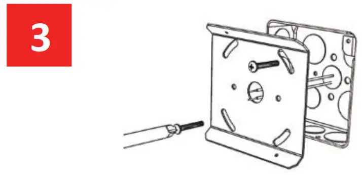
Fasten canopy and mounting bracket to 4” junction box using #8-32 X 1 inch screws.

Hang fixture assembly from Clip safety chain attached to canopy mounting pan.

Splice your input wires to the driver leads. Cap off the purple and pink wires if you are not using them for dimming.

Secure fixture to mounting bracket by aligning bracket to hole and turning 1/8 turn until detents engage.
These installation instructions are used for installing the follow ing luminaires
LDN 4” Cylinder, Cable Mount
LDN 6” Cylinder, Cable Mount
A) Identification of cable mount luminaire

B) Aircraft Cable and Cord Mount
Before getting started: Canopy is equipped to be mounted directly to a rigidly mounted 4” junction box.
- Fasten canopy mounting pan to 4” junction box.
- On the ground, determine required length of cord and cable and make necessary cuts. (10 FEET OF
CORD AND CABLE PROVIDED). It is recommended that the cut end of cable be soldered or glued to prevent it from fraying.
- Attach strain relief bushing to cord and install in canopy, making sure widest flat surface of the bushing will face floor.
- Insert cable into end of cable glider, making sure the end of cable protrudes at least 1” from the cable exit on side of glider.
WARNING: CABLE SUPPORTS WEIGHT OF FIXTURE. CORD CANNOT BE USED TO SUPPORT WEIGHT. - Hang fixture assembly from “S” hook safety chain attached to canopy mounting pan.
- Make wire connections.
- Secure fixture canopy to canopy mounting pan making sure all screws are tightly secured.
- Fasten aircraft cable and cord together with cable stays.


Lithonia Lighting
1400 Lester Road Conyers Georgia 30012
P 800 315 4935 F 770 860 3129
www.Lithonia.com
CJ5201054 Rev . C
Page 5
© Acuity Brands Lighting, Inc. 2020
All Rights Reserv ed.












