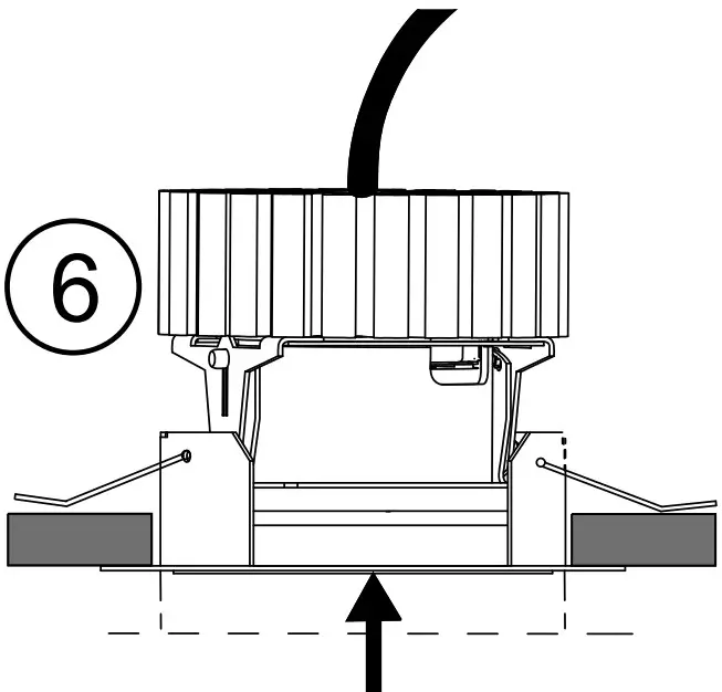
FAGERHULT Stelo 75 Small Recessed Downlight Instruction Manual
Assembly Instruction









![]()
FAGERHULT Stelo 75 Small Recessed Downlight Instruction Manual









![]()
Download manual
Here you can download full pdf version of manual, it may contain additional safety instructions, warranty information, FCC rules, etc.