CONDUCTIX wampfler 0811 Bending Device
Operating Instructions
General notes
These operating instructions make it possible for you to work with the device safely and efficiently.
The instructions are a part of the device, and must be kept accessible to personnel at all times in its immediate vicinity. Personnel must read these operating instructions carefully and understand them before starting any work. The basic prerequisite for workplace safety is the observance of all safety notes and handling instructions in these operating instructions.
Local accident protection regulations and general safety guidelines for the area of use of the device also apply.
The figures in these operating instructions are to be used for basic understanding, and may deviate from the actual design of the device. Generally, bending conductor rails works for all rail programs the same way, the instructions thus also apply for other programs.
© 2014 These operating instructions are copyrighted by the publisher and intended for customer internal use only.
Publisher:
Conductix-Wampfler GmbH Rheinstrasse 27 + 33 79576 Weil am Rhein – Maerkt Germany
Contact us
To contact your nearest sales office, please refer to: www.conductix.com/contact-search
Buying or hiring a bending device
The bending device can either be bought or hired for a rental fee and taking over of transport cost and incidental cost.
Our customer service is available for technical questions. To contact your nearest sales office, please refer to:
www.conductix.com/contact-search. Further information regarding conductor rails and curves can be found in the product catalogs for conductor rails. The product catalogs are available on the internet at www.conductix.com.
Curves, curve segments and rings
The curves, curve segments or rings are as different and manifold as the buildings, in which conductor rails are installed and the installations, in which conductor rails are integrated. To help you determine the use case at hand, we have gathered some basic information here.
Curves
- Vertical curves are needed, if the conductor rail must be led upward or downward (and the collector shoe engages from the bottom side).
- “Engagement slot inside” means, the slot is turned towards the bending axis.
- “Engagement slot outside” means, the slot is turned away the bending axis.
- Horizontal curves are needed, if the conductor rail must be led to the left or to the right (and the collector shoe engages from the bottom side).
Bending device
Unfortunately, the descriptions “vertical curve” and “horizontal curve” are misleading. Presumably, they have been coined at a time when the engagement slot for the collector shoe has been exclusively pointing downward, they are thus only applicable for this installation position. Today, conductor rails are also installed with the engagement slot to the right side or to the left. In case it is necessary for the collector shoe to engage from the left or the right side, horizontal or vertical curves have to be turned to suit the needs. A vertical curve is then required to manufacture a change of direction in the horizontal plane. The descriptions are commonly used. For this reason, we stick to them in this document.
Curve segments and rings
To manufacture curve segments or rings, the straight piece must be cut off. Connecting curve segments, e. g. to make rings, requires special know-how and cannot be done on the construction site normally. Contact Conductix-Wampfler, if you need special parts.
Radius
Minimum radius
The values in the table below are standard values. Minimum bending radiuses depend on the materials which have been used to manufacture rails and insulation.
Please refer to the catalog for the relevant conductor rail program to read the actual values. The product catalogs are available on the internet at www.conductix.com. If you cannot find the necessary data, please don’t hesitate to contact us.
| Program | 0811 | 0815 | |
| Bending radius | vertical | from 500 mm to ∞ | from 450 mm to ∞ |
| horizontal | from 1500 mm to ∞ | from 1200 mm to ∞ |
Straight piece
When bending with the bending device, on each end of the bent rail a short piece of the rail will remain straight. Its length depends on the distance of the rollers of the bending device. This piece can be stuck into the rail connector, providing for a trouble-free contact to the rest of the conductor rail. The straight piece can only be cut to make it shorter. Manufacturing longer straight pieces to a rail is described later on.
Safety instructions
Explanation of symbols
Safety and hazard information is identified in these assembly and operating instructions by symbols. Signal words are used to indicate the degree of hazard in these safety instructions. Always observe safety and hazard information and work carefully to avoid accidents, bodily harm or property damage!
- DANGER! indicates an immediately hazardous situation, which if not avoided, may result in death or serious injury.
- WARNING! indicates a possibly hazardous situation, which if not avoided, may result in death or serious injury.
- WARNING! indicates a possibly hazardous situation due to electrical current, which if not avoided, may result in death or serious injury.
- CAUTION! indicates a possibly hazardous situation, which if not avoided, may result in moderate or minor injury and property damage.
Advice and recommendations: refers to useful tips and recommendations as well as information for efficient and trouble-free operation.
Personal safety gear
The following personal safety gear must be worn during all work
- Work safety clothing
is close-fitting work clothing that has a low tearing strength with tight arms and no parts that protrude. It is mostly used as protection from getting caught by moving machine parts. Do not wear any rings, chains or any other jewelry! - Safety shoes
used to protect from falling heavy parts and slipping on slippery floors. - Protective gloves
for the protection of hands from friction, scrapes, stabbing, or deep wounds, as well as from contact with hot surfaces. - Protective eyewear
To protect your eyes.
Particular hazards
CAUTION! Danger of crushing between the rollers!
Fingers and hands may be crushed between the rollers.
- Always keep away from the rollers.
- Let go of the rail in time when bending and shift your grip away from the rollers.
WARNING! Risk of injury to the feet!
Feet might be hit and severely injured by the falling bending device.
- Before starting the bending process, imperatively anchor the bending device safely with screws or screw clamps.
Product description
Intended use
The bending device serves to manufacture curves from conductor rails. By means of the bending device, conductor rails can be bent on the construction site.
Impermissible use
It is impermissible to attach a motor or electrical drive. The only permitted drive for the bending device is the human hand.
The bending device
The bending device is a very robust and long-lasting tool, which does not need any special care. By means of the bending device, conductor rails can be bent on the construction site, or ready-made curves from the shop can be tailored to special needs on the construction site.
- Adjusting spindle for bending radius
- Scale
- Crank handle
- 4 guide rollers
- 2 drive rollers
- Mounting plate
For every curve type, there is a separate groove in the rollers in the bending device. This way the rails will not get damaged. When bending horizontal curves, a plastic insert must be put into the rail’s engagement slot to avoid deformation of the rail.
| Description | Order number |
| Plastic insert for horizontal curves 0811 | 1210 / drawing number 08-V015-0084 |
| Plastic insert for horizontal curves 0815 | 36731 |
0811 
- Bending groove for vertical curves with the engagement slot inside.
Turn the engagement slot upward. - Bending groove for horizontal curves
Turn the engagement slot to the right or to the left, insert the plastic insert into the slot. - Bending groove for vertical curves with the engagement slot outside.
Turn the engagement slot downward.
0815
- Bending groove for vertical curves with the engagement slot inside.
Turn the engagement slot upward. - Bending groove for horizontal curves
Turn the engagement slot to the right or to the left, insert the plastic insert into the slot. - Bending groove for vertical curves with the engagement slot outside.
Turn the engagement slot downward.
Specifications
| Program | 0811 | 0815 | |
| Weight | 15,8 kg | 17,5 kg | |
| Bending radius | vertical | from 500 mm to ∞ | from 450 mm to ∞ |
| horizontal | from 1500 mm to ∞ | from 1200 mm to ∞ |
Operation
CAUTION! Danger of crushing between the rollers! Fingers and hands may be crushed between the rollers.
- Always keep away from the rollers.
- Let go of the rail in time when bending and shift your grip away from the rollers.
WARNING! Risk of injury to the feet! Feet might be hit and severely injured by the falling bending device.
- Before starting the bending process, imperatively anchor the bending device safely with screws or screw clamps.
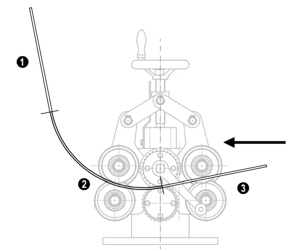
Bending process
Essentially, the bending process works as follows:
- Manufacture a template with the correct radius. This can also be e. g. a drawing of the curve in the original size.
- Stepwise, bend a testing piece in order to investigate how the bending device must be adjusted to bend a curve with the radius required. The exact adjustment of the bending device is measured by counting the number of turns of the adjusting spindle.
- Once the adjustment of the bending device is found, bend the curves with exactly this adjustment in one go.
Bending the test piece
- Turn the spindle fully upward until the end stop (anticlockwise).

- Determine the curve type that you want to bend.
- Determine the bending groove that fits the curve type.
Vertical curve with the engagement slot inside
Vertical curve with the engagement slot outside 
Horizontal curve left or right
When bending horizontal curves, a plastic insert must be put into the rail’s engagement slot to avoid deformation of the rail.

- Put the rail into the groove for the bending direction desired.

- Adjust the spindle so that the rail will be bent only lightly in the wanted direction. Count the number of turns of the spindle and write them down.
- Bend the rail by turning the crank handle.

- Check the curved rail by comparing it with a template or sample.
- In case the desired curve is not yet reached, tighten the spindle (turn clockwise) on the device and repeat the bending process. Count the number of turns of the spindle and write them down.
- Repeat the bending process, until the desired radius is reached and the rail matches the template. Count the number of turns of the spindle and write them down.
Manufacturing curves
- All following parts, which need to be bent to the same radius, can now be bent with this setting.
- If the rail will not go into the bending device, turn the spindle anticlockwise to loosen the setting a bit. Count the number of reverse turns of the spindle.
- Once the rail is inserted into the bending device, tighten the spindle again to its original setting and bend the rail by turning the crank handle.
- After bending a horizontal curve, remove the plastic insert, to make the rail ready for further processing.
NOTE! On each end of the bent rail, a short piece of the rail will remain straight. Its length depends on the distance of the rollers of the bending device. This piece can be stuck into the rail connector, providing for a trouble-free contact to the rest of the conductor rail.
Longer straight pieces
Not always rails need to be bent along their entire length. With the rail here, a curve must be manufactured in the middle of 2 straight pieces.
- Mark the length of the straight piece on the conductor rail (curve start), mark the curve end on the conductor rail.

- Turn the spindle fully upward until the end stop (anticlockwise). Insert the rail. Push the rail into the bending device until the mark curve start is in the center of the bending device.

- Tighten the spindle to the setting determined. Turn the crank handle until the mark curve end is in the center of the bending device.

- Loosen the spindle, pull the rail out.
Spare Parts
| Description | Order number |
| Plastic insert for horizontal curves 0811 | 1210 / drawing number 08-V015-0084 |
| Plastic insert bending device 0815 PH and PE | 08-V015-0357 |
| Plastic insert bending device 0815 PEplus | 08-V015-0499 |
Contact us
To contact your nearest sales office, please refer to: www.conductix.com/contact-search
Conductix-Wampfler GmbH Rheinstraße
27 + 33 79576 Weil am Rhein – Märkt Germany
Importer for the United Kingdom: Conductix-Wampfler Ltd.
1, Michigan Avenue Salford M50 2GY United Kingdom
Phone: +49 (0) 7621 662-0
Fax: +49 (0) 7621 662-144
[email protected]
www.conductix.com
Phone: +44 161 8480161 Fax: +44 161 8737017
[email protected]
www.conductix.com
































