CONDUCTIX wampfler BAL0400 Ergonomic Handling Systems

Application area
The balancer series 040873-… are assigned to counterweight tools.
The load range of the balancer depends on its type. All the details are mentioned on the respective type label.
Security advice
- Any modification of the balancer and its accessories may be carried out only with a written consent of the manufacturer.
- Reading and following strictly the complete operating and safety instructions guaranties a safe operation.
- Only skilled labour and familiarised with the balancer may operate, install, maintain and put it into operation. This labour has to be pre-informed about the possible risks which may occur by using the balancer.
- Standing under a pending load has to be avoided
- It is very dangerous and strictly forbidden to disassemble the spring barrel.
- Uncouple the load only when the rope is completely retracted!
- Attach the load and the falling device on the balancer before any maintenance operation.
- The rope of the balancer has to be examined periodically (DIN 15020 TI.2). If damages are detected on the rope the balancer may not be further used.
- The suspension, the anti fall device and the safety chain have to be kept under surveillance permanently. If damages have been detected, the balancer has to be replaced immediately.
- Keep in mind! The resile of an unloaded rope is very dangerous for the labour and destroys the spring. The maximum capacity mentioned on the type label must not be exceeded.
- Only original spare parts are to be used for repair- and maintenance works.
Installation / Initial Operation
Before beginning the installation, make sure that the equipment on which the balancer will be fastened is strong enough. Determination of the total load:
- Tool, accessories and parts of the hoses and ropes to be supported by the balancer the value of the total load must be situated within the specified type values.
- Hanging up the balancer within the middle of the extraction area of the rope enable the balancer to achieve its best performance.
Always fasten the safety suspension (S) of the balancer on an adequate rake by the means of the appropriated accessories (never use the same rake on which the hook (17) has been attached).
- Max. permitted falling distance: 100 mm.
- Make sure that the existing construction is strong enough.

- If attaching the accessory rope 20332, make sure that it will be correctly positioned: consider the max. permitted falling distance of 100 mm.
- The clamp 20331 must clip both ends of the rope laying one on the other.
- After the first tightening, fasten the clamp with the recommended 2 Nm torque.
Thus enable to compensate (refer to the figure) the loosening between the rope and the clamp generated during the first clamping phase (figure a.).
The balancer must be movable freely towards the traction force.
- If screw fastening devices are applied for fixing the balancer on position (S), self closing systems and / or split-pins have to be used.
- Attach the load on the hook.
- Never lubricate the balancer with fire hazard or volatile liquids.
- Never take off any labels. Replace any damaged label.
Applying of the ground chain 040830-5
By using the ground chain 040830-5 (to be ordered separately) the extraction can be locked at the desired height (figure b).
- Dropping of the red side: extraction locked
- Dropping of the green side: extraction liberated
Pay attention: The load must hang on, before unlocking the drum (dropping of the green side); otherwise, there are risks of accidental bodily injury or material damages.
Safety instructions and adjustment
- If the cable is extracted or if there is no load hanging on, the balancer must not be released by the means of the button (1), otherwise the cable should resile to quickly and cause bodily injury or material damages (Figure c).
- Before restoring the safety blocking pin (4), always check the cause of the blockage (figure d).
- Never begin to service without hanging load and load falling support.
- Never intervene in the spring/drum unit; also consider this point in case of service !
The spring/drum unit is delivered in sealed form. If the spring brakes, the complete unit has to be replaced; doing so, its original function capacity will be restored very quickly.
Safety centrifuge: a blocking device (figure e) has been installed in the housing (5) in order to prevent an opening of the washer (9) caused by to rapid acceleration.
The washer (9) and the housing (5) could be damaged, if the blocking is caused through the falling of the load or through a faulty handling of the button (1).
In case of blocking, always consider the instructions concerning “Exceptional Service”.

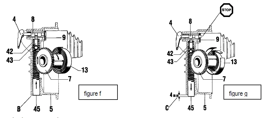
Safety falling device in case of spring fracture:
Under normal operating conditions:
- the screw (45) is held through the spring (42) torque beyond the upper gear-wheel (7)
- thereby the lock (8) is blocked through the bolt (43) (figure f).
In case of spring fracture (13):
- the bolt (43), which releases the lock (8), will be dropped beyond the spring (42)
- whereby the bolt blocks the washer (9).
Therewith a load drop will be avoided (figure g).
Adjusting a load which is to light can also block the washer (9) so that the spring (13) cannot twist anymore. This happens principally in the upper extraction area and is identifiable through the approx. 4 mm protruding screw (45) (figure g, detail c).
Trouble shooting:
- Lift the pin (4) (figure d)
- Increase the load: turn the screw (45) clockwise
- Limit the extraction to the minimum by securing the upper clamp (29-30)
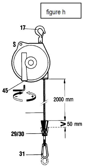
If thus does not release the blockage of the spring/drum unit (13), a balancer with a smaller load capacity has to be installed. To adjust the balancer, turn the screw (45) clockwise to increase and turn the screw counter clockwise to decrease the load capacity.
After having adjusted the load, verify if the cable (14) can swing i.e. the complete figure h stressed spring/drum unit (13) must not limit the extraction. - During operation, the cable must not be completely extracted; it should stop at least 50 mm before the stroke end (figure h).
- If necessary, adjust and block the clamp (29-30) in order to limit the extraction of the tool to the top (figure h).
- To adjust the load at a desired height, turn the button (1) on position C (figure c).
- When the chain 040830-5 is used:
- Dropping of the red side: the load will be locked at the desired height.
- Dropping of the green side: the extraction will be liberated.
Make sure that the button (1) or the pin (48) (figure b) maintain the selected position. If the cable is extracted without load, the spring must never be unlocked! 
Application of the balancer
- If the balancer is installed with a hanging load, make sure that the operation conditions are accurate (smooth running extraction).
- In order to guarantee a safety operation, the upper suspension, the hock (17) and the safety suspension (31) have to be checked; if screws are used, also check the self-closing system and/or the split-pin. Also check the installed supports as well as the integrity of the safety support (S).
Control regularly the wear of the stressed parts: snap hook, cable, parts of the suspension and connection to the tool.
The spring of the snap hook (31) and of the hook (17) must be in perfect condition and the safeguard must lock properly.
Check the complete cable:
in case of damages A (fracture of a few or single wire), B or C (fracture of a wire strand) the cable has to be replaced immediately (Figure I).
Maintenance on the installed balancer:
- grease the cable (14) and the button (1);
- use cable grease BEACON 320 (ESSO) or similar.
Maintenance of the balancer
Before taking of the load, retract completely the cable (14) (buffer (28) on the guiding rail (27)): an extracted cable with stressed spring should resile very quickly and cause personal injury and material damages.
Take off the balancer very carefully from the support.
The spring/drum unit (13) must be completely released before the intervention.
Two possibilities to check this:
- smooth rotation of the drum through the cable (14), by lifting the pin (4) (figure d).
- approx. 4 mm protruding of the screw (45) (figure g).
Disassembling of the balancer
- Take off the retaining ring (22), the screw (40); take off the housing (5); completely unwind the cable (14); take off the axle (11) eventually by the means of a plastic hammer.
- Check the spring/drum unit (13): if the internal spring has been damaged, the complete cable guide has to be replaced.
- The spring/drum unit (13) is sealed and greased before delivery and ball bearings are included: never open it!
- Check the cable (14); if damages like A, B or C are detected, it has to be replaced immediately (figure i).
- The centrifuge mass of the disk (9) must swing freely; the springs (37) must be OK and guaranty the return of the centrifuge mass; check the housing (5) (figure e).
- The disk of the safety centrifuge (9) is a complete unite. Only the springs (37) are spare parts.
- Check all the sealings (8 and 38). The screw (45) and the bolt (43) must run and turn in axial direction; check the springs (6 and 42).
Mounting of the balancer:
- Check the swinging of the lock (A).
- 20 Nm adjustment of the screw (15) on the cable clamp (14).
- Grease the cable and wind it exactly into the spring/drum unit (13). Make sure that the cable is lying in the lock (A), then install it.
- 5 Nm adjustment of the screw (39) of the safety disk (9).
- Adjust the housing (5) on the axle (11); adjust it to the housing (21) and lock it;
3 Nm adjustment of the screw (40). - After installation, stress the spring of the spring/drum unit (13) with the screw (45):
whereby raise the lock (8) and the pin (4) until the screw (45) is adjusted on the housing (5) (figure f, detail B). - Install the balancer according to the operating instructions.
With a hanging load adjust the balancer as wished: make sure that the load seats solidly on the ground or on the folk lift before adjustment.
The use of spare parts which are not genuine can generate safety problems, alter the capacity of the balancer and cause risks during maintenance. In that case our guaranty is not valid.
Repair and maintenance have to be executed through authorised experts.
Characteristics
| Order number | Load (kg) | Cable extension (m) | Weight (kg) |
| 040873-015×2,0 | 10 – 15 |
2,0 | 10,3 |
| 040873-020×2,0 | 15 – 20 | 10,6 | |
| 040873-025×2,0 | 20 – 25 | 11,2 | |
| 040873-030×2,0 | 25 – 30 | 11,5 | |
| 040873-035×2,0 | 30 – 35 | 11,8 | |
| 040873-045×2,0 | 35 – 45 | 12,4 | |
| 040873-055×2,0 | 45 – 55 | 12,5 | |
| 040873-065×2,0 | 55 – 65 | 13,6 | |
| 040873-075×2,0 | 65 – 75 | 14,5 | |
| 040873-090×2,0 | 75 – 90 | 17,3 | |
| 040873-105×2,0 | 90 – 105 | 18,0 |






















