Seville Classics WEB664 AIRLIFT® XL Sit-Stand Mobile Desk

Parts List

Required Tools (not included)

Assembly Instructions
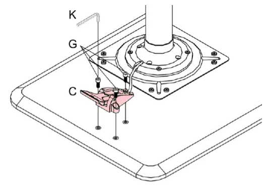
STEP 1.
Place the TOP (A) face down so the mounting plate faces up.
CAUTION: Place a blanket between the top and hard floors to avoid scratches.
- Line up the holes on the CYLINDER (B) with holes on the mounting plate.
- Attach with BOLTS (G) using HEX KEY (K).
- Tighten until snug.

IMPORTANT:
Make sure AIRLIFT LEVER (C) can reach the mounting holes on the back of the TOP (A).
STEP 2.
Press the adjustment wire into the bracket on the back of the AIRLIFT LEVER (C).
IMPORTANT:
The lever will not work and the height will not adjust if the wire is not clipped in correctly.

STEP 3.
- Line up the holes of the AIRLIFT LEVER (C) with the holes on the back of the desk.
- Secure the adjustment lever with BOLTS (G) and HEX KEY (K).

STEP 4.
Turn the BASE (D) upside down and fit over the end of the CYLINDER (B).
- Match the holes on the holes on the cylinder.
- Slip EXTERNAL-TOOH LOCK WASHERS (L) over bottom BOLTS (G).
- Lightly attach BASE (D) to CYLINDER (B) with all bolts and washers.
- Tighten BOLTS (G) with the HEX KEY (K) in a clockwise pattern until flush with BASE (D).

STEP 5.
- Attach LOCKING CASTERS (F) to the long legs of the base through SPLIT WASH-ERS (I) and WASHERS (H).
- Repeat for CASTERS (E) on the short legs of the base. included WRENCH (J).

STEP 6.
- Tighten all screws on the top, and cylinder, adjustment
- Flip the desk onto its wheels.

Complete
Congratulations! Enjoy Your New AIRLIFT Desk!
Use Instruction
- Roll the desk into the desired position.
- Lock casters to prevent the table from rolling.
- To lift, pull up on the adjustment lever.
- To lower, pull up on the adjustment lever while pressing down on the tabletop.
- Release the adjustment lever to lock in table height.
FAQs
Q. Can I use it without the wheels?
A. No. The base is not flat and will wobble without wheels.
Q. How high and how low can my desk go?
A. Maximum height is 41.9 inches. The minimum height is 27.1 inches.
Q. Why won’t my desk adjust its height?
A. The adjustment wire may not be clipped into the adjustment lever correctly. Reference the diagram in STEP 2 for an example.
Q. Why is my desk not locking?
A. If it is not locking contact [email protected].
Desk may not adjust quickly after being unused for a time. To fix, this, pull up on the adjustment lever and lightly “pump” the desktop up and down. The desk should now rise smoothly.
Safety
Do not tip the desk over or place it upside down. Do not place more than 35 lbs. on the desktop.
Specifications
- Dimensions: 28.1″ W x 19.6″ D x (27.1″ to 41.9″) H
- Weight capacity: 35 lbs.
- Weight: 34.6 lbs.
Customer Service Information
- Telephone: (800) 323-5565
- Fax: (310) 533-3899
- Hours: 8:30 AM – 4:30 PM (PST)
- Email: [email protected]
- Homepage: www.SevilleClassics.com.






















