DESKY L-Shape Sit Stand Desk
Welcome!
Thank you for choosing DESKY. We are so excited that you will be creating a healthier work environment with one of our ergonomically designed electric height adjustable desks!
Whether your work happens at home or at the office you can benefit from the latest in height adjustable desk technology that comes in each DESKY height adjustable desk. Now you have the choice to sit or stand with a desk that adapts to your needs and style!
Please read this manual carefully and keep in a safe place for future reference.
We hope you enjoy your new DESKY!
-DESKY Team
SAFETY INSTRUCTIONS
Please read this Instruction Manual carefully. This desk is height adjustable so that it can be best positioned to suit a user’s ergonomic height as directed in this manual.
Failure to comply with or observe all safety, assembly and operating instructions and warnings in this Instruction Manual may result in property damage, bodily injury or damage to the product itself.
Before beginning assembly of your DESKY:
Read and understand this Instruction Manual fully before attempting to assembly or operate the product. This is required to safely and properly operate the product.
Ensure that everyone who uses the product is familiar with the contents of this Instruction Manual.
Users must observe the following safety warnings:
Indoor use only. This product is designed for use in dry environments only and contains electric motors. Risk of fire, electric shock or injury if used outdoors.
Make sure there are no obstacles in the desk’s height path. Do not place objects taller than 50cm under the desk frame. If objects taller than 50cm are required to sit underneath, please refer to the minimum and maximum height limit programming instructions in this manual.
Ensure all cords are an appropriate length to accomodate changes in the height of the desk during operation.
Do not sit or stand on the desk frame once assembled. Do not crawl or lie under the desk frame once assembled.
Only plug the desk into a properly grounded 240v outlet. Unplug the desk from the electrical outlet before moving the desk or adding & removing accessories. Risk of electric shock.
Do not open any desk component or insert any object in a desk component.
Risk of electric shock. Opening any desk component will void the product warranty.
Keep fingers and all body parts clear of the moving desk and all moving components. Risk of crush injury and bodily injury.
The desk’s anti-collision system is premised on proper operation by the user and observation of all directions in this manual. It is not a system that will avoid collisions under all conditions as different impacts may or may not cause the system’s sensors to activate.
The desk’s electric motors require a duty cycle of 10%. A 2 minute on, 18 minute off duty cycle is required based on a continuous motor run time.
Not observing the correct duty cycle can over heat the motors and reduce their lifespan.
Do not expose desk components to liquids. In case of spilled liquids, immediately unplug the desk. Risk of desk failure or electric shock if desk components become wet.
In the event of a power outage/ surge or if the power cord is unplugged, a manual reset may be necessary – please see the troubleshooting section.
PRODUCT USE / LIABILITY
Prior to operating this desk for the first time, users must ensure that all components have been assembled as directed in this manual and that all cables are connected to the control box before it is connected to a power outlet.
Users must inspect all components and cables to ensure there are no signs of damage. Do not operate if there are signs of damage.
This desk is height adjustable so that it can be best positioned to suit a user’s ergonomic height as directed in this manual. Any other use is at the user’s risk.
Under no circumstances does the manufacturer accept warranty claims or liability claims for damages caused from improper use or handling of the desk frame.
UNPACKING AND PREPARATION
UNPACKING
It is important when you receive your DESKY that all frame components are carefully removed from the packaging and inspected for shipping damage.
Please report any damage to us immediately so we can rectify this for you as quickly as possible.
PREPARATION
Check the parts list in this manual to ensure that all necessary components have been received. The DESKY L-Shape Sit Stand Desk components are shipped in two (3) seperate shipping boxes.
If you have also ordered a desktop from us we recommend leaving this in its shipping box until it is needed to avoid any damage to the surface finish.
Remove all desk frame components from the packaging and lay on a non-abrasive surface like a carpet or rug. Contact with hard and/or abrasive surfaces may cause damage to the finish of the desk frame. Count all pieces before disposing of any packaging material.
Before assembly, consider where you want your desk to be located. You will need a clear, dry indoor area to set up and assemble your desk. All the necessary tools to set up your DESKY frame are included for easy assembly.
NOTE: If you have not purchased a desktop from us with threaded screw inserts or pre-drilled holes you will need a Phillips head screwdriver or power drill to fix the frame to your desktop.
PARTS LIST & TOOLS
BOX 1
BOX 2
BOX 3
COMPONENTS DIAGRAM

ASSEMBLY INSTRUCTIONS
Step 1 Place the two crossbar ends (C7) for the main desk section upside down so that the eight (8) machine grub screws (C12) are facing upward as pictured. The crossbar rails (C8) are located inside the crossbar ends and will need to be removed.
Use the small hex key (C14) provided to loosen each grub screw on the crossbar ends and pull apart to full expose the crossbar rails.
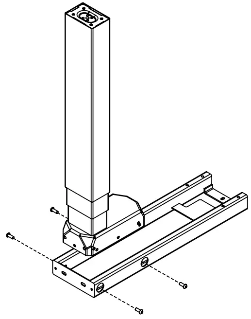
Step 2 Place the crossbar end (C7) upside down as pictured and insert the leg (C1) so that the four (4) holes in the leg line up with the 4 holes on the crossbar end.
Ensure that the crossbar end is orientated so that the machine grub screws (C12) face upward when inserting the leg.
Insert four (4) machine screws M6 (C10) and use the large hex key (C14) to scew in a few turns. Do not tighten completely.
Repeat this step for the second leg and third leg
Step 3 Position the side bracket (C9) against the back of the crossbar end (C7) so that the four (4) holes in the side bracket line up with the holes on the crossbar end.
Insert four (4) machine screws M6 (C10) and use the large hex key (C14) to screw in a few turns. Do not tighten completely.
Start with the two outside screws first.
Repeat this step for the second lega and third leg.
Now tighten all the machine screws M6 from Steps 2 and 3.
Step 4 Place the foot (C6) onto the leg (C1) as shown so that the four holes in each line up.
Insert four (4) machine screws M6 (C10) and use the large hex key (C14) to screw in a few turns. Once all four screws have been started, tighten completely.
Repeat this step for the second foot and third.
Round levelling feet/ studs are attached to each foot to assist with levelling the desk.
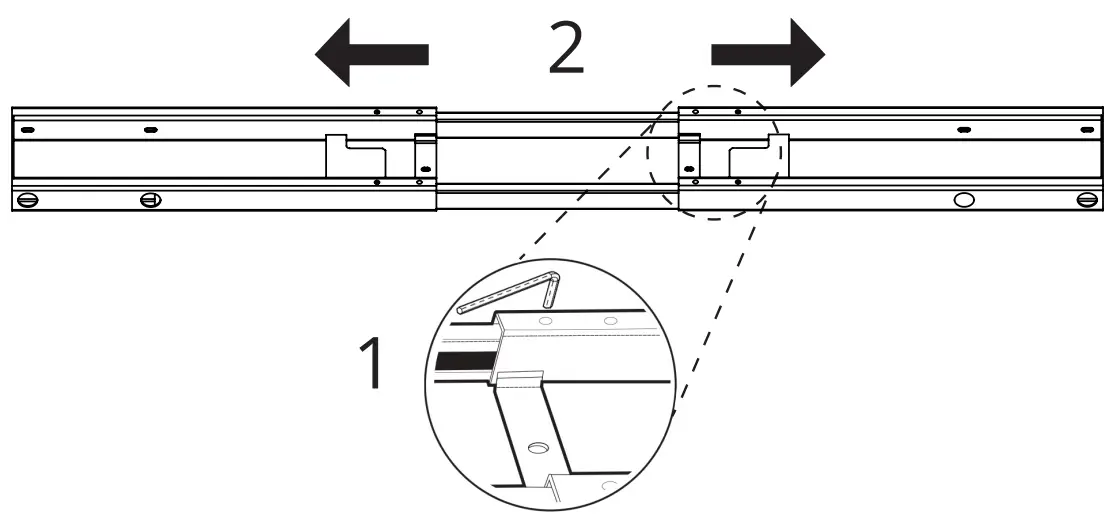
Step 5 Slide the two crossbar rails (C8) into the two crossbar ends (C7) to connect the frame assembly, for the main desk section.
Ensure the crossbar rails are orientated so the rail cut-outs face inward as shown.
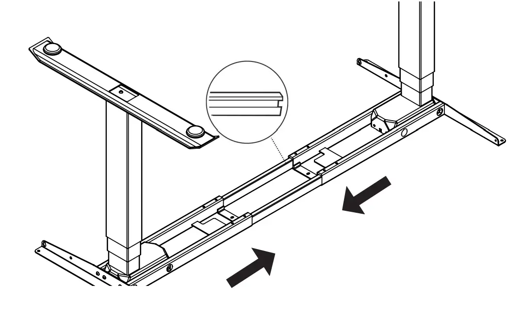
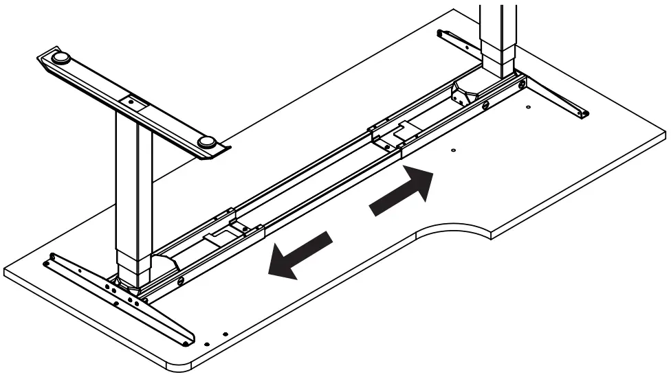
Step 6 Place the main desktop section upside down on a non-abrasive surface like a carpet or rug and place the frame on top. Adjust the width of the frame by pulling the two halves apart to line up with the pre-drilled holes or threaded screw inserts in the desktop.
Step 7 Your desktop will have pre-drilled holes or threaded screw inserts, depending on the desktop you have purchased from us.
Desktops with threaded screw inserts: use eight (8) machine screws M6 (C10) to secure the frame to the desktop.
Desktops with pre-drilled holes: use eight (8) wood screws M5 (C11) to secure the frame to the desktop.
Insert all screws and tighten loosely. Once all eight screws are in, tighten the frame to the desktop completely.
If your desktop does not have threaded screw inserts or pre-drilled holes you will need to pull the frame apart to position each leg assembly close to the edge of the desk. If you have also purchased the Integrated Cable & Power Channel you will need to make sure the frame is not too wide to attach the channel between the side brackets (C9).
To position the frame in this instance we recommend using the guide below to measure the minimum distance between the edge of your desk and screw holes in the side brackets.
1200mm length desktop – 25mm
1500mm length desktop – 50mm
1800mm length desktop – 80mm
Use eight (8) wood screws M5 (C11) to secure the frame to the desktop.
Step 8 Use the small hex key (C14) provided to tighten each grub screw on the crossbar ends (C7) and secure the crossbar rails (C8) in place.
Step 9 Two person lift: with one person on each side of the main desk section, hold the desk top with one hand and the leg with the other. Carefully rotate the desk until the feet on the back side of the desk contact the floor. Ensure the desk is rotated backwards to avoid damage to the front mounted controller.
Rotate the desk again to sit upright on the floor. Use the levelling studs to level the desk. Make sure you position the main section of the corner desk in its allocated spot as moving the fully assembled desk can be difficult.
Step 10 Secure the third and final leg to the return section of your desktop.
Desktops with threaded screw inserts: use four (4) machine screws M6 (C10) to secure the frame to the desktop.
Desktops with pre-drilled holes: use four (4) wood screws M5 (C11) to secure the frame to the desktop.
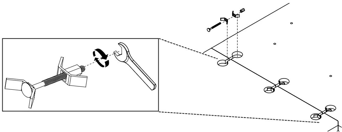
Step 11 With the main section of the desk in position, insert the three biscuits joiners (C16) in to the allocated holes on the edge of the desktop, as shown.
Connect the return of the desk to the main desk section by sliding it into the three exposed biscuit joints, this should freely support it ready for the next step.
This will support the return section of the desk to complete step 12.
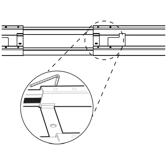
Step 12 Position yourself underneath the upright and assembled desk. Insert the three Mitre Bolts (C15) as shown and tighten until secure.
Finger tighten the bolts first before using the spanner to ensure they are tightened completely.
Note: it is important to check that the main section and the return section are flush and in line with each other before full tightening.
Step 13 Line up the pre-drilled holes in the desktop with the holes on the controller (C3) as shown and use two (2) wood screws M5 (C11) to secure the controller to the desktop.
The controller can be placed anywhere along the front edge of the desk but there are pre-drilled holes on the left and right sides of the desktop for ease depending on whether you prefer the controller to be accessible from the left or right.
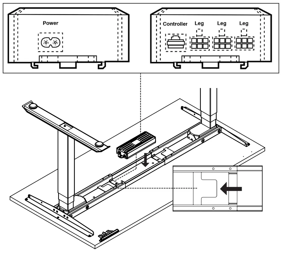
Step 14 Position the Control box in between the two Crossbar rails (C8) so that the attachment guides on the underside of the Control Box line up with the ‘M’ bracket on the one Crossbar end. Slide the Control box onto the ‘M’ bracket all the way until it is securely in place.
Connect the power cable (C4) and the controller (C3) to the control box (C2) as shown. Use the interconnecting IC 1.3m cables (C5) to connect each leg (C1) to the control box.
Use the adhesive backed cable clips (C13) to tidy the cables and secure to the underside of the desktop so the cables do not hang. If you have the Integrated Cable & Data Channel run the cables through the channel.
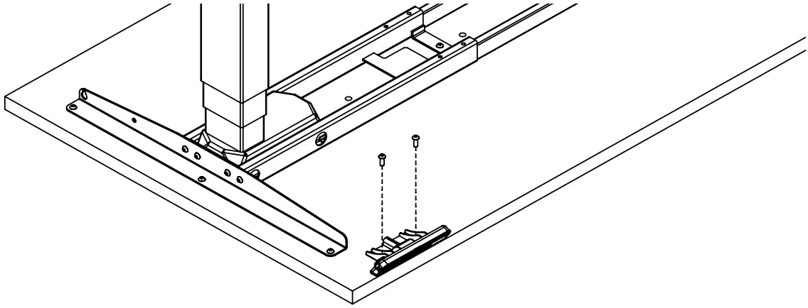
Step 12 If you have purchased the Integrated Cable & Power Channel, secure one end to the side bracket (C9) as shown and extend the width of the channel to meet the other
side bracket.
Make sure the spring release knob is secrewed into the side bracket securely.
Attach the other end of the channel to the side bracket in the same manner.
Tighten the screw in the centre of the channel to secure the two sides of the channel in place. Cables and wiring can be placed in the Channel.
OPERATING CONTROLLER
Please read the Safety Instructions at the start of this manual before proceeding.
Desk Reset Procedure
You will need to RESET the desk prior to first use.
- Press and hold the DOWN button until the desk reaches its lowest position.
- Press and hold the DOWN button again for 10 seconds until the display reads ‘RST’. Note This will look like ‘ASr’ on the display.

- Press and hold the DOWN button again until the desk lowers a little bit more and then slightly rises. Release the DOWN button, the desk will display the height and is now ready for use.
Basic Operation – Up & Down
Press and hold either the UP or DOWN button to raise or lower the height of the desk. Release the button to stop at a particular height or until the desk reaches its upper or lower limit.
PROGRAMMING CONTROLLER
Memory Presets
There are Memory Preset buttons to store four desk heights for quick access to specific height changes.
To set and store memory presets:
- Press and hold the UP or DOWN buttons to raise or lower the desk to your desired height.
- Press the M button. The display will show ‘S-’.

- Press one of the Memory Preset buttons to save the current height of the desk to that number. The display will show ‘S-’ followed by the number you have chosen.

- Press one of the Memory Preset buttons to return the desk to the stored height for that preset.
Memory Presets – One Touch or Constant Touch Settings
The Memory Preset buttons can be programmed so that the user can either make a single ‘One Touch’ of a button or a continuous ‘Constant Touch’ of a button to access the preset heights.
One Touch is the desk’s default setting. Users may want to cahnge this so that presets are only accessible by holding down the Memory Preset button during the entire movement to the preset height.
To set One Touch or Constant Touch Settings:
- Press and hold the DOWN button until the desk reaches its lowest position.
- Press and hold the DOWN button again for 10 seconds until the display reads ‘RST’.
- Press and hold the ‘1’ button for 5 seconds. The display will show ‘10.1’ – This is the default One Touch setting.

- To switch to the Constant Touch setting press the ‘1’ button again for 5 seconds until the display shows ‘10.2’. You can use the ‘1’ button to switch back and forth between each setting.

- Press and hold the DOWN button again until the desk lowers a little bit more and then slightly rises. Release the DOWN button, the desk will display the height and is now ready to use.
Maximum and Minimum Height Limits
The default height range of the desk is from 60cm up to 125cm to provide the widest possible height range that will best suit a user’s ergonomic seated or standing position.
The controller can be programmed to set maximum and minimum height limits if you require. This may be neessary if you need to avoid hitting objects above or below the desk at specific heights.
Note: if previous preset heights fall outside new limits set these will need to be reprogrammed, otherwise the preset will just move to the maximum/ minimum set.
Setting a Maximum Height Limit:
- Press and hold the UP or DOWN button to raise or lower the height of the desk to the required maximum height.
- Press the ‘M’ button once. The display will show ‘S-’ and immediately press the UP button once. The display will show ‘S-’ and flash.

- Press and hold the ‘M’ button until the display shows ‘999’. The maximum height limit has now been set.

Setting a Minimum Height Limit:
- Press and hold the UP or DOWN button to raise or lower the height of the desk to the required minimum height.
- Press the ‘M’ button once. The display will show ‘S-’ and immediately press the UP button once. The display will show ‘S-’ and flash.

- Press and hold the ‘M’ button until the display shows ‘000’. The minimum height limit has now been set.

Removing Maximum and Minimum Limits:
- Press the ‘M’ button once. The display with show ‘S-’.

- Press and hold the ‘M’ button again until the display shows ‘555’.

- The Maximum and Minimum Limits and now been removed.
Controller Safety Lock
The controller can be locked to prevent any undesired or accidental activation of the controller and desk. This is recommended when children are present.
To lock the controller: simply press and hold the ‘M’ button for 10 seconds until the display shows ‘LOC’.![]()
To unlock the controller: press and hold the ‘M’ button for 10 seconds until the display returns to show the current desk height.
Display Height CM/Inches
The controller display height can be programmed to show height in centimetres or inches.
To change display height between cm/inches:
- Press and hold the DOWN button until the desk reaches its lowest position.
- Press and hold the DOWN button again for 10 seconds until the display reads ‘RST’.
- Press and hold the ‘2’ button for 5 seconds. The display will show ‘10.3’ – this is the default for height in centimetres.

- To switch to display the height in inches press the ‘2’ button again for 5 seconds until the display shows ‘10.4’. You can use the ‘2’ button to switch back and forth between each setting.

- Press and hold the DOWN button again until the desk lowers a little bit more and then slightly rises. Release the DOWN button, the desk will display the height and is now ready to use.
Calibrating Display Height
At its lowest position the desk sits at a height of 60cm from the ground to the top of the desk frame (underside of the desktop). If the controller display does not show this height the controller can be calibrated.
To calibrate display height:
- Press and hold the DOWN button until the desk reaches its lowest position.
- Press and hold the DOWN button again for 10 seconds until the display reads ‘RST’.
- Press and hold the ‘M’ button for 5 seconds until the display shows the number programmed as the lowest height.
- Press the UP or DOWN buttons to adjust the height on the display to read ‘60’.
- Wait for the display to read ‘RST’ again.
- Press and hold the DOWN button again until the desk lowers a little bit more and then slightly rises. Release the DOWN button, the desk will display the height and is now ready to use.
Changing Anti-Collision Sensitivity
You may wish to alter the anti-collision sensitivity if you find the anti-collision system is engaging accidentally or you want to increase the sensitivity which the system engages.
Anti Collision Sensitivity:
- Press and hold the DOWN button until the desk reaches its lowest position.
- Press and hold the DOWN button again for 10 seconds until the display reads ‘RST’.
- Press and hold the ‘UP’ button for 5 seconds while the LED flashes ‘RST’ and then switches to either:
10.5 = Most Sensitive (10kg pressure)
10.6 = Mid Sensitivity (15kg pressure)
10.7 = Least Sensitive (20kg pressure) - Release the ‘UP’ button. Press and Hold the ‘UP’ button again until the desired setting is reached. Once the chosen setting is displayed, release the button and wait about 5 seconds for the display to return to ‘RST’.
- Finish the reset process by pressing and holding the ‘DOWN’ button until the desk lowers and rises slightly and then stops
TROUBLESHOOTING
If you experience any issues with your desk, the controller fails to activate the desk when operated, or displays an error message please first perform the following:
- Check the cables are properly connected and secure. Check the cable from the controller to the control box, the power cable to the control box and the IC cables from each leg to the control box.
- Check the feet and levelling studs to make sure the desk is sitting level.
- Check the load on the desk (taking into account the weight of the desktop) does not exceed the desk’s 140kg capacity.
- Perform the Reset Procedure detailed on page 17.
Display Errors – Troubleshooting
H01: ‘HOT’ Overheating Error
- Cause: overheating can occur if the duty cycle of the motors in each leg are exceeded. The desk’s electric motors require a duty cycle of 10%. A 2 minute on, 18 minute off duty cycle is required based on a continuous motor run time. Not observing the correct duty cycle can over heat the motors and reduce their lifespan.
- Troubleshooting: let the unit cool for 20 minutes and do not operate.
Check the load in the desk does not exceed 140kg. Perform the reset procedure.
E01 – E13: ‘Firmware/ Connectivity Error
- Cause: cables are loose, not connected properly.
- Troubleshooting: check all cables are properly connected and secure.
Perform the reset procedure.
If you continue to have issues with your desk after following the above troubleshooting and the reset procedure please contact us immediately
Every DESKY product comes with a Limited Product Warranty. The duration and conditions of this warranty will vary depending on the product you have purchased.
The benefits under this warranty are in addition to other rights and remedies you
may have under law in relation to goods or services sold by DESKY. Our goods
come with gaurantees that cannot be excluded under the Australian Consumer Law.
To view our full warranty policy please visit www.DESKY.com.au/warranty
Desky Pty Ltd
ABN 74 642 737 102
WWW.DESKY.COM.AU

















