Seville Classics WEB162 Mobile Laptop Computer Desk Cart

- BRAND: Seville Classics
- SHAPE: Rectangular
- DESK DESIGN: Computer Desk
- PRODUCT DIMENSIONS: 16″D x 24″W x 32″H
- COLOR: Walnut
- STYLE: Original
- BASE MATERIAL: Metal
- TOP MATERIAL TYPE: Wood
- FINISH TYPE: Painted
- ROOM TYPE: Office
- RECOMMENDED USES FOR PRODUCT: Home
- MOUNTING TYPE: Tabletop
- ITEM WEIGHT: 11 Pounds
- FURNITURE FINISH: Walnut
- SIZE: Flat Desk 24″
Description
The mobile laptop computer desk cart by Seville Classics lets you work how you wish. The cart’s four easy-gliding, 1.5-inch casters are designed with mobility in mind, and two of them lock so the desk stays put after you leave it. You may transfer your laptop or writing setup to any location in your house, dorm, or office with ease. Manually adjust the desk’s height and use the locking knob to keep it there. The desk has a steel structure for steadiness, toughness, and longevity. Enjoy the convenience of a mobile desk that follows you wherever you go by installing the four 1.5-inch casters. The wheeled base is 2.25″ tall. Your work is portable on four 1.5-inch wheels (2 lockable), allowing you to move about the office or other locations.
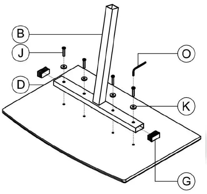
PARTS LIST

- Base Frame (1)
- T-bar (1)
- Neck Frame (1)
- Top (1)
- Locking Caster (2)
- Caster (2)
- T-bar Cap (2)
- Nut (4)
- Crush Washer (4)
- Screw (8)
- Washer (4)
- Tension Knob (1)
- 12 mm Wrench (1)
- 11 mm Wrench (1)
- Allen Key (1)
Please make sure you have all the parts on this list. If you’re missing parts, contact us for replacements at (800) 323-5565 or send an email to [email protected]
ASSEMBLY
STEP 1. ASSEMBLE BASE

TOOL REQUIRED: 12 mm wrench (M)
Screw the stem of the casters (F) into the base by hand. Install the locking casters (E) on the open end of the base (A). Tighten until snug with a 12 mm wrench (M)
STEP 2. INSTALL NECK FRAME

TOOLS REQUIRED: Allen key (O), 11 mm wrench (N)
Mount the neck frame (C) to the base assembly. Secure the screws (J) with the Allen wrench (O) and tighten the nuts (H) with the open-end 11 mm wrench (N).
IMPORTANT: Make sure the neck frame is angled toward the OPENING of the base
STEP 3. ASSEMBLE TOP


TOOL REQUIRED: Allen key (O)
Firmly press the T-bar caps (G) into either end of the T-bar (B). Install screws (J) with washers (K) through the T-bar into the tabletop using the Allen key (O)
IMPORTANT: Make sure the T-bar is angled AWAY from the curve
When installed correctly, the T-bar should point away from the curved table edge
If T-bar is angled toward the curved edge, the installation is backward and will slant
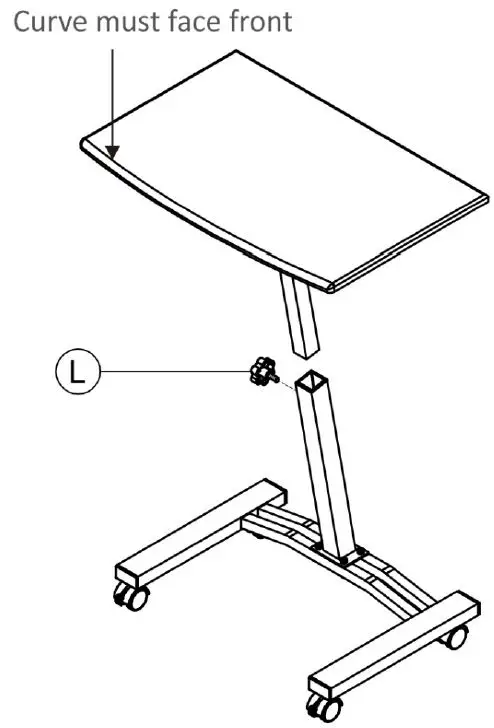
STEP 4. INSTALL TOP

Insert assembled top into frame neck with curved edge facing toward the user. Install tension knob (L) to secure height.
IMPORTANT: Tighten the locking screw against the T-bar to prevent the desk from moving up and down by turning the tension knob (L) clockwise until snug. Turn counter-clockwise until loose to adjust desk height.
STEP 5. COMPLETE!
Congratulations! Your desk is ready to use.
IMPORTANT: If the desktop is slanted, remove it from the assembly, rotate 180 degrees and reinsert.
USE INSTRUCTIONS
- Roll the desk into the desired position.
- Lock casters to prevent the table from rolling.
- Turn the tension knob counter-clockwise to unlock the height adjustment
- Place hands on both sides of the top and pull up to lift; press down to lower the height
- Turn the tension knob clockwise until snug to secure the table height
Important Questions
Q: My table top is slanted when I install it into the base, help!
A: Pull the tabletop assembly from the base on the desk, rotate it 180 degrees, and reinsert it. If the straight edge of the desk faces the base opening while the table is flat, the T-bar is installed incorrectly.
Q. Can I use it without the wheels?
A. Sure! Leave the wheels off to use directly on the floor. This works well on carpeted surfaces and near furniture with low floor clearance. Be careful! The base is steel and can scratch flooring when used without wheels.
Q: Can I use it as a sit-stand workstation?
A: Yes, but the table only rises to 33 inches—about the average height of a normal desk. Seville Classics offers a different Sit-Stand Desk Cart /w Side Table (model #: WEB234) that lifts up to a full 40 inches.
Safety
- Do not tip the cart over or place it upside down
- Do not place more than 15 lbs. on the desktop
Customer Service Information
Telephone: (800) 323-5565
Fax: (310) 533-3899
Hours: 8:30 AM – 4:30 PM (PST)
FAQ’s
The desk is adjusted manually. Pull up the handle on the back of the desk to raise it. Push down on the handle to lower it.
There is a locking knob on the back of each caster that you can turn to lock it in place.
The weight capacity for this product is 30 lbs.
Yes, this cart will work with most laptops and monitors. However, if you are using a laptop that has a screen size larger than 17 inches, you may want to consider a different cart due to size limitations.
The maximum height that this cart can reach is 40 inches. If you need a higher desk, we recommend looking at our other adjustable desks.
Pull the tabletop assembly from the base on the desk, rotate it 180 degrees, and reinsert it. If the straight edge of the desk is facing the base opening while the table is flat, the T-bar is installed incorrectly.
Sure! Leave the wheels off to use directly on the floor. This works well on carpeted surfaces and near furniture with low floor clearance. Be careful! The base is steel and can scratch flooring when used without wheels.
Yes, but the table only rises to 33 inches—about the average height of a normal desk. Seville Classics offers a different Sit-Stand Desk Cart /w Side Table (model #: WEB234) that lifts up to a full 40 inches.
Yes, I bought this and found it was too tall with wheels to fit under my couch. The wheels just screw into the bottom and without them it’s flat. However, the screws hold in the plastic caps on the base so I ended up wrapping some electrical tape around the part of the caps that fit inside the metal base to make them fit more snugly and keep them in place otherwise they would just fall out. I also added stick-on felt pads to the bottom of the metal base on each of the four corners since I am using it on a wood floor. It is working great now and easily slides under my couch.
It can definitely be either tilted or flat. There are two small locks on the underside of the table that allow you to tilt at any angle, or keep it flat. They lock after you determine you’re the best situation for you. I had an issue when I first assembled it, had my laptop on the table, but hadn’t locked the two levers, causing the weight of my computer to tilt the table and the computer to fall. That is how I discovered the two locking levers.
This table is 16 inches between the bottom legs. It fits close in my overstuffed chair. The opening of my chair is 22 inches. You either have to put your legs over the back of the roller base or on the outside of the legs. Neither is a big deal. I use this table every day all day long. For my computer and to eat on. My husband has the same table. We love it.
I see that your question is from 2013 and it’s now 2019, but for anyone else asking, one of the user-contributed videos demonstrates with a ruler that this section of the wheels + bottom rails is 3.5″. Personally, that leaves me about 1/4″.
The top is 23.5″ wide. The base frame is 20.25″ wide. The wheels are 18.5″ apart center-to-center.
I just set mine to a comfortable height but the specs state 20.5″ to 33″
I’ve been able to lift the table top safely to exactly 32″ height (2ft 8in or 81.28cm). Anything beyond that is not recommended because the adjustment knob will not tighten the post.

















