V I V O CART-V06A Black Mobile Computer Workstation

Product Information
The Black Mobile Computer Workstation SKU: CART-V06A is a mobile workstation designed to hold a desktop computer and provide a convenient workspace. The workstation is equipped with a desktop, keyboard shelf, and a tray. It has a weight capacity of 33lbs (15kg) for the desktop and 4.4lbs (2kg) for the tray. The workstation comes with locking casters for easy mobility and stability. It also has telescopic poles with release levers and shelf brackets for easy assembly.
Product Usage Instructions
- Before assembly, check carefully to make sure there are no missing or defective parts.
- Consult the parts list and ensure you have everything you need to assemble your product.
- If any parts are received damaged/defective or if you are missing a part, reach out to customer support within 30 days of product delivery to have it replaced at no cost.
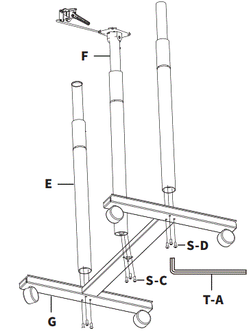
- Install locking casters (H) into the base (G) and tighten it with the wrench (T-B).
- Assemble telescopic pole with release lever (F) to the center of the base (G) using x3 M6x12 Screws (S-C).
- Assemble telescopic poles (E) to sides of the base (G) using x6 M6x15 Screws (S-D).
- Tighten all bolts with the 4mm Allen Wrench (T-A).
- Attach shelf brackets (B) to the telescopic poles (E) using x4 M5x20mm Screws (S-B).
- Attach support plate (C) to the desktop (A) using x4 M5x12mm Flathead Screws (S-E).
- Attach the keyboard shelf (D) to the telescopic pole (F) using x2 M5x12mm Screws (S-A).
- Place the desktop (A) on the support plate (C) and secure it with x4 M5x12mm Screws (S-A).
- Place the tray on the shelf brackets and secure it with x4 M5x12mm Screws (S-A).
- Make sure not to exceed the weight capacity of the workstation.
If you have any questions or concerns during the assembly process, contact customer support at 309-278-5303 or [email protected].
PRE-ASSEMBLY
BEFORE YOU BEGIN
If you do not understand these directions, or if you have any doubts about the safety of the installation, please call a qualified technician. Check carefully to make sure there are no missing or defective parts. Improper installation may cause damage or serious injury. Do not use this product for any purpose that is not explicitly specified in this manual. Do not exceed weight capacity. We cannot be liable for damage or injury caused by improper mounting, incorrect assembly or inappropriate use.
WARNING: CHOKING HAZARD
SMALL PARTS – NOT FOR CHILDREN UNDER 3 YEARS. ADULT SUPERVISION IS REQUIRED.
TIPOVER WARNING
SERIOUS OR FATAL CRUSHING INJURIES CAN OCCUR FROM TIPOVER. TO HELP PREVENT TIPOVER:
- NEVER ALLOW CHILDREN TO CLIMB, STAND, HANG, OR PLAY ON ANY PART OF TV OR TV CART.
- USE TIPOVER RESTRAINT OR ANCHOR STAND TO WALL
USE OF TIPOVER RESTRAINTS MAY ONLY REDUCE, BUT NOT ELIMINATE RISK OF TIPOVER.
WEIGHT CAPACITY

- DO NOT EXCEED WEIGHT CAPACITY. Failure to do so may result in serious injury.
Product Warranty
- For the most up to date details on your product’s warranty, please visit the product’s listing on our website or reach out to customer support.
- vivo-us.com/products/cart-v06a
Returns | Product Didn’t Work Out?
We offer a hassle-free 30-day return on all products. Contact customer support at 309-278-5303 or [email protected].
Please note: For items ordered in error or no longer needed, the return shipping charges will be at the buyer’s expense.
TOOLS NEEDED

- Phillips Screwdriver
DIFFICULTY LEVEL

PACKAGE CONTENTS
- Please consult the parts list below and ensure you have everything you need to assemble your product.
- If parts are missing or damaged, please contact us.

NOTE: SOME HARDWARE INCLUDED MAY NOT BE USED.
ASSEMBLY STEPS
STEP 1: Install Casters


- Screw Locking Casters (H) into the Base (F) and tighten with the Wrench (T-B).
STEP 2: Install Poles


- Assemble Telescopic Pole with Release Lever (F) to the center of the Base (G) using x3 M6x12 Screws (S-C).
- Assemble Telescopic Poles (E) to sides of the Base (G) using x6 M6x15 Screws (S-D). Tighten all bolts with the 4mm Allen Wrench (T-A).
STEP 3: Install Support Plate


- Install Support Plate (C) to Poles (E) using x6 M6x12 Screws (S-C) and tighten with the 4mm Allen Wrench (T-A).
STEP 4: Attach Desktop


- Assemble Desktop (A) to Support Plate (C) using x10 M5x12 Screws (S-A).
- Secure release lever handle to Desktop (A) with x3 M5x12 Screws (S-A). Tighten with a Phillips screwdriver.
STEP 5: Secure Desktop


- Secure center pole to Desktop (A) with x4 M5x20 Screws (S-B) and tighten with a Phillips screwdriver.
STEP 6: Place Items on Desk Riser


- Install Keyboard Shelf Brackets (B) to Desktop using x6 M5x12 Screws (S-A), making sure the curved slots are facing towards the front.
- Tighten screws with a Phillips screwdriver.
STEP 7: Install Keyboard Shelf


- Mount Keyboard Shelf (D) to brackets with x6 M5x12 Flathead Screws (S-E) and tighten with a Phillips screwdriver.
STEP 8: Check Handle

- Ensure the handle is correctly pulling on the release cable. If the desk will not lock, the cable tension is too high and will need to be decreased. If the desk will not raise or lower, the cable tension is too low and will need to be increased.
- Increase cable tension: Loosen both nuts holding the cable housing to the mounting bracket, pull the cable housing away from the handle to increase the tension. Then re-tighten the two nuts.
- Decrease cable tension: Loosen both nuts holding the cable housing to the mounting bracket, push the cable housing towards the handle to decrease the tension. Then re-tighten the two nuts.
STEP 9: Adjust Height

- To adjust height, lift the release lever handle and move the desktop up or down.
CHECK OUT OTHER GREAT PRODUCTS FROM

EXPLORE MORE AT: VIVO-US.COM
We offer a wide array of home & office products to fit your needs. From height adjustable desks to monitor mounts to keyboard trays and more!

- SPEAKER MOUNTS & STANDS: Whether you’re mounting a soundbar or surround sound system, we’ve got a mounting solution to fit your needs.

- HEIGHT ADJUSTABLE DESKS: We offer electric & manual crank standing desks, corner frames, desk & top combos, and more!
- MONITOR MOUNTS: From single monitor mounts to hex mount, gromment or clamp-on, we’ve got a mounting solution for your setup.
WHO WE ARE
VIVO is more than a brand of ergonomic office furniture. We are a team of creative and innovative indivuduals working together to offer high quality, affordable ergonomic solutions. We think and work outside of the box to serve you, our customer, to the best of our abilitiy.
Need Assistance?
We Would Love to Help!
- Personable Customer Support | Mon-Fri 7am-7pm
We offer immediate assistance with rapid response times from customer service agents and product techncians to help you every step of the way!
- Call Us: 309-278-5303
- Average Resolution Time: 5m 4s
- Chat Us: www.vivo-us.com
- Average Resolution Time: < 15m
- Email Us: [email protected]
- Average Resolution Time: 1HR 8M
- 23% within < 15m
- 38% within < 30m
- 61% within < 1hr
- 83% within <2hr
- 92% within < 3hr
LOVE YOUR NEW VIVO SETUP?
- Ready to share that new amazing setup? Want to brag about that amazing new ergonomic solution?
Tag us in your photo!
- FB: VIVO-us
- INSTA: @vivo_us
FOR MORE GREAT VIVO PRODUCTS, CHECK OUT OUR WEBSITE AT: WWW.VIVO-US.COM
ASSEMBLY VIDEO AVAILABLE

- Follow along step-by-step with our video walk through by scanning the QR code with your mobile device or by following the product link: vivo-us.com/products/cart-v06a
Missing a Part?
- If any parts are received damaged / defective OR you are missing a part, please reach out to us within 30 days of product delivery to have it replaced at no cost.
- We are happy to replace parts to ensure you have a fully functioning product.
References
Register a .US.COM domain today!
VIVO - Desks, Monitor Mounting, and More Home & Office Solutions – VIVO - desk solutions, screen mounting, and more
Black 35" Mobile Computer Workstation – VIVO - desk solutions, screen mounting, and more
VIVO - Desks, Monitor Mounting, and More Home & Office Solutions – VIVO - desk solutions, screen mounting, and more















