
Black PC Cart with Storage
Instruction Manual
SKU: CART-PC03
Scan the QR code with your mobile device or follow the link for helpful videos and specifications related to this product.
https://vivo-us.com/products/cart-pc03
GET IN TOUCH | Monday-Friday from 7:00am-7:00pm CST
| [email protected] | |
| www.vivo-us.com Chat live with an agent! | |
| 309-278-5303 |
WARNING!
If you do not understand these directions, or if you have any doubts about the safety of the installation, please call a qualified technician. Check carefully to make sure there are no missing or defective parts. Improper installation may cause damage or serious injury. Do not use this product for any purpose that is not explicitly specified in this manual and do not exceed weight capacity. We cannot be liable for damage or injury caused by improper mounting, incorrect assembly, or inappropriate use.
WARNING: CHOKING HAZARD
SMALL PARTS – NOT FOR CHILDREN UNDER 3 YEARS. ADULT SUPERVISION IS REQUIRED.
PACKAGE CONTENTS

DO NOT EXCEED WEIGHT CAPACITY.
Failure to do so may result in serious injury.![]()
ASSEMBLY STEPS
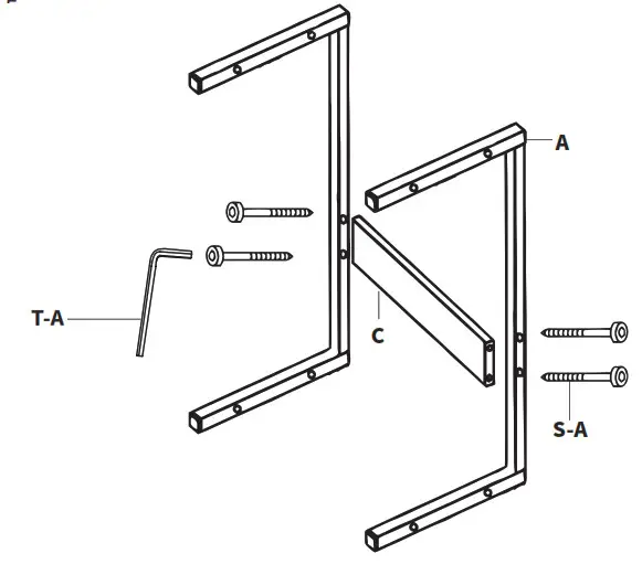
STEP 1
Assemble Cross Brace (C) to Frames (A) using ST5.2x50mm Screws (S-A) and 4mm Allen Wrench (T-A).
STEP 2
Connect Shelf (B) to Frame (A) using ST5.2x50mm Screws (S-A) and 4mm Allen Wrench (T-A).
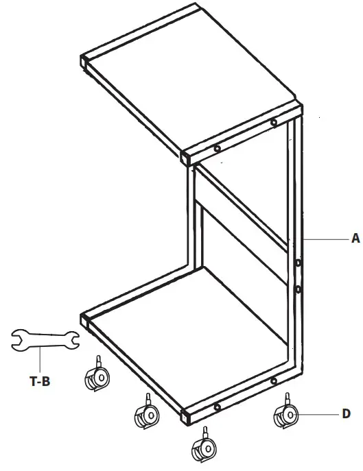
STEP 3
Thread Casters (D) to Frame (A) using Wrench (T-B).
Love your new VIVO setup and want to share?
Tag us in your photo! @vivo_us
LAST UPDATED: 11/29/2022
REV1
Open Monday – Friday 7:00am – 7:00pm CST,
our dedicated support team can offer immediate assistance with rapid response times. If any parts are received damaged or defective, please contact us. We are happy to replace parts to ensure you have a fully functioning product.
309-278-5303
AVG. RESOLUTION TIME (within office hrs): 5M 4S
AVG. RESOLUTION TIME (within office hrs): < 15 M
www.vivo-us.com
Chat live with an agent!
[email protected]
FOR MORE VIVO PRODUCTS, CHECK OUT OUR WEBSITE AT: www.vivo-us.com
AVG. RESPONSE TIME (within office hrs): 1HR 8M
– 23% within < 15m
– 38% within < 30m
– 61% within < 1hr
– 83% within < 2hr
– 92% within < 3hr











