V I V O CART-V03E-W Multi Purpose Mobile Podium

Product Information
| Product Name | Multi-Purpose Mobile Podium |
|---|---|
| SKU | CART-V03E/W |
| Manufacturer | VIVO |
| Contact Information |
|
| Weight Capacity | 44 lbs (20 kg) |
Product Usage Instructions
Before starting the assembly, make sure to read the entire instruction manual and follow all safety warnings.
- Attach the casters to the short and long square tubes using the provided wrench.
- Attach the long square tube to the front of the tube connector and the short square tube to the back of the tube connector using M6x60mm screws, the M6 socket plate, and a 5mm Allen wrench.
- Attach plastic sleeves to the pole set as shown. Slide the inner poles upward with the plastic sleeves fitting inside the outer poles, then extend the inner poles upward until both shelf support holes are visible.
- After making sure the poles are at the same height, insert plastic knobs into the back of the pole set to set the height of the inner poles.
- Slide the tube connector cover over the pole set. Attach the pole set to the tube connector using M6x10mm screws and a 4mm Allen wrench in the back, and M5x6mm set screws and a 2mm Allen wrench on the sides.
- Mount the connecting tube to the pole set using M6x10 screws and a 4mm Allen wrench.
- Attach shelf supports to the pole set using M6x10 screws and a 4mm Allen wrench.
- Attach the shelf to the shelf supports using M4x6mm screws. Tighten with a Phillips screwdriver.
- Mount the right and left connecting plates to the top plate using M6 nuts and the provided wrench. The slots in the connecting plates must be facing towards the front.
- Place the assembled top plate onto the pole set and secure it with M6x10mm screws and a 4mm Allen wrench.
- Insert levers with M6 washers through the slots in connecting plates and screw them into the pole set.
Note: Some hardware included may not be used. Do not exceed the weight capacity of 44 lbs (20 kg).
SKU: CART-V03E/W
Scan the QR code with your mobile device or follow the link for helpful videos and specifications related to this product.
Instruction Manual
https://vivo-us.com/products/cart-v03e
GET IN TOUCH | Monday-Friday from 7:00am-7:00pm CST
[email protected] 309-278-5303 Chat live with an agent!
WARNING!
If you do not understand these directions, or if you have any doubts about the safety of the installation, please call a qualified technician. Check carefully to make sure there are no missing or defective parts. Improper installation may cause damage or serious injury. Do not use this product for any purpose that is not explicitly specified in this manual. Do not exceed weight capacity. We cannot be liable for damage or injury caused by improper mounting, incorrect assembly or inappropriate use.
TIPOVER WARNING
SERIOUS OR FATAL CRUSHING INJURIES CAN OCCUR FROM TIPOVER. TO HELP PREVENT TIPOVER:
- NEVER ALLOW CHILDREN TO CLIMB, STAND, HANG, OR PLAY ON ANY PART OF CART.
- USE TIPOVER RESTRAINT OR ANCHOR CART TO WALL USE OF TIPOVER RESTRAINTS MAY ONLY REDUCE, BUT NOT ELIMINATE RISK OF TIPOVER.
WARNING: CHOKING HAZARD
SMALL PARTS – NOT FOR CHILDREN UNDER 3 YEARS. ADULT SUPERVISION IS REQUIRED.
PACKAGE CONTENTS

DO NOT EXCEED WEIGHT CAPACITY.
Failure to do so may result in serious injury
TOOLS NEEDED
ASSEMBLY STEPS
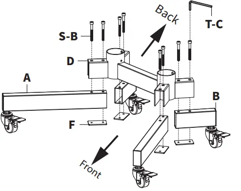
STEP 1
Attach Casters (C) to Short and Long Square
Tubes (A, B) using the provided Wrench (T-D).
STEP 2
Attach the Long Square Tube (A) to the front of the
Tube Connector (D) and the Short Square Tube (B) to the back of the Tube Connector (D) using M6x60mm
Screws (S-B), the M6 Socket Plate (F), and 5mm Allen Wrench (T-C).
STEP 3
Attach Plastic Sleeves (H) to Pole Set (G) as shown. Slide the inner poles upward with the plastic sleeves fitting inside the outer poles, then extend the innser poles upward until both shelf support holes are visible.
STEP 4
After making sure the poles are at the same height, insert Plastic Knobs (J) into the back of the Pole Set (G) to set the height of the Inner Poles.
STEP 5
Slide Tube Connector Cover (E) over Pole Set (G). Attach Pole Set (G) to Tube Connector (D) using
M6x10mm Screws (S-C) and 4mm Allen Wrench (T-B) in the back, and M5x6mm Set Screws (S-E) and 2mm Allen Wrench (T-A) in the sides.
STEP 6
Mount Connecting Tube (I) to Pole Set (G) using M6x10 Screws (S-C) and 4mm Allen Wrench (T-B).
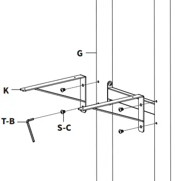
STEP 7
Attach Shelf Supports (K) to Pole Set (G) using M6x10 Screws (S-C) and 4mm Allen Wrench (T-B).
STEP 8
Attach the Shelf (L) to Shelf Supports (K) using M4x6mm Screws (S-D). Tighten with a Phillips screwdriver.
STEP 9
Mount the Right and Left Connecting Plates (N, O) to the Top Plate (M) using M6 Nuts (S-A) and tighten with the provided Wrench (T-D). The slots in the connecting plates must be facing towards the front.

STEP 10
Place the assembled top plate onto Pole Set (G), and secure with M6x10mm Screws (S-C) and 4mm Allen Wrench (T-B)
STEP 11
Insert Levers (P) with M6 Washers (S-F) through the slots in Connecting Plates (N, O) and screw into Pole Set (G).
STEP 12
Attach Soft Pads (Q) to the top front edge of the assembled top plate.
STEP 13
Loosen Levers (P) to adjust the tilt angle, then tighten in the desired position. Adjust the height by loosening Plastic Knobs (J), then tighten at the desired height.
STEP 14

Love your new VIVO setup and want to share?
Tag us in your photo! @vivo_us
Open Monday – Friday 7:00am – 7:00pm CST, our dedicated support team can offer immediate assistance with rapid response times. If any parts are received damaged or defective, please contact us. We are happy to replace parts to ensure you have a fully functioning product.
309-278-5303 AVG. RESOLUTION TIME (within office hrs): 5M 4S
WWW.VlVO-US.com Chat live with an agent!
AVG. RESOLUTION TIME (within office hrs): < 15 M
[email protected]
AVG. RESPONSE TIME (within office hrs): 1HR 8M
- 23% within < 15m
- 38% within < 30m
- 61% within < 1hr
- 83% within < 2hr
- 92% within < 3hr


















