niceboy ION AIR SONIC POP Hair Dryer User Manual
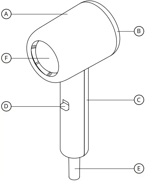
DESCRIPTION

A. Top housing
B. Rear Housing / cold air intake
C. Handle
D. Control switch
E. Cable sleeve
F. Hot air output
HOW TO USE YOUR HAIR DRYER
- Adjust the desired blowing strength: Position 0: OFF Position 1: Half power, medium temperature for gentle drying and styling Position 2: Full power, high temperature for quick drying
- Use the high setting for drying hair and use low setting for styling.
- Should the hair dryer stop working for any reason, turn it off at once and let it cool down.
- Always ensure the switch is set to OFF position before plugging the unit in the power outlet.
- Wind gathering magnetic suction function
DANGER – To reduce the risk of electrocution:
- Always unplug this appliance immediately after use.
- Do not use while bathing.
- Do not place or store this appliance where it can fall or be pulled into a tub of sink.
- Do not place or drop into water or other liquid.
- Do not reach for an appliance that has fallen into water. Unplug immediately.
WARNING:
This appliance is not intended for use by persons (including children) with reduced physical, sensory or mental capabilities, or lack of experience and knowledge, unless they have been given supervision or instruction concerning use of the appliance by a person responsible for their safety. Children should be supervised to ensure that they do not play with the appliance. In order to increase the protection, suggested installs rating surplus operating current in the bathroom power supply electrical return route not surpass 30mA the residual current to install(RCD),the details consultation installs business. Do not use this appliance near bathtubs, showers basins or other vessel containing water. In order to avoid risk, it must be repaired or replaced by the manufacturer, maintenance department or the professional staff from the similar department if the power cord is damaged. Always unplug the appliance after use. If the appliance overheats, it switches off automatically. Unplug the appliance and let it cool down for a few minutes. Before you switch the appliance on again, check the grilles to make sure they are not blocked by fluff, hair, etc. If the main cord is damaged, you must have it replaced by qualified persons in order to avoid a hazard. For additional protection, we advise you to install a residual current device (RCD) in the electrical circuit that supplies the bathroom. This RCD must have a rated residual operating current not higher than 30mA. Ask your installer for advice. Do not insert metal objects into the air grilles to avoid electric shock. Never block the air grilles. Before you connect the appliance, ensure that the voltage indicated on the appliance corresponds to the local power voltage. Do not use the appliance for any other purpose than described in this manual. Do not use the appliance on artificial hair. When the appliance is connected to the power, never leave it unattended. Never use any accessories or parts from other manufacturers or that Niceboy does not specifically recommend. If you use such accessories or parts, your guarantee becomes invalid. Do not wind the main cord round the appliance. Wait until the appliance has cooled down before you store it. Do not pull on the power cord after using. Always unplug the appliance by holding the plug. Do not operate the appliance with wet hands. Always return the appliance to a service center authorized by Niceboy for examination or repair. Repair by unqualified people could result in an extremely hazardous situation for the user. The supply cord cannot be replaced. If the cord is damaged the appliance should be scrapped.
PARAMETERS
Input: 1400 W
Voltage: 220-240 V /50-60 Hz
Protection class of the appliance: II.
Input in off mode: 0,00 W
Niceboy s.r.o. hereby declares that the NICEBOY ION AIRBLADE is in compliance with Directive 2014/30/
EU, 2014/35/EU and 2011/65/EU. The full text of the EU Declaration of Conformity is available on the
following website: https://niceboy.eu/en/declaration/ion-airsonic-pop
INFORMATION FOR USERS ON THE DISPOSAL OF ELECTRICAL AND ELECTRONIC EQUIPMENT (HOUSEHOLDS)

The symbol on the product or in the accompanying documentation means that used electrical or electronic products must not be disposed of with municipal waste. In order to dispose of the product correctly, please take it to the designated collection points where it will be accepted free of charge. Proper disposal of this product will help conserve valuable natural resources and help prevent potential negative environmental and human health impacts that could result from improper waste disposal. For more details, contact your local authority or nearest collection point. Fines may be imposed for improper disposal of this type of waste in accordance with national regulations.
Information for users on the disposal of electrical and electronic devices (corporate and business use) For proper disposal of electrical and electronic equipment for corporate and business use, consult the manufacturer or importer of this product. They will provide you with information on how to dispose of the product and, depending on the date of placing the electrical equipment on the market, who is obliged to finance the disposal of this electrical equipment. Information on disposal in other countries outside the European Union. The above symbol is only valid in European Union countries. For the correct disposal of electrical and electronic equipment, please ask your authorities or equipment dealer for detailed information.
Symbols![]()
MANUFACTURER:
NICEBOY s.r.o., 5. kvetna 1746/22, Nusle, 140 00, Prague 4, Czech Republic, ID: 294 16 876. Made in China.



















