
Mi Ionic Hair Dryer

Precautions
To reduce the risk of malfunction, electric shock, injury, fire, death, and damage to equipment or property, make sure to observe the following safety precautions.
Symbol Descriptions
Warning: Indicates the potential hazards that could result in serious injuries or death.
Note: Indicates the risk of minor injuries.
Alerts the user that certain operating steps are prohibited.
Alerts the user that certain operating steps must be followed in order to safely operate the product.
Warning
This appliance can be used by children aged 8 years and above and persons with reduced physical, sensory or mental capabilities or lack of experience and knowledge if they have been given supervision or instruction
concerning use of the appliance in a safe way and understand the hazards involved.
Children shall not play with the appliance.
Cleaning and user maintenance shall not be made by children without supervision.
Warning
If the supply cord is damaged, it must be replaced by the manufacturer, its service agent or similarly qualified persons in order to avoid a hazard. When the appliance is used in a bathroom, unplug it after use since the proximity of water presents a hazard even when the appliance is switched off; for additional protection, the installation of a residual current device (RCD) having a rated residual operating current not exceeding 30 mA is advisable in the electrical circuit supplying the bathroom. Ask your installer for advice.
Children are being supervised not to play with the appliance.
The appliance is not to be used by persons (including children) with reduced physical, sensory or mental capabilities, or lack of experience and knowledge unless they have been given supervision or instruction.
Do not use the power cord or plug if it is damaged or overheated, as this may cause burns, electric shocks, or cause fire due to a short circuit.
Do not use the device if the plug is loose in the socket as this may cause burns, electric shocks, or cause fire due to a short circuit.
Warning
Do not plug or unplug the power cord with wet hands, as this may result in electric shocks and injuries.
Do not use the power cord when it is wrapped, as this may result in electric shocks and cause fire due to a short circuit.
Do not damage, modify, vigorously bend, pull, twist, place heavy objects on, or squeeze the power cord. These actions may result in electric shocks or cause fire due to a short circuit.
Do not place the hairdryer on its air intake while turned on, as its heating coil may overheat and cause fires.
Do not block or insert foreign objects into the air output and air intake, as this may cause burns, electric hocks, or cause fires due to a short circuit.
Do not submerge the hairdryer in water.
Do not use this hairdryer in humid environments.
Keep the hairdryer dry, otherwise, it may result in electric shocks or cause fires due to a short circuit.
Do not use the hairdryer with wet hands, as this may result in electric shocks or cause fires due to a short circuit.
Warning
Do not use the hairdryer near petroleum gas or other flammable goods (such as volatile agents, paint thinners, sprays) as this may result in explosions or cause fires due to a short circuit.
Do not leave the hairdryer when it is turned on, as this may cause fires due to a short circuit.
Do not wrap the power cord around the body of the hairdryer during storage. Doing so may result in the power cord becoming loose, electric shocks, or cause fires due to a short circuit during future use.
Do not store the hairdryer in a highly humid place, as this may result in electric shocks or cause fires due to a short circuit.
Do not store the hairdryer within the reach of children, as this may result in electric shocks and injuries.
Do not repair, disassemble, or modify this product yourself, as this may cause injuries due to fire or malfunctioning.
Do not use this appliance near bathtubs, showers, basins, or other vessels containing water.
Warning
Do not pull the power cord when unplugging the power plug. Make sure to hold the power plug when unplugging it. Otherwise, the power cord may disconnect, cause burns, cause electric shocks, or cause fires due to a short circuit.
Fully plug in the power plug.
Make sure your power supply is 220 – 240 V~.
Only use power outlets, do not use extension cords, as this may result in electric shocks and cause fires due to a short circuit.
To prevent safety hazards, the power cord needs to be replaced by a repair technician if damaged.
This product is not intended for use by persons with physical, sensory, or mental disabilities, or those who lack the experience and knowledge (including children). When such persons use this product, a guardian must supervise and guide their use and be responsible for the safety of the user. Otherwise, it may cause injuries or other accidents.
Warning
In the event of a malfunction or breakdown, such as no air blowing, frequent stops, internal overheating, or smoking, please stop using the product immediately, unplug the power cord.
Using the product in this state may result in electric shocks, injuries, or cause fires due to a short circuit.
Note
This hair dryer has an overheating protection function that automatically turns off the power when the hair dryer’s temperature gets too high. Should this happen, you should immediately turn off the switch, unplug it from the power socket, and wait for a few minutes to allow it to cool off before using it again. Turn on the switch again after checking that the air intake and output are free of fluff and hair.
Illustrations of products and accessories in the user manual are for reference purposes only. Actual products and functions may vary due to product enhancements.
Note
During use, the air output and air nozzle may get hot, so do not touch them with your hands, otherwise, this may cause burns.
Avoid dropping the hairdryer or allowing the hairdryer to be hit hard, as this may result in electric shocks or cause fires due to a short circuit.
Do not use the hairdryer when the air intake is damaged, otherwise, your hair may get caught in the air intake and cause damage to the hair.
Do not use the hairdryer on children, as this may cause burns.
Do not store the power cord when it is twisted. Otherwise, it may break, cause burns, electric shocks, or fire due to short circuits during future use.
This product is only to be used to dry and tidy hair. Do not use it on pets or to dry shoes, clothing, etc. Otherwise, it may cause burns or fires due to a short circuit.
![]()
We Hangzhou Lexiu Electronic Technology Co., Ltd., hereby, declares that this equipment is in compliance with the applicable Directives and European Norms, and amendments. The full text of the EU declaration of conformity is available at the following internet address: http://www.mi.com/global/service/support/declaration.html

All products bearing this symbol are waste electrical and electronic equipment (WEEE as in directive 2012/19/EU) which should not be mixed with unsorted household waste. instead, you should protect human health and the environment by handing over your waste equipment to a designated collection point for the recycling of waste electrical and electronic equipment, appointed by the government or local authorities. Correct disposal and recycling will help prevent potential negative consequences to the environment and human health. Please contact the installer or local authorities for more information about the location as well as the terms and conditions of such collection points.
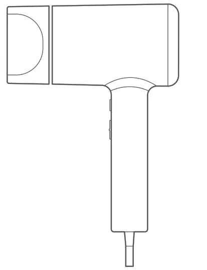
Product Overview
| 1.On/Off Switch II High I Low O Off 3.Water Ion Indicator 5. Air Nozzle 7. Air Intake 9.Power Cord | 2.Temperature Button •Hot •Hot & Cold Cycle •Cold 4.Air Output 6.Air Duct 8.Handle |
Features
This hair dryer uses ionic haircare technology, which helps to reduce hair static electricity, to keep moist, to tighten hair scales, and make hair more healthy and lustrous.
- Water ions are microparticle ions that are decomposed by water at high voltage and are surrounded by moisture.
- In the temperature modes Hot, Hot & Cold Cycle, and Cold, this hair dryer blows air containing water ions and the water ion indicator will always be on.
- The following conditions may occur when this hairdryer is generating water ions:
•Water droplets coming out of the water ion emission port are located in the air output.
•It emits a unique odor while using, yet it does not cause any harm to the body. - Those with the following types of hair may benefit less from the water ion effect:
•People with natural curls
•People whose hair easily curls
•People with good hair quality
•People who got a negative-ion perm less than 3 to 4 months ago
•People with short hair - Water ions are produced by accumulating moisture in the air, but in some cases, it may be difficult to produce water ions due to environmental conditions.
For example, negative ions are generated instead when it is difficult to gather moisture from the air at a low temperature and low humidity.
Instructions
- First, make sure the switch is in the off position ( ), then plug the power plug into the socket and switch to the low ( ) or high ( ) setting.

- Each time the hairdryer is turned on, the temperature is set to “Hot” by default, and the indicator beside the temperature button is orange. Press the button to change the mode as shown in the figure below.

- This product is equipped with a magnetic easy-to-assemble-and-disassemble air nozzle that can rotate 360 degrees.

- Please turn off the hairdryer before mounting the air nozzle. To avoid burns, do not adjust, assemble, or disassemble the air nozzle during use.

- While using, please make sure that the distance between the hair and the air intake is more than 10 cm to prevent hair from getting caught in the hairdryer. While using, please make sure that the distance between the hair and the air output is more than 3 cm to avoid burnt hair.

- After use, turn off and unplug the power cord.

Maintenance
- When cleaning, make sure that it is turned off and the power cord is unplugged.
- Please use a towel, cotton swab, or toothbrush to remove dust from the air intake and air output regularly.
- To avoid damaging the product, do not press or rub your fingernails or sharp objects into the air intake or air output.
- Do not use alcohol, nail polish remover or detergent to clean the product, as they may cause malfunctions, racking, or fading.
This symbol indicates “Do not use while bathing or showering”.
This symbol indicates “Do not use this appliance near bathtubs, showers, basins or other vessels containing water”.
Specifications
| Name | Mi Ionic Hair Dryer |
| Model | CMJ01LX3 |
| Rated Voltage | 220 – 240 V~ |
| Rated Frequency | 50 Hz |
| Rated Power | 1800 W |
| Item Dimensions | 160 × 77 × 215 mm (Including air nozzle) |
Importer:
Beryko s.r.o.
Na Roudné 1162/76, 301 00 Plzeň
www.beryko.cz
![]()
User Manual Version: V1.0
For further information, please go to www.mi.com
Manufactured by:Hangzhou Lexiu Electronic Technology Co., Ltd.
Address305-307, Building 8, Science and Technology Park 20, Baiyang Street,
Hangzhou Economic and Technological Development Zone, 310018 Zhejiang, China
Read this manual carefully before use, and retain it for future reference.

























