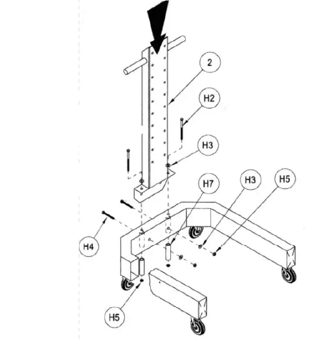
GLOBAL INDUSTRIAL 436998BK Mobile Powered Orbit Cart

Mobile Powered Orbit Cart with 40AH Battery or 100AH Battery
Models
436998BK/ 436999BK




Model
242257BK




Models
436990BK / 436991BK


SCANNER HOLDER
Models
436993BK

Trash Can Support

Global Industrial Small Orbit Mobile Base with 5 Casters, Black436987BK

Printer Shelf For Global Industrial Small Orbit Mobile Base with 5 Casters 436988BK

Global Industrial Plastic Laminate Worksurface, 27 Wx 20 D Black 242257BK 
Trash Can Holder For Global Industrial Small Orbit Mobile Base with 5 Casters 436990BK 
Trash Can For Global Industrial Small Orbit Mobile Base with 5 Casters 436991BK 
Scanner Holder For Global Industrial 436993BK Sold Separately

















