Belavi® 10-Foot Offset Umbrella User Manual

Getting Started
Ensure all parts packaged in carton match the parts list. Remove all protective materials and place parts on a non-abrasive surface to avoid scratching. If any parts are missing or damaged, DO NOT attempt to assemble. Please contact our customer service center (Monday-Friday 9:00am – 5:00pm EST) at 1-800-599-8898.
Caution
Read all the instructions before assembly. Failure to comply with instructions may result in faulty assembly and potential injury! Assemble product on a soft, non-abrasive surface such as a carpet or cardboard to avoid damaging the item. Seek assistance to assemble bulky or heavy items. After final alignment, make sure all bolts and nuts are securely tightened with screw covers pressed in place.
Cleaning & Maintenance
Wash canopy with a mild solution of soap and water; rinse thoroughly. Dry completely.
Warning: Product must be weighed down with counterweight such as an offset umbrella base (not included).
Pack Contents / Parts
A Umbrella Frame
B Bottom Pole
C Top Cross Bar
D Bottom Cross Bar
E Locking Knob
F Bolt (M8*20MM)
G Wrench
Parts List

Hardware List

Assembly Instructions

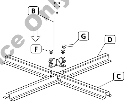
STEP 1:
Place the Top Cross Bar (C) over the Bottom Cross Bar (D) to form an “X.” Attach the Bottom Pole (B) to the cross bars using the four Bolts (F) with provided washers.
*Please see descriptions for individual pieces that make up each part found within the following illustrations to better understand the instructions to complete assembly.

STEP 2:
Place the Umbrella Frame (A) in the correct orientation as illustrated above, with the pole placed in between the umbrella canopy, and the canopy arm. Turn the crank handle clockwise until the line inside the canopy arm tightens, see Fig. 1. Connect the two ends of the canopy arm together using the push pins found on either side of the canopy arm, see Figure 1. Use the push pins to connect the top of the umbrella canopy to its housing, see Fig. 2 & 3.
*Place a counterweight such as an offset umbrella base (not included) that can be filled with water or sand, or triangular weight bases (not included) before proceeding further. An offset umbrella base should be able to hold 100lbs. of sand or water, or 4 triangular weight bases, minimum 25lbs. each. This is the recommended amount of weight to maintain product stability, especially while umbrella canopy is open.

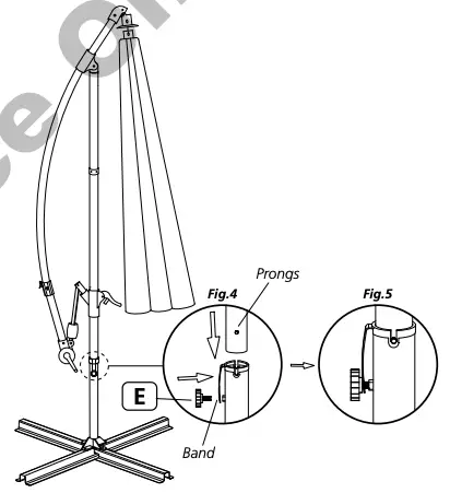
STEP 3:
Place the pole of the Umbrella Frame (A) inside of the Bottom Pole (B) so that the prongs fit within groves at the top of part B, see Fig. 4. Insert Locking Knob (E) through band found at the top of part B, and bolt-threading of this part, see Fig. 4. Tighten the Locking Knob (E) until pressed against the pole of the Umbrella Frame (A) enough to hold it in place, see Fig. 5. Over tightening may dent or chip away at the protective coating of the Umbrella Frame (A).

STEP 4:
Release lever on the Umbrella Frame (A) by lifting it up to unlock it, see Fig. 6. Lift the lever sleeve up until you reach the stopper that prevents it from going further up the pole, do this without extending the canopy arm outward. Pull down on the lever to lock it place, see Fig. 6.

STEP 5:
Lift the crank base so that the canopy arm extends outward on the Umbrella Frame (A). Push the bracer against where the lever sleeve connects the arm that extends to the crank, see Fig. 7. Having the bracer pushed down will lock the extension arm, and the canopy arm in place.
*Please note that the umbrella canopy is not intended to be stiff when fully opened as is meant to have some room to sway. This is needed so that the umbrella canopy can fold nicely against other pieces that make up the Umbrella Frame (A) when not in use.

STEP 6:
With the canopy arm extended outward, use the latch to lock the canopy arm to the arm sleeve for more security, see Fig. 8. Before turning the crank clockwise to open the umbrella canopy for the first time, please be sure to have a counterweight (not included) in place to prevent the umbrella from tipping over. Turn the crank clockwise to open the umbrella canopy for the product to be used.
Instructions for Use

- Close the umbrella canopy by turning the crank counterclockwise.
- Pull up on bracer to unlock it from lever sleeve.
- Release latch to unlock it from arm sleeve, and push down on crank base so that the canopy arm retracts, and the Umbrella Frame (A) goes back to a folded position.
- Unlock lever, and push down on lever sleeve until it can’t go down further. Lock the lever down to secure the Umbrella Frame (A) in its folded position.
- Use the ties found on the umbrella canopy to tie the canopy down.
US
Made in China
DIST. & SOLD EXCLUSIVELY BY:
ALDI
BATAVIA, IL 60510


















