BACKYARD 10x13ft Rectangle Offset Umbrella with Resin Base Instruction Manual
Preparation
CAUTION: Do not use sharp tools to remove the protective material, as it may damage the product. Be careful not to throw away small parts such as bolts, washers, etc., that may be wrapped in the protective materials.
Before assembling make sure all parts are present. Compare parts with package contents list and hardware contents list. If any part is missing or damaged, do not attempt to assemble the product. Contact our customer service representative for assembly assistance or questions toll free at 1-855-880-7205.
Tools required for Assembly: Open end wrench or adjustable wrench (not included) Phillips-head screw driver (not included)
Hardware Contents

| Part | Description | Quantity |
| GG | Hex Bolt (M10-1.5×20 A2-70) | 4 |
| HH | Hex Bolt (M10-1.5×25 A2-70) | 9 |
| KK | Washer (M10 A2-70) | 13 |
| E | Hex Wrench | 1 |
Package Contents

| Part | Description | Quantity |
| A | Blow Molded Base Outside (with cap) | 2 |
| B | Blow Molded Base Inside (with cap) | 2 |
| C | Lower Cross Leg | 1 |
| D | Upper Cross Leg | 1 |
| F | Holder Pole | 1 |
| G | 360° Swivel | 1 |
| CAN | Umbrella Frame (with canopy) | 1 |
| 7 | Glide Handle | 1 |
| L | Pole Support Cap | 1 |
| M | Cap for Blow Molded Base | 4 |
| P | Connected Pole | 1 |
| Q | Crank Handle | 1 |
Assembly
Remove all protective materials. Be careful not to throw away small parts such as bolts, washers, etc. that may be wrapped in the protective materials.
Step 1: Put the cross legs (C & D) on a flat surface. Attach the bottom of connected pole (P) to the upper cross leg (D) and insert a long bolt (HH) through a washer (KK) and tighten using the hex wrench (E). Then attach the 360° swivel (G) to the upper side of the connected pole (P) and insert a long bolt (HH) through a washer (KK) and tighten using the hex wrench (E). Finally, put the holder pole (F) onto the upper side of the 360° swivel (G) and insert a short bolt (GG) through a washer (KK) and tighten using the hex wrench (E). Double check all bolts if tighten.

Step 2: Insert the umbrella frame with canopy (CAN) onto the holder pole (F). At the same time, slide holder pole collar onto the holder pole (F). Place a long bolt (HH) through a washer (KK) into the holder pole (F) and use the hex wrench (E) to tighten. Attach canopy crank handle (Q) onto the glide handle (7).
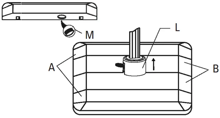
Step 3: Fill up each blow molded base (A & B) with 75 Ibs of sand water and cover with cap (M). Make sure the gross weight of all four base sections is at least 300 Ibs. Place the pole support Cap. (L) onto the holder pole (F) and lay everything on top of the blow molded base (B).
Umbrella Operation

Step 1: Unfasten the storage straps around the canopy. To open the umbrella, squeeze the glide handle (7) and grip to slide up or down to achieve desired canopy angle. Release the grip to lock into place. To fully open the canopy, turn the crank handle (Q) until the canopy reaches proper tension. If the crank becomes too hard to crank, check to see it the rope has come off the pulley. If you continue to turn the crank, the rope could break.
Step 3: The umbrella has a unique design that moves the pole out of your way and off to the side. The multiple position canopy can rotate 360° around the axis of the main pole to shade your desired area.
Step 4: If the canopy does not cover the area on your patio as expected (does not offer shade to the area), you may need to adjust the position of the canopy to cover your desired area. Step on the footrest to achieve 360° rotation as shown above. Turn the umbrella pole around its axis to move canopy over desired area.
Canopy Care
- Simply clean the umbrella canopy with soft brush and mild detergent.
- DO NOT machine wash or dry.
- DO NOT iron.
- AIR DRY the canopy thoroughly before storing for extended period of time.
Make sure the canopy is completely open during the drying process to prevent shrinkage.
Warnings and Cautions
- Read the entire instructions before beginning and follow the steps outlined.
Failure to assemble and install as instructed could result in the umbrella tipping over causing personal injury and/or property damage. - This umbrella is designed for easy operation, sunshade and decoration purpose only. It is NOT recommended that this umbrella be used during periods of high wind and rain. Always take the umbrella down during high or gusting wind and rain, when not in use and in the off-season. Failure to do so may result in personal injury and/or property damage.
- Please keep children away from the umbrella during assembly to avoid injury.
NOTE: Placement of the umbrella over or near a swimming pool will cause premature fading not covered under our warranty, especially darker colors. Please contact customer service to purchase a replacement canopy.
NOTE: To Prevent damage to the canopy DO NOT leave the umbrella open directly facing the wind. Always take down the umbrella when not in use and during high or gusting wind and rain.
Replacement Parts
For replacement parts, call our customer service department at 1-855-880-7205, 8:00am-5:00pm., EST, Monday-Friday.
| Part | Description | Quantity | Re-Order Number |
| A | Blow Molded Base Outside | 2 | BSE-ABMP-11-BWN-T-C2 |
| B | Blow Molded Base Inside | 2 | BSE-BBMP-11-BWN-T-C2 |
| C | Lower Cross Leg | 1 | CSL-C78RX-BWN-T-C2 |
| D | Upper Cross Leg | 1 | CSL-D78RX-BWN-T-C2 |
| F | Holder Pole | 1 | HDP-F78RX-BWN-TM |
| G | 360º Swivel | 1 | PDL-360-SWVL |
| KIT | Hardware Kit | 1 | HDW-952371-KIT |
| CAN | Canopy | 1 | CAN-10X13R-8RBS-TN |
| 7 | Glide Handle | 1 | CRK-78RX-BWN |
| L | Pole Support Cap | 1 | BSE-78PSC |
| M | Cap for Blow Molded Base | 4 | BSE-CAP-11-BWN |
Warranty
ONE YEAR WARRANTY
This product is covered under a manufacturer’s one year warranty from date of purchase against defects in materials and workmanship. This warranty does not cover damage due to neglect, abuse or weather related damage. For full warranty disclosure, email us at [email protected], call toll free at 1-855-880-7205 or send mail to: 1040 Boulevard SE Ste. B, Atlanta GA 30312.
HOWTO FILE A CLAIM
If you are within your warranty you must have your receipt and pictures of your information to send to ATLeisure at [email protected], or send by mail to 1040 Boulevard SE Ste. B, Atlanta GA 30312.
Support
ATLeisure, LLC
1040 Boulevard SE, Suite B
Atlanta, Georgia 30312, USA
Customer ServiceToll Free 1-855-880-7205
8am – 5pm Eastern Time, Monday through Friday
www.atleisure.com
2020 Distributed by Menard, Inc., Eau Claire, WI 54703















