Belavi 10-FOOT OFFSET SOLAR-LED UMBRELLA

DANGER
Keep children out of the assembly area during assembly.
WARNING
- To prevent damage to the canopy, open the umbrella facing the opposite direction that the wind is blowing.
- Umbrella counterweight is not included. Do not use this umbrella without an umbrella counterweight.
- Umbrella is NOT suitable for use in conditions of rain showers or light wind. Failure to do so may result in personal injury and/or damage.
CAUTION
- Assemble and use umbrella on a flat surface.
- Recommend inserting the umbrella into an umbrella counterweight (not included) to secure umbrella in an upright position.
- Placement of the umbrella over or near a swimming pool can cause premature fading of the canopy. This is not covered under the warranty.
- Close the umbrella and use the canopy ties when umbrella is not in use.
Getting Started
Ensure all parts packaged in carton match the parts list. Remove all protective materials and place parts on a non-abrasive surface to avoid scratching. If any parts are missing or damaged, DO NOT attempt to assemble. Please contact our customer service center (Monday-Friday 9:00am – 5:00pm EST) at 1-800-599-8898.
Caution
Read all the instructions before assembly. Failure to comply with instructions may result in faulty assembly and potential injury! Assemble product on a soft, non-abrasive surface such as a carpet or cardboard to avoid damaging the item. Seek assistance to assemble bulky or heavy items. After final alignment, make sure all bolts and nuts are securely tightened with screw covers pressed in place.
Cleaning & Maintenance
Spot clean with mild solution of soap and water. Allow to air dry.
Warning: Product must be weighed down with counterweight such as an offset umbrella base (not included). A retail counterweight product intended
to secure umbrellas of this type in place is highly recommended. Total weight should be a minimum of 150lbs. in total. Using only sandbags, cinderblocks, or other unconventional weights is not recommended.
Pack contents / parts
- Umbrella Frame
- Solar Panel
- Bottom Pole
- M8x20 Bolt
- Washer
- Top Crossbar
- Bottom Crossbar
- Locking Knob
- Wrench

| Description | Qty | |
| A | Umbrella Frame | 1 |
| B | Solar Panel | 1 |
| C | Bottom Pole | 1 |
| D | M8x20 Bolt | 4 |
| E | Washer | 4 |
| Description | Qty | |
| F | Top Crossbar | 1 |
| G | Bottom Crossbar | 1 |
| H | Locking Knob | 2 |
| I | Wrench | 1 |
Assembly Instructions

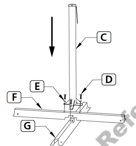
STEP 1:
Place the Top Crossbar (F) over the Bottom Crossbar (G) to form an ‘X’. Attach the Bottom Pole (C) to the crossbars using the four M8x20 Bolts (D) with Washers (E).

STEP 2:
Place the Umbrella Frame (A) in the correct orientation as illustrated above, with the pole placed in between the umbrella canopy, and the canopy arm. Turn the crank handle clockwise until the line inside the canopy arm tightens some. Use the push pins to connect the top of the umbrella canopy to the umbrella housing, see Fig. 1 & 2.
STEP 3:
Run power cable through the back opening of the solar panel housing, see Fig. 3. Connect power cable to cable found on the back of the Solar Panel (B), seeFig. 4. Insert back of Solar Panel (B) into the opening of the solar panel housing. Turn Solar Panel (B) clockwise to secure it to the solar panel housing, see Fig. 5. See Figure 6 for how it should look when assembly is complete Place a counterweight such as an offset umbrella base (notincluded) that can be filled with water or sand, or triangular weight bases (not included) before proceeding further. An offset umbrella base should be able to hold 150 lbs. of sand or water, or 4 triangular weight bases, minimum 38 lbs. each. This is the recommended amount of weight to maintain product stability, especially while umbrella canopy is open.
STEP 4:
Place the pole of the Umbrella Frame (A) inside of the Bottom Pole (C)C so that the prongs fit within groves at the top of part C, see Fig. 7. Insert Locking Knob (H) through band found at the top of part C, and intothe bolt-threading of this part, see Fig. 7. Insert second Locking Knob (H) into bolt-threading underneath band. Tighten the Locking Knobs (H) until pressed against the pole of the Umbrella Frame (A) enough to hold it in place, see Fig. 7. Over tightening may dent or chip away at the protective coating of the Umbrella Frame (A).

STEP 5:
Release lever on the Umbrella Frame (A) by lifting it up to unlock it, see Fig. 8. Lift the lever sleeve up until you reach the stopper that prevents it from going further up the pole, do this without extending the canopy arm outward. Push down on the lever to lock it place. Please note that the umbrella canopy is not intended to be stiff when fully opened as is meant to have some room to sway. This is needed so that the umbrella canopy can fold nicely against other components of the Umbrella Frame (A) when not in use.

STEP 6:
With the lever sleeve locked in place, extend the canopy arm out enough to begin opening the umbrella canopy. Do this without extending the canopy arm to its stopper and without securing the extension arm inplace using the bracer. Before turning the crank clockwise to open the umbrella canopy for the first time, please be sure to have a counterweight (not included) in placeto prevent the umbrella from tipping over. Turn the crank clockwise to open the umbrella canopy completely. Having the crank and its base up to your chest is normally what is needed to give the umbrella canopy adequate space to open.

STEP 7:
Extend the canopy arm to its stopper. Push the bracer against where the lever sleeve meets the extension arm to lock the arm in place, see Fig. 10.

STEP 8:
Flip the power switch ‘on’ when ready to use. Be sure to allow the battery of the solar panel to charge when power is running low.

How to close the umbrella
- Lift the bracer away from lever sleeve to unlock these parts.
- Bring crank base to chest lever by pulling the canopy arm towards you.
- Turn the crank counterclockwise to close the umbrella canopy, see Fig. 12.
- Lower canopy arm to its folded position.
- Unlock lever and lower canopy arm and lever sleeve gently.
- Use the ties found on the umbrella canopy to tie the canopy down
Charging The Lights
- Put the solar umbrella in direct sunlight to charge the batteries for 8 hours before the first use.
- LED lights last for 6 to 7 hours on a single charge.
- If lights are not working, fully charge the solar panel and try again
INFORMATION: Please remove the plastic film on the solar panel. This protective film is to prevent damage during shipping. Failure to remove the film willresult in the solar panel not functioning properly. Please note that batteries can discharge if they are left unused or uncharged for a long period of time. We recommend you charge your solar umbrella for at least 8 hours in direct sunlight before the first use. Failure to charge the batteries will result in premature dimming of the lights in your new solarumbrella. For everyday normal use, turn on the light switch at nighttime when you want to use the solar light and turn off the light switch after every use. MAKE SURE THE LIGHT SWITCH IS IN THE OFF POSITION IN THE DAYTIME FOR THE SOLAR PANEL TO RECHARGE THE BATTERIES.
Battery Replacement
We recommend that you change the batteries in your solar light umbrella every year or when you feel the light output is diminished. Use only three (2) AA size Ni-MH 1200 mAh rechargeable batteries from any major retailer.
- Install only new batteries of the same type in your product.
- Failure to insert batteries in the correct polarity, as indicated in the battery compartment, may shorten the life of the batteries or cause batteries to leak.
- Do not mix old and new batteries.
- Do not mix Alkaline, Nickel Cadmium or Lithium rechargeable batteries.
- Do not dispose of batteries in fire.
- Batteries should be recycled or disposed of as per state, provincial and local guidelines.
WARRANTY CARD
Please contact our AFTER SALES SUPPORT by phone or e-mail when needing assistance with your purchase. Please retain your sales receipt which validates the 1-year Limited Warranty. Only submit the Warranty Card when needing assistance with a faulty part
AFTER SALES SUPPORT
SERVICE CENTER
TDC USA, Inc. 5 Industrial Road, STE 1Fairfield, NJ 07004-3017 United States of America Phone lines available Monday to Friday 9am – 5pm EST
Dear Customer: The ALDI warranty is a full warranty offering you the following benefits: Warranty period: Costs:Hotline: Operating hours: 1 year* from date of purchase 6 months for movable parts and consumables under normal and proper conditions of use.Free repair/exchange or refund. No shipping or handling costs 1-800-599-8898 Monday – Friday, 9:00 AM – 5:00 PM EST Please contact our service hotline by phone, email, or fax when needing assistance with assembly or with faulty parts. This allows us to provide support in the event of possible operator errors.
In order to make a claim under the warranty, please send us: A copy of your sales receipt, your completed warranty card with contact information provided, and an explanation as to how we can help and what concerns you have with any parts.
The warranty does not cover damage caused by:
- Accident or unanticipated events to frame [metal parts] (e.g. wind, snow, lighting, fire).
- Deterioration, fading, sagging, or unanticipated events to canopies and netting panels (e.g. wind, sun, rain, pets/animals).
- Improper use or transport.
- Failure to follow safety and maintenance instructions.
- Other improper treatment or modification.
After the expiration of the warranty period, you may have your product repaired at your own expense. You will be notified of the repair costs in advance.This warranty gives you specific legal rights, which may vary from state to state, that are not intended to exceed statutory minimum requirements beyond what is included above. This warranty does not limit the statutory obligation of the seller arising from any implied warranties. The period of warranty can only be extended in accordance with applicable law.






















