
H-2953 UMBRELLA BAG STAND
0521 IH-2953
1-800-295-5510
uline.com

ASSEMBLY INSTRUCTIONS

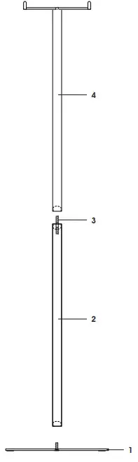
- Place base (1) with threaded stud facing up.
- Thread end of the lower tube (2) with threaded insert onto the threaded stud in base.
- Thread upper tube (4) onto threaded stud (3) in the lower tube with hanger assembly facing up.
NOTE: You can hang the umbrella bags onto the turned-up pegs on the hanger assembly side by side or singularly at the ends.















