logitech C920 Pro HD Webcam

KNOW YOUR PRODUCT


WHAT’S IN THE BOX
- Webcam with 5 ft (1.5 m) attached USB-A cable
- User documentation

SETTING UP THE WEBCAM
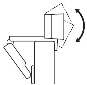
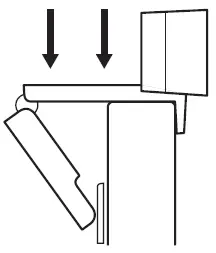
For placement on a monitor
- Place your webcam on a computer, laptop or monitor at a position or angle you desire.

- Adjust the webcam to make sure the foot on the universal mounting clip is flush with the back of your device.

- Manually adjust the webcam up/down to the best position to frame yourself.

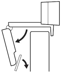
For placement on a tripod
- Locate the ¼ inch tripod thread on the bottom of the universal mounting clip.

- Secure the webcam on your tripod by twisting it into the ¼ inch thread.

- Place your webcam with the tripod anywhere you desire to the best position to frame yourself.

CONNECTING THE WEBCAM VIA USB-A
Plug the USB-A connector into the USB-A port on your computer.

SUCCESSFUL CONNECTION
LED activity light will light up when the webcam is in use by an application.

DIMENSIONS
INCLUDING FIXED MOUNTING CLIP:
Height x Width x Depth: 1.70 in (43.3 mm) x 3.70 in (94 mm) x 2.80 in (71 mm)
Cable Length: 5 ft (1.5 m)
Weight: 5.71 oz (162 g)
© 2020 Logitech. Logitech, Logi, and the Logitech Logo are trademarks or registered trademarks of Logitech Europe S.A. and/or its affiliates in the U.S. and other countries. Logitech assumes no responsibility for any errors that may appear in this manual. Information contained herein is subject to change without notice.
























