
C920s PRO HD WEBCAM
Complete Setup Guide

KNOW YOUR PRODUCT


WHAT’S IN THE BOX
- Webcam with 5 ft (1 5 m) attached USB-A cable
- Privacy shutter
- User documentation

ATTACH THE PRIVACY SHUTTER
| 1. Attach external privacy shutter by locating the lens on the webcam | ![]() |
| 2. Snap it onto the front of the webcam, directly over the center | ![]() |
| 3. Manually adjust the privacy shutter to open or close as desired | ![]() |
SETTING UP THE WEBCAM
For placement on a monitor
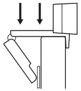
| 1. Place your webcam on a computer, laptop or monitor at a position or angle you desire | ![]() |
| 2. Adjust the webcam to make sure the foot on the universal mounting clip is flush with the back of your device | ![]() |
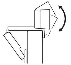
| 3. Manually adjust the webcam up/down to the best position to frame yourself | ![]() |
For placement on a tripod*
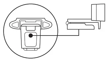
| 1. Locate the ¼ inch tripod thread on the bottom of the universal mounting clip | ![]() |
| 2. Secure the webcam on your tripod by twisting it into the ¼ inch thread | ![]() |
| 3. Place your webcam with the tripod anywhere you desire to the best position to frame yourself | ![]() |
* Tripod not included
CONNECTING THE WEBCAM VIA USB-A
Plug the USB-A connector into the USB-A port on your computer
www.logitech.com/support/C920s
WEB-621-001902.002





























