
C922 PRO HD STREAM WEBCAM
Complete Setup Guide

KNOW YOUR PRODUCT

WHAT’S IN THE BOX
- Webcam with 5 ft (1 5 m) attached USB-A cable
- User documentation

SETTING UP THE WEBCAM
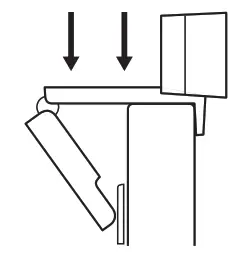
For placement on a monitor
- Place your webcam on a computer, laptop or monitor at a position or angle you desire.

- Adjust the webcam to make sure the foot on the universal mounting clip is flush with the back of your device.

- Manually adjust the webcam up/down to the best position to frame yourself.

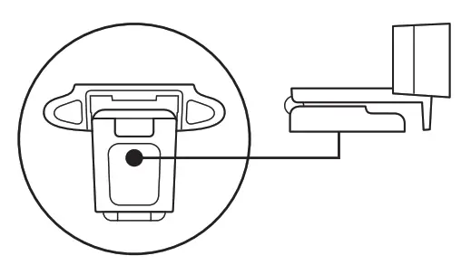
For placement on a tripod*
- Locate the ¼ inch tripod thread on the bottom of the universal mounting clip.

- Secure the webcam on your tripod by twisting it into the ¼ inch thread.

- Place your webcam with the tripod anywhere you desire to the best position to frame yourself.

CONNECTING THE WEBCAM VIA USB-A
Plug the USB-A connector into the USB-A port on your computer.

SUCCESSFUL CONNECTION
LED activity light will light up when the webcam is in use by an application.

DIMENSIONS
INCLUDING FIXED MOUNTING CLIP:
Height x Width x Depth:
1 73 in (44 mm) x 3 74 in (95 mm) x 2 80 in (71 mm)
Cable Length: 5 ft (1 5 m)
Weight: 5 71 oz (162 g)
www.logitech.com/support/C922
© 2020 Logitech, Logi and the Logitech Logo are trademarks or registered trademarks of Logitech Europe S A and/or its affiliates in the U S and other countries Logitech assumes no responsibility for any errors that may appear in this manual Information contained herein is subject to change without notice.

























