logitech C925e Business Webcam

KNOW YOUR PRODUCT


* Tripod not included
WHAT’S IN THE BOX
- Webcam with 6 ft (1 83 m) attached USB-A cable
- User documentation

CONTROLLING THE BUILT-IN PRIVACY SHUTTER
- C925e is designed with an integrated privacy shutter The slider to open/close the shutter is located on top of the webcam, directly above the camera lens.

- To open the privacy shutter, move the slider to the left.

- To close the privacy shutter and cover the lens, move the slider to the right The lens will appear white when the privacy shutter is closed.

SETTING UP THE WEBCAM
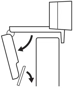
For placement on a monitor
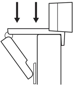
- Place your webcam on a computer, laptop or monitor at a position or angle you desire.

- Adjust the webcam to make sure the foot on the universal mounting clip is flush with the back of your device.

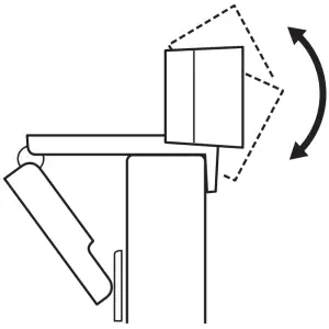
- Manually adjust the webcam up/down to the best position to frame yourself.

For placement on a tripod*
- Locate the ¼ inch tripod thread on the bottom of the universal mounting clip.

- Secure the webcam on your tripod by twisting it into the ¼ inch thread.

- Place your webcam with the tripod anywhere you desire to the best position to frame yourself.

* Tripod not included
CONNECTING THE WEBCAM VIA USB-A
Plug the USB-A connector into the USB-A port on your computer.
SUCCESSFUL CONNECTION
LED activity light will light up when the webcam is in use by an application.
DIMENSIONS
INCLUDING FIXED MOUNTING CLIP:
Height x Width x Depth: 2 9 in (73 mm) x 5 0 in (126 mm) x 1 8 in (45 mm)
Cable Length: 6 ft (1 83 m)
Weight: 6 0 oz (170 g)
www.logitech.com/support/C925e






























