logitech C930s Full HD Webcam
KNOW YOUR PRODUCT


WHAT’S IN THE BOX
- Webcam with 5 ft (1.5 m) attached USB-A cable
- Privacy shutter
- User documentation

ATTACH THE PRIVACY SHUTTER
- Attach external privacy shutter by locating the lens on the webcam.

- Snap it onto the front of the webcam, directly over the center.

- Manually adjust the privacy shutter to open or close as desired.

SETTING UP THE WEBCAM
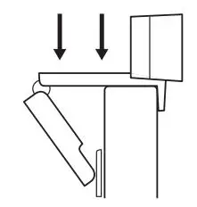
For placement on a monitor
- Place your webcam on a computer, laptop or monitor at a position or angle you desire.

- Adjust the webcam to make sure the foot on the universal mounting clip is flush with the back of your device.

- Manually adjust the webcam up/down to the best position to frame yourself.

For placement on a tripodc
- Locate the ¼ inch tripod thread on the bottom of the universal mounting clip.

- Secure the webcam on your tripod by twisting it into the ¼ inch thread.

- Place your webcam with the tripod anywhere you desire to the best position to frame yourself.

CONNECTING THE WEBCAM VIA USB-A
Plug the USB-A connector into the USB-A port on your computer. 
SUCCESSFUL CONNECTION
LED activity light will light up when the webcam is in use by an application. 
DIMENSIONS
INCLUDING FIXED MOUNTING CLIP:
- Height x Width x Depth:1.70 in (43.3 mm) x 3.70 in (94 mm) x 2.80 in (71 mm)
- Cable Length: 5 ft (1.5 m)
- Weight: 5.71 oz (162 g)
www.logitech.com/support/C930s





























