C310 HD WEBCAM
Complete Setup Guide

KNOW YOUR PRODUCT

WHAT’S IN THE BOX

- Webcam with 5 ft (1 5 m) attached USB-A cable
- User documentation
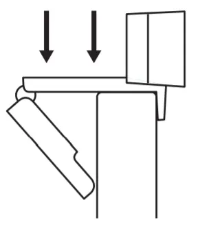
SETTING UP THE WEBCAM
- Place your webcam on a computer, laptop or monitor at a position or angle, you desire

- Adjust the webcam to make sure the end on the universal mounting clip is flush with the back of your device

- Manually adjust the webcam up/down to the best position to frame yourself

CONNECTING THE WEBCAM VIA USB-A
Plug the USB-A connector into the USB-A port on your computer

SUCCESSFUL CONNECTION
LED activity light will light up when the webcam is in use by an application

DIMENSIONS
INCLUDING FIXED MOUNTING CLIP:
Height x Width x Depth:
2 80 in (71 15 mm) x 1 23 in (31 3 mm) x 1 02 in (25 95 mm)
Cable Length: 5 ft (1 5 m)
Weight: 2 51 oz (71 2 g), including clip and cable
www.logitech.com/support/C310
© 2020 Logitech Logitech, Logi, 罗技 and the Logitech Logo are trademarks or registered trademarks of Logitech Europe S A and/or its affiliates in the U S and other countries Logitech assumes no responsibility for any errors that may appear in this manual Information contained herein is subject to change without notice






















