Setup Guide

Logitech C310 HD WEBCAM
Complete Setup Guide
KNOW YOUR PRODUCT

WHAT’S IN THE BOX
- Webcam with 5 ft (1.5 m) attached USB-A cable
- User documentation

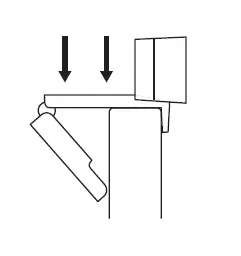
SETTING UP THE WEBCAM
- Place your webcam on a computer, laptop or monitor at a position or angle you desire.
2. Adjust the webcam to make sure the end on the universal mounting clip is flush with the back of your device.

3. Manually adjust the webcam up/down to the best position to frame yourself.

CONNECTING THE WEBCAM VIA USB-A
Plug the USB-A connector into the USB-A port on your computer.

SUCCESSFUL CONNECTION
LED activity light will light up when the webcam is in use by an application.

DIMENSIONS
INCLUDING FIXED MOUNTING CLIP:
Height x Width x Depth:
2.80 in (71.15 mm) x 1.23 in (31.3 mm) x 1.02 in (25.95 mm)
Cable Length: 5 ft (1.5 m)
Weight: 2.51 oz (71.2 g), including clip and cable
www.logitech.com/support/C310
Read More About This Manual & Download PDF:
Logitech C310 HD Webcam User Manual – Optimized PDF
Logitech C310 HD Webcam User Manual – Original PDF




















