
User Manual
VRH-Montreal-30/36SS

Important Safety Notice
READ ALL INSTRUCTIONS BEFORE INSTALLING AND OPERATING THIS APPLIANCE
- The installation in this manual is intended for qualified installers, service technicians, or persons with a similar qualified background. Installation and electrical wiring must be done by qualified professionals and in accordance with all applicable codes and standards, including fire-rated construction.
- DO NOT attempt to install this appliance yourself. The injury could result from installing the unit due to a lack of appropriate electrical and technical background.
- The range hood may have very sharp edges; please wear protective gloves if it is necessary to remove any parts for installing, cleaning, or servicing.
- Activating any switch ON before completing installation may cause ignition or an explosion.
- Due to the size and weight of this range hood, two people installation is recommended.
TO REDUCE THE RISK OF FIRE, ELECTRIC SHOCK, OR INJURY TO PERSONS:
- For general ventilating use only. DO NOT use to exhaust hazardous or explosive materials and vapors.
- The combustion airflow needed for the safe operation of fuel-burning equipment may be affected by this unit’s operation. Follow the heating equipment manufacturer’s guidelines and safety standards such as those published by the National Fire Protection Association (NFPA), the American Society of Heating, Refrigeration and Air Conditioning Engineers (ASHRAE), and the local code authorities.
- Before servicing or cleaning the unit, switch power OFF at the service panel and lock the service panel to prevent power from being switched ON accidentally.
- Clean grease-laden surfaces frequently. To reduce the risk of fire and to disperse air properly, make sure to vent air outside. DO NOT vent exhaust into spaces between walls, crawl spaces, ceilings, attics, or garages.
- Ducted fans MUST always be vented to the outdoors.
- Use only metal ductwork and this unit MUST be grounded. Sufficient air is needed for proper combustion and exhausting of gases through the duct to prevent back drafting.
- When cutting or drilling into a wall or ceiling, be careful not to damage electrical wiring or other hid- den utilities.
- All electrical wiring must be properly installed, insulated, and grounded.
- Old ductwork should be cleaned or replaced if necessary to avoid the possibility of a grease fire.
- Check all joints on ductwork to ensure proper connection and all joints should be properly taped.
- Use this unit only in the manner intended by the manufacturer. If you have questions, contact the vendor.
TO REDUCE THE RISK OF A STOVETOP GREASE FIRE:
- Keep all fan, baffle, spaces, filter, grease tunnel, oil container, and grease-laden surfaces clean. Grease should not be allowed to accumulate on the fan, baffle, spaces, filter, grease tunnel, and oil container.
- Always turn the range hood ON when cooking at high heat or when cooking flaming foods.
- Use high settings on the cooking range only when necessary.
- Never leave surface units unattended at high settings. Boilovers cause smoking and greasy spillovers that may ignite. Heat oils slowly on low or medium settings.
- Clean ventilating fan frequently.
- Always use appropriate cookware and utensils size.
- Always use cookware appropriate for the size of the surface element.
TO REDUCE THE RISK OF INJURY TO PERSONS IN THE EVENT OF A STOVETOP GREASE FIRE:
- SMOTHER FLAMES with a close-fitting lid, cookie sheet, or metal tray, then turn OFF the burner. BE CAREFUL TO PREVENT BURNS. NEVER PICK UP A FLAMING PAN—you may be burned. KEEP FLAMMABLE OR COMBUSTIBLE MATERIAL AWAY FROM FLAMES. If the flames DO NOT go out immediately, EVACUATE AND CALL THE FIRE DEPARTMENT or dial your local emergency service immediately.
- DO NOT USE WATER, including wet dishcloths or towels — a violent steam explosion will result.
- Use an extinguisher ONLY if:
- You know you have a Class A, B, and C extinguisher, and you already know how to operate it.
- The fire is small and contained in the area where it is started.
- The fire department is being called. You can fight the fire with your back to an exit.
TO REDUCE THE RISK OF INJURY TO PERSONS IN THE EVENT OF A GAS LEAK:
- Extinguish any open flame.
- DO NOT turn on the range hood fan or any type of ventilator.
- DO NOT turn on the lights or any type of appliance.
- Open all doors and windows to disperse the gas. If you still smell gas, call the gas company and fire department, or dial your local emergency service immediately.
- Your safety and the safety of others are very important. We have provided many important safety messages in this manual and on your appliance. Always read and obey all safety messages. All safety messages will tell you what the potential hazard is, tell you how to reduce the chance of injury, and tell you what can happen if the instructions are not
![]() | This is the safety alert symbol. This symbol alerts you to potential hazards that can hurt you and others. All safety messages will follow the safety alert symbol and the word “WARNING”. |
The manufacturer and/or distributor/reseller declines all responsibility in the event of failure to observe the instructions given here for installation, maintenance, and suitable use of the product.
The manufacturer and/or distributor/reseller further declines all responsibility for injury due to negligence and the warranty of the unit automatically expires due to improper maintenance.
The manufacturer and/or distributor/reseller will not be held responsible for any damages to personal property or real estate or any bodily injuries whether caused directly or indirectly by the range hood.
Tools Needed

Parts Supplied

Venting Requirements
The vent system must terminate to the outside (roof or sidewall).
DO NOT terminate the vent system in an attic or other enclosed area. DO NOT use 4″ (10.2 cm) laundry-type wall caps.
Use metal/aluminum vent only. A rigid metal/aluminum vent is recommended.
DO NOT use a plastic vent.
Always keep the duct clean to ensure proper airflow. Calculate the following figures before installation:
- Distance from the floor to the ceiling.
- Distance between the floor to the countertop/stove (US Standard: 36″).
- Distance between the countertop/stove to the range hood (recommend* 26″ to 35″).
- Height of hood and duct cover.
For the most efficient & quiet operation:
It is recommended that the range hood be vented vertically through the roof through 6″ (15.2 cm) or bigger round metal/aluminum vent work.
The size of the vent should be uniform. Use no more than three 90° elbows.
Make sure there is a minimum of 24″ (61 cm) of straight vent between the elbows if more than one elbow is used.
DO NOT install two elbows together.
The length of the vent system and the number of elbows should be kept to a minimum to provide efficient performance.
The vent system must have a damper. If the roof or wall cap has a damper, DO NOT use the damper (if supplied) on top of the range hood.
Use duct tape to seal all joints in the vent system.
Use caulking to seal the exterior wall or roof opening around the cap.
Height & Clearance

Maximum ceiling clearance 110″ at 31. hood mounting height above countertop/stove (may vary with different models).
Chimney extensions are available for higher ceilings.
Important
A minimum of 6″ round (standard for this range hood) must be used to maintain maximum airflow efficiency.
Always use rigid type metal/aluminum ducts if available to maximize airflow when connecting to the provided duct.
Please use Duct Run Calculation below to compute the total available duct run when using elbows, transitions, and caps.
ALWAYS, when possible, reduce the number of transitions and turns. If a long duct run is required, increase duct size from 6″ to 7 or 8″. If a reducer is used, install a long reducer instead of a pancake reducer. Reducing duct size will restrict airflow and decrease airflow, thus reducing duct size as far away from the opening as possible.
If turns or transitions are required: Install as far away from the opening and as far apart, between 2, as possible.
Minimum mount height between range top to hood bottom should be no less than 24″.
The maximum mount height should be no higher than 35°
It is important to install the hood at the proper mounting height. Hoods mounted too low could result in heat damage and fire hazard; while hoods mounted too high will be hard to reach and will lose their performance and efficiency.
If available, also refer to the manufacturer’s height clearance requirements and recommended hood mounting height above range.
Minimum Duct Size:
Round – 6″ minimum
Calculating Vent System Length
To calculate the length of the system you need, deduct the equivalent feet for each vent piece used in the system from the recommended maximum duct run.
| DUCT RUN CALCULATION: | |
| Recommended maximum run | |
| 6″ or 3-1/4 x 10″ duct | 50 ff |
| Vent piece deduction | |
| Every 90 elbows used | 9 ff |
| Every 45 elbows used | 5 if |
| Each 6″ to 3-1/4 x 10″ transition used | 7 if |
| Sidewall cap with damper | 0ff |
| Roof cap | 0ff |
One roof cap, two 90° elbow, and one 45° elbow used: Oft + 9ff + 9ff + 5ff = 23ff used.
DUCT RUN CALCULATION EXAMPLE:
Deduct 23ff from 50ff, 27ff maximum available for straight duct run.
Venting Methods
This range hood is factory set for venting through the roof or wall.
Vent work can terminate either through the roof or wall. To vent through a wall, a 90° elbow is needed.
IMPORTANT:
NEVER exhaust air or terminate ductwork into spaces between walls, crawl spaces, ceilings, attics, or garages. All exhaust must be ducted to the outside.
Use metal/aluminum ductwork only.
Fasten all connections with sheet metal screws and tape all joints with certified Silver Tape or Duct Tape.

Electrical Requirements
IMPORTANT: Observe all governing codes and ordinances.
(Please consult with a qualified electrician for 220-Volt 50 Hz voltage)
IT IS THE CUSTOMER’S RESPONSIBILITY:
To contact a qualified electrical installer.
To assure that the electrical installation is adequate and in conformance with National Electrical Code, ANSI/ NFPA 70 —latest edition*, or CSA Standards C22.1-94, Canadian Electrical Code, Part 1 and C22.2 No. 0-M91- latest edition** and all local codes and ordinances.
If codes permit and a separate ground wire is used, it is recommended that a qualified electrician determine that the ground path is adequate.
A 120-volt, 60 Hz, AC-only, fused electrical supply is required on a separate 15-amp circuit, fused on both sides of the line.
Do not ground to a gas pipe.
Do not have a fuse in the neutral or ground circuit.
RISK OF ELECTRICAL SHOCK. This range hood must be properly grounded. Check with a qualified electrician if you are not sure whether the range hood is properly grounded.
The range hood should be connected directly to the fused disconnect (or circuit breaker) box through a flexible armored or non-metallic sheathed copper cable. A U.L.- or C.S.A.- listed strain relief must be provided at each end of the power supply cable. Do not use an extension cord or adapter plug with this appliance.
The range hood must be connected with copper wire/plug only. Always use the plug provided. If not possible, connect three wires according to their color (black to hot, white to neutral, and green to ground) to house wires and cap with wire connectors:
![]() | WARNING The Hood may have very sharp edges. Please wear protective gloves if it is necessary to remove any parts for installing, cleaning, or servicing. |
![]() | WARNING Hazard of electrical shock! Electrical wiring must be done by a qualified person. |
Wire sizes (copper wire only) and connections must conform with the rating of the appliance as specified on the model/serial rating label. Wire sizes must conform to the requirements of the National Electrical Code ANSI/NFPA 70 — latest edition’, or CSA Standards C22.1-94, Canadian Electrical Code Part 1 and C22. 2 No. 0-M91 – latest edition** and all local codes and ordinances. A U.L. – or C.S.A. – listed conduit connector must be provided at each end of the power supply cable (at the range hood and at the junction box).
Copies of the standards listed may be obtained from:
National Fire Protection Association Bafferymarch Park Road Quincy, Massachusetts 02269
* CSA International 8501 East Pleasant Valley Cleveland, Ohio 44131-5575
Installation
![]() | WARNING: EXCESSIVE WEIGHT Require two or more people to move and install this range hood. Spinal or other bodily injuries could occur if it is not followed. |
NOTE: DO NOT INSTALL THIS POWER PACK RANGE HOOD INSERT BEFORE RUNNING A TEST AND MAKE SURE THE UNIT IS IN GOOD CONDITION. MECHANICAL DAMAGE MIGHT HAVE OCCURRED DURING TRANSPORTATION.
- Remove the decorative panel from the power pack range.
- Cut an opening in the bottom of the cabinet, using the dimensions shown in the table below (ref. to Fig. A).
- Insert the range hood in the cabinet and secure it with the (4) mounting screws from the inner side of the range hood (Fig. B). Note: Wood blocking might need to be built if it’s not available in order to secure the mounting screws.
- Connect the duct and power cord.
- Replace the decorative panel.
| Model | X | Y |
| VRH-MONTREAL-30SS | 28 11T | 10 3/4° |
| VRH-MONTREAL-36SS | 34 1/2″ | 10 3/4″ |

Operations

Turn On
- Press the speed control (Low Speed, Medium Speed, High Speed) switch to select the desired level of power. Once the button is pressed, the previous speed mode will cancel.
- Press the Light Switch to power on the lights.
Turn Off
- Press the Power Switch to turn off the power.
- Press the Light Switch to power off the lights
Wiring Diagram

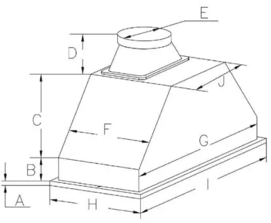
Product Dimension

Model | VRH-MONTREAL-30SS | VRH-MONTREAL-36SS |
| A | 1/2″ | 1/2′ |
| B | 21/2″ | 21/2′ |
| C | 77/8″ | 77/8″ |
| D | 3 3/4″ | 3 3/4″ |
| E | 5 7/8″ | 5 7/8″ |
| F | 103/4″ | 103/4″ |
| G | 281/2′ | 341/2″ |
| H | 113/4′ | 113/4″ |
| I | 291/2′ | 351/2″ |
| J | 113/4′ | 11 3/4″ |
Troubleshooting

If the range hood or halogen light does not work after installation
- Check if the range hood has been plugged in, and make sure that all power has been turned back ON, fused not blown and all electrical wiring is properly connected.
- Swap out light assembly to working ones to determine whether it is caused by defective bulbs. See Replacing the light bulbs on Page 28-29.
The range hood vibrates when the blower is on
- The range hood might not have been secured properly onto the ceiling or wall. Check with your installer
The blower or fan seems weak
- Check that the duct size used is at least 6″ or 3-1/4 x 10″. Range hood WILL NOT function efficiently with insufficient duct size. For example, 8″ duct over 6″ hole and loosely secured.
- Check if the duct is clogged or if the damper unit (half-circular flapper) is not installed correctly or opening properly. A tight mesh on a side wall cap unit might also cause restriction to the airflow.
The lights work but the blower is not spinning at all, is stuck, or is raffling
The blower might be jammed or scraping the bottom due to shipping damage. Please contact us immediately.
The hood is not venting out properly
- Make sure the distance between the stovetop and the bottom of the hood is within26″ and 35″ in distance. * Due to different ceiling height configurations. recommended height may not be applicable.
- Reduce the number of elbows and length of ductwork. Check if all joints are properly connected, sealed, and taped.
- Make sure the power is on high speed for heavy cooking.
Purpose of the slots/holes/openings near the top of the upper chimney:
- These slots/holes/openings are used to exhaust cleaned air with an optional recirculating kit. If you did not install one, you do not need them.
NOTE: For all other inquiries, please contact your local reseller.
Use and Care Information
WARNING — TO REDUCE THE RISK OF FIRE, ELECTRIC SHOCK, OR INJURY TO PERSONS, OBSERVE
THE FOLLOWING: Use this unit only in the manner intended by the manufacturer. If you have questions, contact the manufacturer. Before servicing or cleaning the unit, switch power off at the service panel and lock switch power off at the service panel and lock service panel to prevent power from being switched on accidentally. When the service disconnecting means cannot be locked, securely fasten a prominent warning device such as a tag to the service panel.
CAUTION: For general ventilating use only. Do not use it to exhaust hazardous or explosive materials and vapors.
WARNING — TO REDUCE THE RISK OF A RANGE
TOP GREASE FIRE: Never leave surface units unattended at high settings. Boilovers cause smoking and greasy spillovers that may ignite. Heat oils slowly on low or medium settings.
Always turn the hood ON when cooking at high heat or when cooking flaming foods.
Clean ventilating fans frequently. Grease should not be allowed to accumulate on the fan or filter.
Use proper pan size. Always use cookware appropriate for the size of the surface element.
WARNING —TO REDUCE THE RISK OF INJURY TO PERSONS IN THE EVENT OF A RANGE TOP GREASE FIRE, OBSERVE THE FOLLOWING: SMOTHER
FLAMES with a close-fitting lid, cookie sheet, or metal tray, then turn off the burner. BE CAREFUL TO PREVENT BURNS. If the flames do not go out immediately, EVACUATE AND CALL THE FIRE DEPARTMENT. NEVER
PICK UP A FLAMING PAN— you may be burned.
DO NOT USE WATER, including wet dishcloths or towels — a violent steam explosion will result. Use an extinguisher ONLY if:
You know you have a Class ABC extinguisher, and you already know how to operate it.
The tire is small and contained in the area where it is started.
The fire department is being called. You can fight the fire with your back to an exit.
Specifications
| Body | Stainless Steel / Tempered Glass |
| Power Rating | 120V/60Hz (USA & Canada standard) |
| General Input Power | 120W + # of Light x Voltage of Light |
| Motor Input Power | 120 W |
| Motor Revolution | 600 RPM (±10%) to 1300 RPM (±10%) |
| Levels Of Speed Control | 3 |
| Maximum Airflow | 750 CFM |
| Air Pressure | 150 Pa (200 Pa Maximum) |
| Noise Level (dB / sone) | Approximately 35 / 0.7 to 67 / 6.5 (Lowest to highest Speed) |
| Motor Type | Single Chamber Ultra Quiet |
| Fan Type | Centrifugal / Sirocco |
| Control Type | Mechanical Push Button |
| Filtration Type | Baffle Filter |
| Illumination | LED 3W 12V |
| Venting Size | Top, 6 inches Round |
| Interference Protection | Radio Frequency Interference Protected |
*Subject to change without notice, please contact your local reseller for details.
Maintenance
SAFETY WARNING: Never put your hand into the area housing the fan while the fan is operating!
For optimal operation, clean range hood and all baffle/spacer/ filter/grease tunnel/oil containers regularly. Regular care will help preserve the appearance of the range hood.
Cleaning Exterior surfaces
Clean periodically with hot soapy water and a clean cotton cloth. Do not use corrosive or abrasive detergent (e.g. Comet Power ScruvO, EZ-Off® oven cleaner), or steel wool/scoring pads, which will scratch and damage the stainless steel surface. For heavier soil use liquid degrease such as “Forumla 4090r or “FantasticCr brand cleaner.
If the hood looks splotchy (stainless steel hood), use a stainless steel cleaner to clean the surface of the hood. Avoid getting cleaning solution onto or into the control panel. Follow the directions of the stainless steel cleaner.
CAUTION: Do not leave it on too long as this may cause damage to the hood finish.
Use a soft towel to wipe off the cleaning solution, and gently rub off any stubborn spots. Use a dry soft towel to dry the hood.
After cleaning, you may use nonabrasive stainless steel polish such as 3M® or ZEPO, to polish and buff out the stainless luster and grain. Always scrub lightly, with a clean cotton cloth, and with the grain.
DO NOT allow deposits to accumulate or remain on the hood. DO NOT use ordinary steel wool or steel brushes. Small bits of steel may adhere to the surface and cause rusting.
DO NOT allow salt solutions, disinfectants, bleaches, or cleaning compounds to remain in contact with stainless steel for extended periods. Many of these compounds contain chemicals, which may be harmful. Rinse with water after exposure and wipe dry with a clean cloth.
Cleaning Filters
IMPORTANT: Drain oil from oil containers before oil and residue overflow!
The metal filters fitted by the factory are intended to filter out residue and grease from cooking. It need not be replaced on a regular basis but is required to be kept clean.
Filters should be cleaned after every 30 hours of use.
Remove and clean by hand or dishwasher. Spray “Formula 4090” or equivalent degreasing detergent and leave to soak if heavily soiled. Dry filters and re-install before using the hood.
Replacing Filters
Should aluminum grease filters wear out due to age and prolonged use, please contact your local reseller for replacement filters. (Note: Also replace the damaged filter that has punctured or broken mesh, bent, or broken frame.)
Replacing the light bulb
WARNING
The light bulb becomes extremely hot when turned on. DO NOT touch the bulb until switched off and cooled. Touching hot bulbs could cause serious burns.
This range hood uses an LED bulb:
• USA/Canada: LED 3W 12V
Replacing the Light Bulb Using the Inner Ring Opener
Replacing LED Light Fixture
This range hood uses an LED light fixture: 3W Max 12V LED
Make sure the range hood is unplugged or turned OFF the breaker and the lights are cool to touch.
Place a flat-head screwdriver between the light housing and hood body, gently pry up the light housing and search for the metal clip.
Apply force to the metal clip and pull out the light fixture. Disconnect the power cable and discard the old light fixture.
Reverse the steps to install a new halogen light fixture. Turn ON breaker and range hood to test for operation.

Warranty
TO OBTAIN SERVICE UNDER WARRANTY:
You must present proof of the original purchase date.
Please provide an original dated proof of purchase (sales receipt/invoice) in order to obtain service under warranty.
Lifetime Motor Warranty
The motor, which is covered by a lifetime warranty, should be provided free of charge by your local reseller given it failed due to manufacturing defects. Subject to the conditions and limitations set forth below, your local reseller should, at its option, either repair or replace it with the new or refurbished motor to be functionally equivalent to new. The consumer is responsible for all shipping costs.
One Year Parts Warranty
For one year from the date of original purchase, your local reseller will provide free of charge, non-consumable replacement parts or components that failed due to manufacturing defects. Subject to the conditions and limitations set forth below, your local reseller will, at its option, either repair or replace any part of its products that prove defective by reason of improper workmanship or materials. Repaired parts or replacement products will be provided by your local reseller on an exchange basis and will be either new or refurbished to be functionally equivalent to new. The consumer is responsible for all shipping costs. Consumable parts not covered by this warranty include but are not limited to Light bulbs, metal, aluminum, and charcoal filters.
Who is Covered
This warranty is extended to the original purchaser for products purchased for ordinary home use.
This Warranty Will Be Voided When:
Product damaged through negligence, improper installation, accident, abuse, misuse, natural disaster, insufficient or excessive electrical supply, abnormal mechanical or environmental conditions, or any unauthorized disassembly, repair, modification, or failure to follow installation instructions. When a product is used commercially or other than its intended purpose. Damaged because of improper connection with equipment of other manufacturers. Repaired or modified by anyone other than your local reseller’s authorized agents. This limited warranty also does not apply to any product on which the original identification information has been altered, obliterated, or removed, has not been handled or packaged correctly, or has been sold as second-hand.
What is Not Covered:
Consumable parts such as light bulbs, metal, and charcoal filters.The natural wear of finish, and wear due to improper maintenance, use of corrosive and abrasive cleaning products, pads, and oven cleaner products. Chips, dents, or cracks due to abuse, misuse, freight damage, or improper installation. Damage of product caused by accident, fire, floods, or act of God. The manufacturer and/or distributor/reseller is not liable for and does not cover under warranty, any loss of properties, or any costs associated with removing, servicing, installing, or determining the source of problems with this product.
This warranty is valid in the country of the original purchase at retail. It is non-transferable and applies only to the original purchaser and does not extend to subsequent owners of this product. Any applicable implied warranties, including the warranty of merchantability, are limited in duration to a period of express warranty as provided herein beginning with the date of original purchase at retail and, no warranties, whether express or implied, shall apply to this product thereafter.
To obtain warranty service, you may contact your local reseller from which you purchased this product. Please confirm the terms of your local reseller’s policies prior to contacting. Typically, you must include product identification information, including model number and serial number with a detailed description of the problem you are experiencing. You must also include proof of the date of original retail purchase as evidence that the product is within the applicable warranty period.
Disclaimer
Carefully inspect all items for damages before accepting delivery. Note any damages on the freight bill or express receipt. Request the name and signature of the carrier’s agent and keep a copy to support your claim. Upon acceptance of items, the owner assumes responsibility for their safe arrival. Report damages to the carrier and file a claim immediately. Failure to do so may result in the denial of your claim. The carrier will furnish you with the necessary forms for filing a claim.
Damages caused during transit are not covered under our warranty. Please contact us to file an insurance claim.
Please inspect the contents of the package(s) carefully upon receiving! We must be notified of any damages and/or missing parts within five (5) days upon your receipt of the package(s). Claims will not be accepted after five (5) days.
NOTE: Items were thoroughly tested and carefully packed in our factory before shipping.
Products must be returned in good working condition with ALL original parts and documentation packed in ALL original cartons, fi Idlers, and shipping cartons. A restocking fee of 15% will be charged for all approved return(s). Exchanges or returns may not be accepted if any packaging is missing.
Make sure to inspect the hood for damages and defects before installation. Appearance flaws of the hood found after installation and not affecting hood performance are not covered under our warranty for returns or exchanges. Service visits not covered under warranty will carry a service charge.
Before Installation: Return for exchange or refund (please see above for acceptable returns).After Installation: NO exchange or refund.
Contact Us
If you need any assistance, please contact us at +1 905-7278688 or [email protected]. Please have your order number and model of the range hood ready. This information will help us better respond to your request.
If you need replacement parts, we recommend that you only use genuine parts. Our accessories and parts are engineered and designed specifically for this series of range hoods, each is rigorously tested assuring the utmost in durability and reliability, providing a factory match, factory-installed appearance, and functionality tailored to each individual range hood model.

Simple Kitchen Solutions
www.vosta.kitchon



















