
User Manual
VRH-ARLINGTON-30SS
Warning
- Installation work and electric wiring (including switch location) must be done by the qualified person(s) in accordance with local applicable codes and standards, including fire-rated construction.
- This hood may have sharp edges. Be careful to avoid cuts and abrasions during installation and cleaning.
- The hood must be placed at a minimum distance of 60cm from the cooking panel.
- Sufficient air is needed for proper combustion and exhausting of gases through the chimney of fuel-burning equipment to prevent back drafting. Follow the heating equipment manufacturer’s guidelines and safety standards such as those published by the National Fire Protection Association, the American Society for Heating, Refrigeration and Air Conditioning Engineer (ASHRAE), and the local code authorities.
- Ducted fans must always be vented to the outdoors.
- This appliance is designed to be operated by adults. Children were not allowed to tamper with the controls or play with this appliance.
- WARNING: To reduce the risk of fire or electric shock, do not use this fan with any solid-state speed control device.
- When cutting or drilling into a wall or ceiling, do not damage electrical wiring and other hidden utilities.
WARNING – TO REDUCE THE RISK OF FIRE, USE ONLY THE METAL DUCTWORK
WARNING – TO REDUCE THE RISK OF INJURY TO PERSONS IN THE EVENT OF A RANGE TOP FIRE, OBSERVE THE FOLLOWING
- SMOTHER FLAMES with a close-fitting lid, cookie sheet, or metal tray, then turn o ffthe burner, BE CAREFUL TO PREVENT BURNS.
If the flames do not go out immediately, EVACUATE AND CALL THE FIRE DEPARTMENT. - NEVER PICK UP A FLAMING PAN – You may be burned.
- DO NOT USE WATER, including wet dishcloths or towels – a violent steam explosion will result
- Use an extinguisher ONLY if:
• You know you have a Class ABC extinguisher, and you already know how to operate it;
• The fire is small and contained in the area where it started;
• The fire department is being called;
• You can fight the fire with your back to an exit.
WARNING – TO REDUCE THE RISK OF A RANGE TOP GREASE FIRE:
- Never leave surface units unattended at high settings. Boilovers cause smoking and greasy spillovers that may ignite. Heat oils slowly on low or medium settings.
- Always turn the hood ON when cooking at high heat or when flambéing food.
- Clean ventilating fans frequently. Grease should not be allowed to accumulate on fans or filter.
- Use proper pan size. Always use cookware appropriate for the size of the element.
WARNING – TO REDUCE THE RISK OF FIRE, ELECTRIC SHOCK, OR INJURY TO A PERSON, KEEP IN MIND THE FOLLOWING:
- Use this unit only in the manner intended by the manufacturer. If you have questions, contact the manufacturer.
- Before servicing or cleaning the unit, switch power o ffat service panel and lock the service disconnecting means to prevent power from being switched on accidentally. When service disconnecting means cannot be locked, securely fasten a prominent warning device, such as a tag, to the service panel.
Tools Needed

Parts & Accessories

Product Dimension
| Dimensions | Volts | Hertz | Fan CPA | Speeds | Lin Wattage | Stainl ess Steel |
| 755mm(29.7″) | 120 | YOU | N50 | 3 | MIx.2 | 130 |
| 509mm(201 | ||||||
| 158mm(6.2″) |

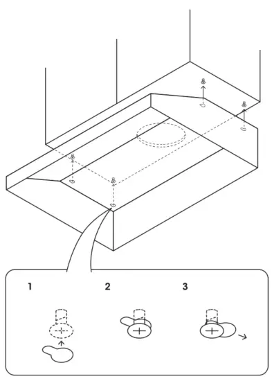
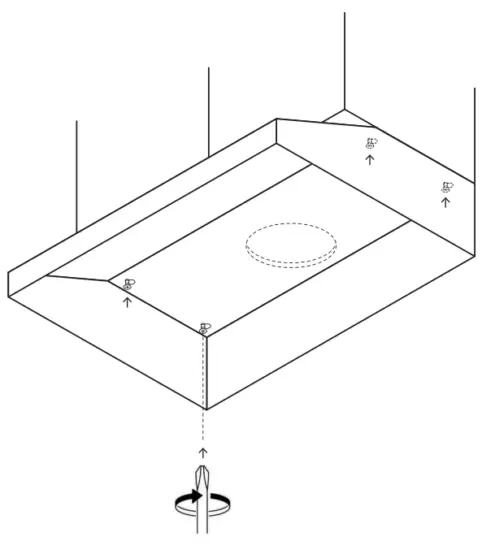
Installation

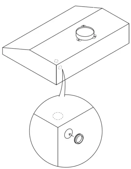
Switching to Top Round Vent Adapter

There are 2 perforated circles at the back and top corner.
Based on the location of your wires, punch through the circle that is the closest to your wire location.

Snap-on the rubber ring

Feed the wires through the hole



Connect round vent to vent adapter.
Seal with aluminum foil tape.

Connect the wires:
- Black to Hotline
- White to Neutral line
- Green to Ground line
- Secure with “Twist-on Caps”




Operations
Introduction Of Control Panel
The hood is operated using 3 speeds soft-touch control on the front panel.
![]()
Setting the speed:
The speed option is easy to set by touching the control panel
If want low speed you can touch
and
is the mid-speed and
is high speed
Setting the light intensity level:
This range hood offers an upgraded illumination mechanism and has two light intensity levels. By touching the light button
, low intensity is set. If you touch the button again, higher light intensity is set. By touching the button the third time, the light will turn off.
Setting the timer delay:
While the range hood is running, touch
to initiate the time delay
Maintenance
Exterior Body:
Clean grease with a cloth. Apply a small amount of stainless steel solution and wipe with a dry cloth.
Filters:
The grease filters should be cleaned frequently (every two months of operation, or more frequently for heavy use). You can either clean the filters by hand with a warm detergent solution and then rinse. Or you can use your dishwasher to do the cleaning.
When you remove the filters, please do not bend them. After cleaning, please dry them before refitting.
Oil Collector:
For the oil collector located inside the product, you can regularly check it to see if there is excess oil. If it does, you can clean the collector with warm detergent, rinse it, and let it dry before refitting.
Warranty
TO OBTAIN SERVICE UNDER WARRANTY:
You must present proof of the original purchase date.
Please provide an original dated proof of purchase (sales receipt/invoice) in order to obtain service under warranty.
Lifetime Motor Warranty
The motor, which is covered by a lifetime warranty, should be provided free of charge by your local reseller given it failed due to manufacturing defects. Subject to the conditions and limitations set forth below, your local reseller should, at its option, either repair or replace it with the new or refurbished motor to be functionally equivalent to new. The consumer is responsible for all shipping costs.
One Year Parts Warranty
For one year from the date of original purchase, your local reseller will provide free of charge, non-consumable replacement parts or components that failed due to manufacturing defects. Subject to the conditions and limitations set forth below, your local reseller will, at its option, either repair or replace any part of its products that prove defective by reason of improper workmanship or materials. Repaired parts or replacement products will be provided by your local reseller on an exchange basis and will be either new or refurbished to be functionally equivalent to new. The consumer is responsible for all shipping costs. Consumable parts not covered by this warranty include but not limited to Light bulbs, metal, aluminum, and charcoal filters.
Who is Covered
This warranty is extended to the original purchaser for products purchased for ordinary home use.
This Warranty Will Be Voided When:
Product damaged through negligence, improper installation, accident, abuse, misuse, natural disaster, insufficient or excessive electrical supply, abnormal mechanical or environmental conditions, or any unauthorized disassembly, repair, modification, or failure to follow installation instructions. When a product is used commercially or other than its intended purpose. Damaged because of improper connection with equipment of other manufacturers. Repaired or modified by anyone other than your local reseller’s authorized agents. This limited warranty also does not apply to any product on which the original identification information has been altered, obliterated, or removed, has not been handled or packaged correctly or has been sold as second-hand.
What is Not Covered:
Consumable parts such as light bulbs, metal, and charcoal filters. The natural wear of finish, and wear due to improper maintenance, use of corrosive and abrasive cleaning products, pads, and oven cleaner products. Chips, dents, or cracks due to abuse, misuse, freight damage, or improper installation. Damage of product caused by accident, fire, floods, or act of God. The manufacturer and/or distributor/reseller is not liable for and does not cover under warranty, any loss of properties, or any costs associated with removing, servicing, installing, or determining the source of problems with this product.
This warranty is valid in the country of the original purchase at retail. It is non-transferable and applies only to the original purchaser and does not extend to subsequent owners of this product. Any applicable implied warranties, including the warranty of merchantability, are limited in duration to a period of express warranty as provided herein beginning with the date of original purchase at retail and, no warranties, whether express or implied, shall apply to this product thereafter.
To obtain warranty service, you may contact your local reseller from which you purchased this product. Please confirm the terms of your local reseller’s policies prior to contacting. Typically, you must include product identification information, including model number and serial number with a detailed description of the problem you are experiencing. You must also include proof of the date of original retail purchase as evidence that the product is within the applicable warranty period.
Disclaimer
Carefully inspect all items for damages before accepting delivery. Note any damages on the freight bill or express receipt. Request the name and signature of the carrier’s agent and keep a copy to support your claim. Upon acceptance of items, the owner assumes responsibility for their safe arrival. Report damages to the carrier and file a claim immediately. Failure to do so may result in the denial of your claim. The carrier will furnish you with the necessary forms for filing a claim.
Damages caused during transit are not covered under our warranty. Please contact us to file an insurance claim.
Please inspect the contents of the package(s) carefully upon receiving! We must be notified of any damages and/or missing parts within five (5) days upon your receipt of the package(s). Claims will not be accepted after five (5) days.
NOTE: Items were thoroughly tested and carefully packed in our factory before shipping.
Products must be returned in good working condition with ALL original parts and documentation packed in ALL original cartons, fillers, and shipping cartons. A restocking fee of 15% will be charged for all approved return(s). Exchanges or returns may not be accepted if any packaging is missing.
Make sure to inspect the hood for damages and defects before installation. Appearance flaws of the hood found after installation and not affecting hood performance is not covered under our warranty for returns or exchanges. Service visits not covered under warranty will carry a service charge.
Before Installation: Return for exchange or refund (please see above for acceptable returns). After Installation: NO exchange or refund.
Contact Us
If you need any assistance, please contact us at 1 905-727-8688 or [email protected]. Please have your order number and model of the range hood ready. This information will help us better respond to your request.
If you need replacement parts, we recommend that you only use genuine parts. Our accessories and parts are engineered and designed specifically for this series of range hoods, each is rigorously tested assuring the utmost in durability and reliability, providing a factory match, factory-installed appearance, and functionality tailored to each individual range hood model.
Simple Kitchen Solutions
www.vesta.kitchen

















