Once upon a time… water™
Installation Instructions – Warranty
Instructions

Serial number: __________
Keep these instructions after you have finished the installation, it contains useful information regarding service and warranty.
KF111 Series Elegant Hardware and Plumbing
Thank you for choosing Kalia!
Thank you for choosing a Kalia product and for placing your trust in our company.
Kalia has a business philosophy based on solid core values that are focused on providing innovation and excellence as well as a personalized service designed to meet the changing needs of today and tomorrow.
We are convinced that you will be fully satisfied with your new Kalia product and that it will exceed your expectations in terms of reliability and durability. At Kalia, we put our expertise to work for you!
This guide contains all the information necessary for the installation and proper use of your Kalia product. To ensure the smooth installation and optimal use of your product, we recommend to take a few moments to study the information provided in this guide.
In the event that you should encounter a problem related to the installation or the performance of this product, please contact us at our toll-free line 1 877 GO KALIA (1-877-465-2542) or by email at: [email protected].
Thank you once again for choosing Kalia.
Important Information
IMPORTANT
- Read this guide before proceeding with the installation.
- Make sure you have all the tools and materials needed for installation.
- Make sure all the parts shown in the Service Parts Diagram section are included and in good condition.
- Respect all local plumbing and building codes
- Do not store cleaning products in an enclosed space such as under a kitchen sink counter or the vanity of a bathroom sink. Emanation from cleaning products can have devastating effects on plumbing fixtures and accessories such as flexible hoses. These products should be stored in a cool and ventilated space.
WARNING
- When connecting the supply lines, make sure they are not bound or twisted. This may cause water restriction or damage.
- In order to prevent water contamination, do not remove any components from this faucet. The faucet contains a backflow protection device.
- Do not use plumber’s glue if the counter surface is made of marble. Petroleum-based products such as plumber’s glue can stain marble.
COMMENT
- The installation will require 3/8” (9.5 mm) male connectors.
- Before taking the faucet out of the packaging, cover the drain of the sink so no parts are lost.
- Make sure all the parts are included and not damaged (see the service parts diagram). If there is a problem, report it immediately to the seller.
- Check to make sure the water supply and drainage lines are not damaged. Replace if necessary.
- Make sure there is sufficient clearance to properly use the handle of the faucet.
- When replacing a faucet, turn off the water. After turning off the water, turn the faucet on to release the water pressure.
- Do not use petroleum-based products with the exception of plumber’s putty.
Kalia reserves the right to make any design changes without notice. Use the installation manual supplied with the product. Kalia is not responsible for problems caused by an installation not executed in accordance with the directions given in this guide.
Thank you!
Service Parts Diagram

Service Parts List
| Assembly | # | Part Number | Description | Qty |
| 101846-XXX • | Spout assembly (KF1115) | 1 | ||
| Ia** | 101493-XXX* | Spout (KFI 115) | 1 | |
| 36 | 101505 | Sprayhead fixer | 1 | |
| 1 01847-XXX • | Spout assembly (KFI 116 & KFI 126) | 1 | ||
| I b** | 101494-XXX* | Spout (KF 1 116 & KFI126) | 1 | |
| 36 | 101505 | Sprayhead fixer | 1 | |
| – | 2 | 101508 | O-ring DI9.93xD2.21 | 2 |
| – | 3 | 101500 | O-ring D20.24xD2.62 | 1 |
| – | 4 | 101502 | Swivel Shaft | 1 |
| – | 5 | 101504 | Spout deck plate | 1 |
| – | 6 | 101492-XXX* | Body | 1 |
| – | 7 | 101507 | Cartridge base | 1 |
| – | 8 | 100005 | Check valve (Cartridge Base) | 1 |
| – | 9 | 100007 | Cartridge | 1 |
| – | 10 | 100009 | Retainer nut | 1 |
| – | 11 | 100010 | O-ring D29.5xD2.2 | 1 |
| – | 12 | 10001I-XXX * | Decorative Cap | 1 |
| – | 13 | 10149740a * | Handle base | 1 |
| – | 14 | 101509 | Screw M3x7 | 2 |
| – | 15 | 101496-XXX * | Handle lever | 1 |
| – | 16 | 100006 | Set Screw M5x4.5 | 1 |
| – | 17 | 100031 | Plug button | 1 |
| – | IR | 101013 | O-ring D46xD2.5 | 1 |
| – | 19 | 101506 | Base | 1 |
| – | 20 | 100019 | Threaded tube | 1 |
| – | 21 | 100030 | Hose guide | 1 |
| – | 22 | 100020 | Rubber washer | 1 |
| – | 23 | 100021 | Metal washer | 1 |
| – | 24 | 100022 | Mounting nut | 1 |
| – | 25 | 100023 | Mounting screw | 2 |
| – | 26 | 100026 | Counter weight | 1 |
| 100033 | Output hose assembly | 1 | ||
| 27 | – | Output hose | 1 | |
| 31 | 100037 | Hose 0-ring | 1 | |
| 100057 | Cold supply hose assembly | 1 | ||
| 28 | – | Cold supply hose | 1 | |
| 30 | 100055 | Hose washer | 1 | |
| 31 | 100037 | Hose O-ring | 1 | |
| 100050 | Hot supply hose assembly | 1 | ||
| 29 | – | Hot supply hose | 1 | |
| 30 | 100055 | Hose washer | 1 | |
| 31 | 100037 | Hose 0-ring | 1 | |
| 100038 | Hand sprayer hose assembly | 1 | ||
| 32 | – | Hand sprayer hose | 1 | |
| 33 | 100047 | Hose 0-ring | 1 | |
| 34 | 100041 | Protector cover | 1 | |
| 35 | 100049 | Hand sprayer hose washer | 1 | |
| 101498-XXX * | Hand sprayer assembly (KFI I I Mt KFI 126) | 1 | ||
| 37a•* | 101517 or 102385 | Check valve (hand sprayer) (KFI 115 & KFI 126) | 1 | |
| 40 | Check valve (hand sprayer) Calgreen (KFI 115 & KFI 126) | 1 | ||
| 38a** | – | Hand sprayer (KF 1115& KFI 126) | 1 | |
| 39a* | 101518 | Aerator (assembly) (KF1115 & KF I 126) | 1 | |
| 101519-XXX * | Hand sprayer assembly (KF I 116) | 1 | ||
| 37b** | 100498 or 103201 | Check valve (hand sprayer) (KFI 116) | 1 | |
| 41 | Check valve (hand sprayer) Calgreen (KFI 116) | 1 | ||
| 38b•* | – | Hand sprayer (KFI 116) | 1 | |
| 39** | 100062 | Aerator (assembly) (KFI 116) | 1 | |
| 42 | 101891 | Aerator key | 1 | |
Necessary Tools and Materials
| Plumber’s glue or appropriate seal | |
| Phillips screwdriver | |
| Adjustable wrench | |
| Gripping pliers |
Step 1
Unscrew and remove the mounting nut, the metal washer and the rubber washer (fig 1.1).
To make it easier, remove the hand sprayer hose from these pieces first.
Insert the four hoses and the threaded tube in the hole (fig 1.2).

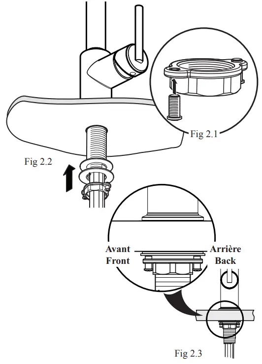
Step 2
Partially tighten the mounting screws on the mounting nut (fig. 2.1).
Slide the rubber washer and metal washer in the faucet threaded tube (fig. 2.2).
Tighten the mounting nut until you feel a slight pressure.
Then lightly unscrew the mounting nut so that the screws are to the front and back, then tighten the mounting screws evenly (fig. 2.3).

Step 3
Connect and firmly tighten the supply hoses of the faucet using an adjustable wrench. The blue supply hose must be connected to the cold male connection and the red one to the hot male connection. (fig. 3.1)
Comment : if the faucet installation requires that you coil the supply hoses, maintain a loop of 3” (7.6 cm) diameter.

Step 4
Turn on the water.
Pivoting the handle of the faucet, purge the hot and cold water for 30 seconds (fig 4.1).

Step 5
Connect the hand sprayer hose to the output hose (fig 5.1).
Install the weight on the hand sprayer hose at approximately 4” (10.2 cm) from the bottom of the loop (fig 5.2).

Step 6
Check the play and length of the hand sprayer hose you want for proper usage (fig 6.1). To do so, a quarter turn is required to pull down the hand sprayer (fig 6.2).
Reposition the weight will increase or decrease the length of the hand sprayer hose.

Step 7
If the hand sprayer does not fit in correctly with the spout or if the hand sprayer hose is jammed (fig 7.1), reposition the weight (see step 5).

Step 8
Turn on the water and look for leaks at the connections (fig. 8.1). If applicable, refer to the troubleshooting guide.
Your installation is now complete !

IMPORTANT
Turn on the water and look for leaks at the connections.
Maintenance and Cleaning
To avoid damage and optimize your product, you must follow the below recommendations when maintaining your Kalia product. Damages resulting from inappropriate handling are not covered by the Kalia warranty.
- Rinse with clean water and dry with a soft cotton cloth or sponge. Do not use anything abrasive such as a scouring brush or sponge to clean the surfaces.
- For tough stains, use a gentle liquid detergent such as dish soap and hot water. Do not use an abrasive and acidic cleaner.
- Carefully read the label on the cleaning product to make sure it is safe and appropriate. Always try the cleaning solution on a less visible surface before applying it to the rest.
- Completely rinse with water immediately after applying the cleaner.
- Regular cleaning prevents the accumulation of dirt and tough stains.
Troubleshooting Guide
Before any operation, turn off the water and turn the faucet on to release the pressure if required.
Water flow is low or non-existent.
Aerator leaks or the jet coming from it are not uniform.
Solutions:
- Make sure the water valve is fully opened.
- Make sure no hoses are pinched or twisted.
- Unscrew the aerator and check the rubber ring.
- Clean and rinse the aerator (fig 9.1).

Water leaks under the handle on counter.
Solutions:
- Tighten the retainer plate (3 screws) using a Phillips screwdriver (fig 10.1).
- Clean the cartridge seal or replace the cartridge if damaged (fig 10.2).

Water leaks at the ball joint (hand sprayer hose).
Solutions:
- Unscrew and remove the hand sprayer.
- Tighten the ball joint of the hand sprayer hose using an Allen key 1/4” (fig 11.1).

Water does not stop running completely.
Solution:
- Remove the handle and cartridge and clean or replace cartridge if damaged (fig 12.1).

Jets on the hand sprayer do not all work or spray in the wrong direction.
Solution:
- Scrub the nozzles firmly from front to back using your finger under running water in order to dislodge any debris and mineral deposits in the hand sprayer’s nozzles (fig 13.1).

Notes
____________________________________
Warranty
LIMITED WARRANTY
Kalia Inc. offers the following express limited warranty on its products. This warranty extend only to the original owner/end-user for personal household use and are effective as of the date of purchase. The warranty is not transferable to subsequent owners. Additional limitations may apply for commercial use.
LIFETIME LIMITED WARRANTY ON KALIA FAUCETS
Kalia Inc. guarantees all aspects of its faucets to be free of defects in material and workmanship for normal residential use for as long as the original consumer-purchaser owns his or her home. If a defect is found during normal residential use, Kalia Inc. may, at its sole discretion, elect to repair or provide a replacement part or product.
Damage to a product caused by accident, misuse, or abuse is not covered under this warranty. Improper care and cleaning shall have the effect of rendering this warranty void. Kalia Inc. is not responsible for labor, installation or other incidental or consequential expenses. Under no circumstances shall the liability of Kalia Inc. exceed the purchase price paid for a faucet by the owner/enduser, contractor or builder.
COMMERCIAL LIMITATIONS
In addition to the previously mentioned conditions and limitations, the warranty period for products installed for commercial applications, or used in commercial ventures, shall cover a period of one (1) year from the initial date of purchase by the owner/end-user, contractor or builder from an authorized dealer. If the product is sold by Kalia Inc. as a display item, a one (1) year warranty applies.
WARRANTY SERVICE
If you wish to make a claim under this warranty, you may contact Kalia through your Dealer or directly at 1-877-GO-KALIA (1-877-465-2542) or again by writing to: [email protected] or to : Kalia Inc., Attn: Customer Service Dept., 1355 2nd Street, Sainte-Marie QC G6E 1G9 Canada. Be sure to provide all pertinent information related to your claim, including a complete description of the problem you are experiencing, the product name, product model number, color, finish, and finally the date and the location where the product was purchased. Also include the product’s serial number or original receipt. For more information or to obtain the name and address of the service and repair centre nearest you, call 1-877-GO-KALIA.
EXCEPT AS SET FORTH HEREIN, KALIA INC. PROVIDES NO OTHER WARRANTIES, EITHER EXPRESS OR IMPLIED, INCLUDING IMPLIED WARRANTIES OF FITNESS AND MERCHANTABILITY FOR A PARTICULAR PURPOSE OR COMPLIANCE WITH ANY CODE.
This is the exclusive written warranty of Kalia Inc.
Once upon a time… water™
1355, 2° Rue, Parc industriel
Sainte-Marie (Quebec) Canada G6E 109
T 418 387-9090 1 877 GO KALIA (1 877 465-2542)
F 418 387-9089
KaliaStyle.com![]()
Printed in China 101490_RevF



















