
Once upon a time… water®
Tub Spout with Diverter
Installation Instructions – Warranty
Serial number

Keep these instructions after you have finished the installation, it contains useful information regarding service and warranty.
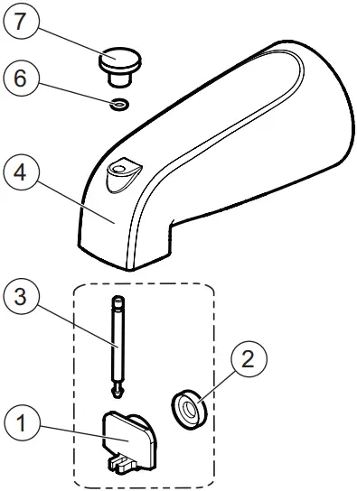
Parts Diagram
UMANI 101529
BELLINO / CITÉ 101527
Parts List
| # | Part Number | Description | Total qty | |
| UMANI 101529 | BELLINO & CITÉ 101527 | |||
| 1 | 101885 | Diverter | 1 | 1 |
| 2 | Gasket | 1 | 1 | |
| 3 | Diverter stem | 1 | 1 | |
| 4 | – | Tub spout | 1 | |
| 5 | – | Tub spout | 1 | |
| 6 | 101855 | O-Ring | 1 | 1 |
| 7 | 101856-XXX * | Diverter Button | 1 | |
| 8 | 101857-XXX * | Diverter Button | 1 | |
| 9 | – | Flange | 1 | |
* XXX means that the finish color must be
Necessary Tools and Materials
Thread sealant tape
Strap wrench
Tub Spout Installation
Apply thread sealant tape on the nipple pipe already installed at 4’’ or 4 1/4’’ of the finished wall depending of the tub spout model (fig. 1.1).

BELLINO/CITÉ 101527 :
Insert the flange on the tub spout and make sure to place the drip hole of the flange down. Screw the assembly onto the nipple pipe.
UMANI 101529 :
Screw the tub spout onto the nipple pipe.
Finalyze with a strap wrench to avoid damage on the finish (fig. 1.2).

Your installation is now complete!

- MAIN WATER VALVE
- Open
IMPORTANT
Turn on the water and look for leaks at the connections.
Maintenance and Cleaning
To avoid damage and optimize your product, you must follow the below recommendations when maintaining your Kalia product. Damages resulting from inappropriate handling are not covered by the Kalia warranty.
– Rinse with clean water and dry with a soft cotton cloth or sponge. Do not use anything abrasive such as a scouring brush or sponge to clean the surfaces.
– For tough stains, use a gentle liquid detergent such as dish soap and hot water. Do not use an abrasive and acidic cleaner.
– Carefully read the label on the cleaning product to make sure it is safe and appropriate. Always try the cleaning solution on a less visible surface before applying it to the rest.
– Completely rinse with water immediately after applying the cleaner.
– Regular cleaning prevents the accumulation of dirt and tough stains.
Warranty
LIFETIME LIMITED WARRANTY ON KALIA SHOWER SYSTEMS EXCEPT 1 YEAR LIMITED WARRANTY FOR THE FOLLOWING COMPONENTS :
- Body jets
- Rainhead
- Showerhead
- Handshower
- Flexible hose
- Wallbar
- Tub spout with diverter
Kalia Inc. guarantees all aspects of its bathroom faucets to be free of defects in material and workmanship for normal residential use for as long as the original consumer/purchaser owns his or her home.
For complete warranty information,
visit www.KaliaStyle.com.

Kalia inc.
1355, 2e Rue
Sainte-Marie (Québec)
Canada G6E 1G9
t. 1-418-387-9090
1 877 GO KALIA (1-877-465-2542)
f. 1-418-387-9089
www.KaliaStyle.com
Printed in Canada
101602_RevA















