MEGA LITE Deco Pendant VW20 Light LED User Manual
Check that the unit has not been damaged during transport
Read all cautions and warnings prior to operation of this equipment
Protection Against Fire
- Maintain a minimum of 1 foot distance from any type of flame.
- Do Not install the unit to close too a heat source.
- Make sure cables are properly secured away from movement.
- Maximum surface operating temperature is 125°F
- Unit must not be left on for long periods of time.
Protection Against Electrical Fire
- Disconnect power before servicing.
- For connection to main power supply proceed to page 5.
- This fixture must not be left on for long periods of time.
- This fixture is intended for indoor use, do not install this unit outdoors.
Protection Against Mechanical Hazards
- Use safety measures when hanging unit.
- Use quality bolts when positioning unit
- Do not open, risk of electrical shock.
What is Included
- 1pc Deco Pendant VW20
- 1pc User Manual
Specifications
Part Numbers
Fixture
5052– Deco Pendant VW20
Mechanical Specifications
Fastening System: Universal Ceiling Mount Brace
Power Connection: RJ45 in and out Y Connection
Housing Material: Aluminum
Cable Length: 8 Feet
Beam Angle: 120 degree
Size: 6’ x 12” (fixture)
Weight: 3.5lb
Electrical Specifications
LED Type: SMD 5050 Variable White
Color Temp WW: 2605K Warm White 6475K Cool White
LED Qty: 98
Each LED Watts: 20
Power Input: 24V
Total Max Power: 20W
Drive Method: Constant Voltage
Main Power Connection
Important information!
- Deco Lighting fixtures are specifically designed to be used with a Deco Drivers.
- Maximum Cable distance of 100ft before voltage drop. (voltage drop will cause intensity drop)
- Max Power 20W output driver 1 unit per output
- Max Power 96W output driver 5 units per output
- All fixtures connected together must be same type (do not connect Multiple Color or Single Color fixtures in the same output)
- Must use Cat 6, 24 AWG or thicker to connect the fixture and fixture to fixture. (not included)

- Warm White
- V+
- Warm White
- V+
- Cool White
- V+
- Cool White
- V+

RJ45 Y jumper cable can be connected on ether side for input or output .

DMX-512 Control
When using the Deco PVW20 with Deco Drivers the fixture is intended to be used in Ch2 modes. The Deco Driver will be required to be set in Ch2 operating modes.
Ch2 Mode |
Warm White |
Cool White |
Deco Driver Info
| Power Link | 20W Output Driver | Can connect 1 unit per output port |
| 96W Output Driver | Can connect 5 unit per output port | |
| Ch Mode | Ch 2 | Use Ch2 Mode to control the unit |
Instillation
Caution!
- The installation must be carried out by an authorized dealer or trained professional.
- Unit may cause severe injures if you have doubts concerning the safety do not install.
- Unit is to be 24inches away from flammable materials (decoration material)
When installing the fixture it is very important that you follow common safety procedures. Instillation requires extensive experience including but not limited to calculating working loads, material being used and periodic safety inspections. If you lack these qualifications, do not attempt the installation yourself, instead use a professional structural rigger.
The installation location of the Fixture has got to be built in the way that it can hold 10 times the weight for 1 hour. Installation should be checked at least one time every 2 years by a skilled person.
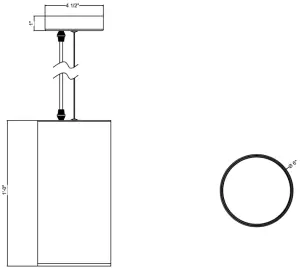
Installation


Step 1: Remove the suspension brace (Fig1) by removing the side screws (Fig3) on the canopy.
Step 2: Secure the suspension brace to the electrical box with screw (Fig2)
Step 3: Make necessary power connections using the RJ45 in and out connections
Step 4: Secure the canopy to the suspension brace using (Fig3) screws Height Adjustment
Step 5: Deco PQ20 uses a 2 part cable strain relief. Too loosen start by holding bottom part of the strain relief and unscrewing the top part this will allow the excess power cable to be stored inside the fixture.
Step 6: To adjust the height of the pendent press on the center part of the steel cable holder and push the cable inwards. This will release the steel support cable allowing you to adjust the desired height there is a maximum of 6 feet cable length to be adjusted.
Size & Weight

| Fixture Size | 12″ (304.8mm) X 6” X (152.4mm”) |
| Fixture Packaged | 6.75″ X 6.75″ X 15.5″ |
| Net Weight | 3.5lb |
| Gross Weight | 3.9lb |
Cleaning and Maintenance
Installation Maintenance: The operator has to make sure that the unit is operating safely and has the installation and electronics checked by an expert every 2 years.
The following points have to be considered during the inspection:
- All screws used for installing the device or part of the device have to be tightly connected and must not be corroded.
- There must not be any deformations on the housing, fixation and installation spots.
- The electronic power supply cables must not show any damages, material fatigue (e.g. porous cables) or sediments. Further instructions depending on the installation spot and usage have to be adhered by a skilled installer and any safety problems have to be removed.
- Fixture must only be cleaned using soap and water
Warranty
WARRANTY FOR PRODUCTS PURCHASED AFTER JANUARY 1, 2021
MEGA SYSTEMS INC (“MSI”) hereby warrants to the original purchaser/owner (“Customer”), MSI products to be free of manufacturing defects in material and workmanship, for the warranty periods as defined below from the original purchase invoice date. This warranty applies exclusively to new MSI branded and/or distributed products listed below, purchased from an MSI AUTHORIZED dealer/ reseller. This warranty is not transferable and may or may not apply to products sold and/or forwarded outside the United States. Please contact MSI for applicable regional product warranty information. The purchase of MSI product constitutes the Customer’s acceptance of all warranty terms and conditions as listed in this limited warranty statement. This warranty provides the Customer with legal rights which may vary from state to state. Please contact MSI regarding warranty questions prior to purchasing.
Product / Series
BATTERY POWERED LED
MOVING LED, HAZERS
OUTDOOR IP RATED LED
HOUSE LIGHT LED, DECORATIVE LED, COMPACT LED, iCANDY LED, THEATRICAL LED, STROBE WASH LED, Three Years 4 FOLLOW SPOT LED, PRODUCTION & HOUSE OF WORSHIP CONTROL, ARCHITECTURAL CONTROL,THEATRICAL CONTROL, DANCE VENUE & MOBILE DJ CONTROL, DIRECT VIEW LED DISPLAYS, AND MV CONTROLERS
Warranty Period / Coverage
Six month battery one year all other components: 1, 2
One Year: 2
Two Years: 3
Three Years: 4
1. Battery, 183 days six months 2. Parts and Labor, 365 days one year 3. Parts and Labor, 730 days two year 4. Parts and Labor, 1095 days three year
This limited warranty excludes any defects caused by, resulting from or relating to the following:
Normal wear and tear of lamps, color media, brushes, contact rings, lamp sockets, belts and other parts prone to wear and tear.
Misuse, abuse, improper handling, accident, alteration or attempts to repair by or on behalf of the owner or any person not authorized by MSI.
Damage to the product resulting from acts of God, including, but not limited to, earthquakes, hurricanes, tornados, lightning and other natural disasters, fire, explosion, flood, riots, civil disorder or any other cause beyond the reasonable control of MSI.
Exposure to harsh or excessively corrosive environmental conditions (whether indoors or outdoors), including, but not limited to, extreme temperatures, humidity, atmospheric conditions (including salinity or pressure), radiation (UV, infrared or nuclear), shock and conditions which exceed the product’s Ingress Protection (“IP)” rating.
Use of the product in a manner which exceeds the applicable product specification, including, but not limited to, exposure to excessive, insufficient or other voltage conditions.
Installation or use of the product not in accordance with the technical documentation, MSI guidelines (as may be posted on its website at www.megasystemsinc.com from time to time or otherwise designated by MSI or its brands) or applicable building and electrical codes, regulations and standards.
Failure to maintain the product in accordance with the technical documentation.
Natural degradation and color shift of the LED source over the course of normal product use.
Slight deviations in the specified values of intensity and color that do not affect the functionality of the product.
Use of the product not for its intended purpose.
All warranty claims are evaluated under the terms of this limited warranty. If a product falls within the warranty period and if, upon examination by MSI it is found to have failed for a covered cause, MSI will, at its sole discretion, repair or replace the defective part or product or reimburse the purchaser
a pro-rated portion of the purchase price based on the percentage of the warranty period still remaining as of the date that the returned product was received by MSI. Should a replacement part or product be discontinued or unavailable, MSI reserves the right, in its sole and absolute discretion, to substitute a comparable replacement part or product for the defective part or product. MSI warranty obligation hereunder is limited solely to the repair or replacement of or reimbursement for the particular parts or products determined by MSI to have failed for a covered cause within the warranty period. In no event shall MSI be responsible to replace or reimburse purchaser for any products or portions of a system that MSI determines has not failed for a covered cause within the warranty period, even if such other products or portions of a system are used together with products being repaired or replaced by MSI under this warranty and the repaired product differs in brightness, colors or any other attribute after the repair.
Costs of removal, shipping to MSI or its authorized representative and reinstallation are solely the responsibility of the purchaser. If MSI determines that the product is covered by this limited warranty, it will only pay for parts and labor as indicated by product type. If MSI determines that the product is not covered by this limited warranty, the purchaser will have the option of paying for the repair (if the product can be repaired) and the purchaser shall be responsible for the cost of shipping the repaired product back to the purchaser. MSI reserves the right, in its sole and absolute discretion, to decline any repair.
IN NO EVENT SHALL MEGA SYSTEMS, INC. BE LIABLE FOR ANY INCIDENTAL, CONSEQUENTIAL, SPECIAL, INDIRECT OR PUNITIVE LOSS OR DAMAGE OF ANY KIND, INCLUDING, BUT NOT LIMITED TO, LOSS OF PROFITS OR REVENUES, LOSS OF USE OF THE PRODUCT OR ANY OTHER GOODS OR ASSOCIATED EQUIPMENT, DAMAGE TO ANY ASSOCIATED EQUIPMENT, COST OF CAPITAL, COST OF SUBSTITUTE PRODUCTS, FACILITIES OR SERVICES, DOWN TIME COST, INSTALLATION OR LABOR COSTS, OR CLAIMS OF THE PURCHASER’S CUSTOMERS, WHETHER BASED ON WARRANTY, CONTRACT OR NEGLIGENCE, ARISING IN CONNECTION WITH THE SALE, USE OR REPAIR OF THE PRODUCT. MEGA SYSTEMS INC’S MAXIMUM LIABILITY SHALL NOT, IN ANY CASE, EXCEED THE PURCHASE PRICE OF THE PRODUCT THAT GIVES RISE TO THE CLAIM.
EXCEPT FOR THE LIMITED WARRANTY SET FORTH HEREIN, ALL PRODUCTS SOLD BY MEGA SYSTEMS, INC. ARE SOLD “AS IS” WITHOUT ANY WARRANTY, EXPRESS OR IMPLIED, STATUTORY OR OTHERWISE, INCLUDING, BUT NOT LIMITED TO, IMPLIED WARRANTIES OF MERCHANTABILITY AND FITNESS FOR A PARTICULAR PURPOSE, ALL OF WHICH ARE EXPRESSLY AND SPECIFICALLY DISCLAIMED BY MEGA SYSTEMS, INC.
Customer Support
MEGA-Lite has a customer support line to provide set up help and to answer any question should you encounter a problem. Please visit our website for any other related technical documents. For service related issues, please contact our service dept.
Monday—Friday 9am to 6pm CST
Voice: 210-684-2600
E-mail: [email protected]
Manual Version
Please visit www.mega.lighting for the most up to date manual version.
| Document Version | Date | Fixture Software | Notes |
| 1.1 | 1/03/2021 | N/A |
MEGA-Lite
18668 Highway 16N
Helotes, Texas 78023
Ph 210-684-2600 Fax 210-855-6279
www.mega.lighting / [email protected]

















